Книга Танки Кайзера, страница 4 – Семён Федосеев

Авторы: А Б В Г Д Е Ж З И Й К Л М Н О П Р С Т У Ф Х Ч Ш Ы Э Ю Я
Книги: А Б В Г Д Е Ж З И Й К Л М Н О П Р С Т У Ф Х Ц Ч Ш Щ Ы Э Ю Я
Бесплатная онлайн библиотека LoveRead.ec

Онлайн книга «Танки Кайзера»

📃 Cтраница 4

Топливопроводы располагались так, чтобы карбюраторы и питающие патрубки находились на внешних сторонах и не нагревались от соседнего двигателя. Выхлопные трубы ставились на внутренней стороне и по днищу корпуса выводились через глушители наружу с обоих бортов. Система питания рассчитывалась таким образом, чтобы её работа не зависела от наклона машины. Два бака ёмкостью 250 л каждый помещались в передней части корпуса под днищем и защищались 10-мм бронелистами. Для большей пожарной безопасности их перекрывали стальными листами и изолировали от боевого отделения. Подача бензина производилась давлением отработанных газов, причём каждый бак мог питать оба двигателя. Для пуска двигателей имелись два вспомогательных бака с бензином лучшей очистки, служившие также в качестве резервного запаса. Зажигание смеси осуществлялось от магнето с пусковым магнитом. Число оборотов регулировалось предохранительным механизмом, ограничивавшим его максимальное значение, и дроссельным клапаном со специальным ручным рычагом. Пуск двигателей мог производиться несколькими способами: электростартёром, заводной П-образной рукояткой для трёх человек, распылителем «Бош» и накачиванием смеси насосом. Для подогрева служила ацетиленовая горелка. Запустив один из двигателей и придав танку первоначальное движение, можно было запустить второй через сцепление. Каждый двигатель снабжался счётчиком оборотов.

Тщательно была разработана система смазки. Стекающее в картер масло откачивалось насосом в отдельный бак, откуда оно другим насосом вновь подавалось через фильтры к местам трения. Это предотвращало заливание цилиндров маслом и забрызгивание свечей зажигания даже при продольном наклоне машины в 45°.

Для охлаждения вдоль передней и задней стенок капота вертикально устанавливались два трубчатых радиатора. Они крепились эластичными хомутами и располагались в особых карманах на войлочной прокладке, снижавшей действие вибрации. Радиаторы обдувались четырьмя вентиляторами — каждая их пара приводилась во вращение от коленчатого вала ремённой передачей (со стороны маховика) с регулируемым натяжением. Воздух забирался изнутри корпуса и выбрасывался наружу через решётки ниже двигателей.

Привод гусеницы каждого борта представлял собой автономный агрегат, помещённый в едином картере. Он включал сцепление, трёхскоростную коробку передач, конические передачи переднего и заднего хода, однорядный бортовой редуктор. Сцепление (главный фрикцион) помещалось на конце удлинённого носка коленчатого вала двигателя. Коробка передач — тракторного типа, с ведущим и передаточным валом и скользящими шестернями. Значения скорости — 3, 6 и 12 км/ч. Переключение скоростей производилось перемещением скользящих шестерён на ведущем валу, включение переднего или заднего хода — перемещением втулки конической передачи, притормаживание гусеницы — колодочным тормозом на конце передаточного вала (доводку трансмиссии осуществила фирма «Адлер»). Органы управления были связаны с соответствующими механизмами гибкими тросами.

Поворот машины производился выключением и притормаживанием одной гусеницы. Наименьший радиус поворота составлял при этом 2,2 м и равнялся примерно ширине колеи машины. Включив задний ход одной из гусениц, можно было развернуть машину на месте. При повороте с большим радиусом механик-водитель поворотом вправо или влево рулевого колеса («волана») изменял соотношение числа оборотов двигателей. Таким образом, механик-водитель управлял машиной в одиночку и мог в широких пределах варьировать повороты и движение машины. Органами управления ему служили рулевое колесо, две педали сцепления, рычаг переключения передач, два рычага тормозов, два рычага заднего хода и рычаг насоса. Машина получила обозначение A7V — по аббревиатуре заказчика. Заметим, что буква «V» в этой аббревиатуре иногда расшифровывалась в литературе как «конструкция Фольмера» («bauart Vollmer»). Шасси получили номера от «500» и далее, под которыми и числились впоследствии танки.

16 января 1917 года в Берлин-Мариенфельде был продемонстрирован макет шасси и деревянный макет бронекорпуса. 20 января Военное министерство подготовило заказ на постройку 100 шасси. При этом предполагалось, что забронировано будет только 10 из них.

Первый прототип танка — рабочее шасси с макетом бронекорпуса — продемонстрировали в Берлин-Мариенфельде 30 апреля, а 14 мая он был показан на ходу в Ставке Главного командования в Майнце, при этом для большего правдоподобия машину загрузили балластом массой 10 т. Прототип A7V испытывался параллельно с полугусеничным «Мариенваген II». Кроме того, своё предложение «боевой артиллерийской машины» K.D.1 представила и фирма «Крупп». Но Главным командованием по результатам испытаний был выбран A7V. Впрочем, шасси «Мариенваген II» тоже не осталось без дела — на нём позже изготавливались самоходные зенитные и противотанковые (!) орудия, а фирма «Эрхард» строила тяжёлые бронеавтомобили.

Первые 5 готовых A7V планировалось получить к 15 июля 1917 года, следующие 5 танков и 40 небронированных шасси — к 1 августа, наконец, последние 49 шасси — к 1 сентября. К концу лета ожидалось получить также 50 шасси «Орионваген», однако их проходимость и способность преодолевать проволочные препятствия вызывали сомнения, и этот проект не получил дальнейшего развития. A7V оказался в конце концов единственным. Ускорению работ по A7V способствовало участие французских танков в бою на р. Эн у Шмен-де-Дам 16 апреля 1917 года. Заметим, кстати, что шасси французских машин «Шнейдер» и «Сен-Шамон» также были выполнены по типу трактора «Холт».

Иллюстрация к книге — Танки Кайзера [i_006.jpg]

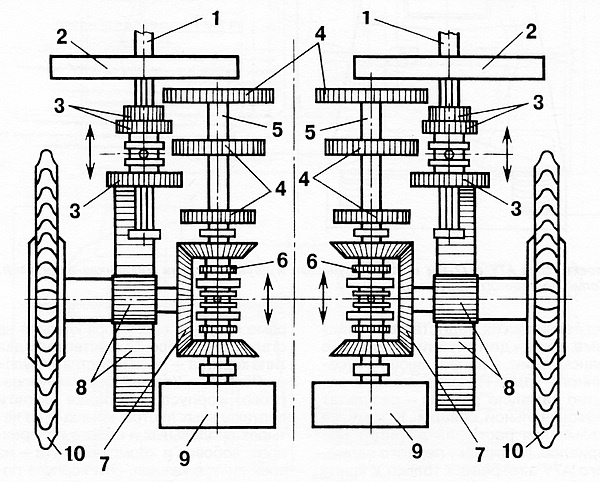
Схема трансмиссии танка A7V:

1 — носок коленчатого вала двигателя, 2 — главный фрикцион, 3 — скользящие шестерни ведущего вала, 4 — шестерни передаточного вала, 5 — ведущий вал, 6 — подвижная втулка конической передачи, 7 — коническая шестерня бортового вала, 8 — бортовой редуктор, 9 — тормоз, 10 — ведущее колесо.

Иллюстрация к книге — Танки Кайзера [i_007.jpg]

Проект танка A7V с 77-мм и 20-мм пушками и двумя местами механиков-водителей. (Копия подлинного чертежа).


Испытания A7V, проводившиеся весной и летом 1917 года, выявили ряд технических недостатков в системе охлаждения двигателей, в трансмиссии, в направляющих гусеничного хода. Их исправление заметно затянуло работы — результат первоначальной спешки. К тому же сказывался растущий дефицит материалов. Постройку первого серийного A7V завершили только к концу октября 1917 года. Ещё до окончания постройки, 19 июня танк продемонстрировали в Мариенфельде кайзеру Вильгельму II.

Броневой корпус устанавливался на раме сверху и собирался клёпкой на стальном каркасе. Существовало два типа корпуса — производства «Крупп» и «Рёхлинг». Каждый борт «крупповского» корпуса собирался из пяти вертикальных листов, крыша — из четырёх продольных и одного поперечного, лобовая и кормовая части — из трёх листов каждая. Эти корпуса получили танки № 540, 541, 542, 543 и 544. Корпуса фирмы «Рёхлинг» отличали цельные, из единого листа борта. Их имели танки № 502, 505, 506, 507. Толщина и качество брони позволяли противостоять бронебойным винтовочным пулям (типа французской 7-мм APX) на дальностях от 5 м и больше, а также осколочно-фугасным снарядам лёгкой артиллерии. Бронестойкость корпуса несколько повышалась наклонной установкой листов и «корабельной» формой лобовой и кормовой части. Уязвимыми местами были стыки бронелистов из-за их плохой пригонки — прежде всего на углах. По утверждениям союзников, сквозь стыки проникали осколки пуль и свинцовые брызги. В крыше корпуса спереди и сзади имелись большие вентиляционные решётки, служившие частично и для освещения боевого отделения танка. Верхняя рубка собиралась из пяти съёмных листов и складывалась при перевозке и на марше. При сложенной верхней рубке A7V мог перевозиться на стандартной платформе по германским, французским и бельгийским железным дорогам без помех со стороны железнодорожных сооружений (для погрузки танка на железнодорожную платформу экипажу обычно приходилось строить специальную рампу). Смотровые лючки по периметру рубки прикрывались складывающимися вверх крышками, позволявшими регулировать высоту открытой щели. В крыше рубки имелся лючок с откидной решётчатой крышкой. В первоначальном проекте предусматривался специальный «нос» в виде двух треугольных рам из балок таврового сечения. Рамы крепились в передней части и служили для повышения проходимости и проделывания проходов в заграждениях. «Нос» даже был выполнен на деревянном макете, но уже в первом демонстрационном образце от него отказались.

Реклама
Вход
Поиск по сайту
Ищем:
Календарь