Книга Повседневная жизнь русского гусара в царствование императора Александра I, страница 29 – Алла Бегунова

Авторы: А Б В Г Д Е Ж З И Й К Л М Н О П Р С Т У Ф Х Ч Ш Ы Э Ю Я
Книги: А Б В Г Д Е Ж З И Й К Л М Н О П Р С Т У Ф Х Ц Ч Ш Щ Ы Э Ю Я
Бесплатная онлайн библиотека LoveRead.ec

Онлайн книга «Повседневная жизнь русского гусара в царствование императора Александра I»

📃 Cтраница 29

Конечно, к солдатскому мундиру из армейского сукна по 84 копейки за аршин было нелегко привыкнуть. Скроенный точно по фигуре, имевший подкладку из жесткого и плотного холста, он напоминал скафандр, сковывавший все тело. Но, имея некоторую сноровку, сшить такой мундир было совсем нетрудно, так как его выкройка довольна примитивна и нужно всего пять швов, чтобы собрать куртку с воротником и рукавами. Образцы, сохранившиеся в музеях (Государственном историческом музее в Москве, Военно-историческом музее артиллерии, инженерных войск и войск связи, музее А. В. Суворова в Санкт-Петербурге), позволяют раскрыть маленькие тайны военных портных и подробно описать изготовление гусарского обмундирования в царствование Александра I.

Доломан и ментик

Изготовить доломан было труднее всего, и потому пошив форменной одежды для гусара начинали с него. Доломан должен был «сидеть» на человеке, как перчатка. Потом к нему подгоняли чакчиры и ментик, который по покрою являлся копией доломана, только немного увеличенной. Потому на доломан казна отпускала 1 аршин 9 вершков сукна по 84 копейки, а на ментик такого же сукна — 1 аршин и 10 вершков .

Иллюстрация к книге — Повседневная жизнь русского гусара в царствование императора Александра I [i_036.jpg]

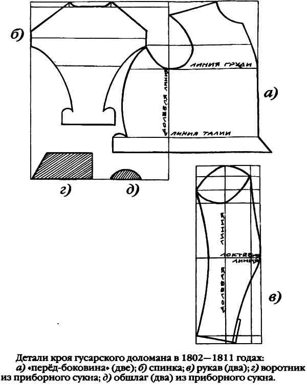
Крой доломана и ментика состоял из следующих частей (см. рис.):

а) две одинаковые детали «перёд-боковина»;

б) спинка;

в) два рукава, каждый из двух равных по ширине деталей;

г) воротник;

д) два обшлага.

Никаких вытачек на доломане не делали, и тем не менее он должен был без малейших складок или провисания ткани облегать плечи, грудь и спину гусара. Чтобы добиться этого, сукно, как уже говорилось выше, растягивали по фигуре, применяя увлажнение и утюжку. Кроме того, особую роль играли два спинных шва. Только правильно определив их соотношение и кривизну, можно было «посадить» мундир на человека. На полковых швальнях начала XIX века это делали просто: солдат надевал вчерне сметанную куртку на себя, а его товарищи, скалывая детали булавками, прибавляли или убирали ткань.

Впоследствии для построения выкройки гусарского доломана стали применять сложные вычисления объемов (требовалось снять 12 мерок с верхней части фигуры) и методы пропорциональной кройки. Так шили эти мундиры уже в начале XX века, когда в русской армии (в 1907 году) вновь были введены гусарские полки. Тогда в воинские части поступила книга «Полный академический курс кройки мужского платья Первого Вспомогательного Общества Санкт-Петербургских закройщиков» (СПб., 1906–1908), где в разделе «Доломан для офицеров гусарских армейских полков» (часть III, с. 24–25, рис. 9) этот процесс был описан со всеми возможными подробностями и дана сама выкройка (см. схему на с. 148).

Доломан же эпохи Александра I имел несколько особенностей.

Во-первых, его длина определялась по росту человека. Гусар приставлял ладонь к пупку снизу, и эта линия и являлась нижней границей кроя. Во-вторых, на спине куртка имела два выступа, похожих на крылышки. Их высота достигала 2 вершков (около 9 см), а ширина — 5–6 см, смотря по толщине фигуры. «Крылышки» служили для поддержания кушака. В-третьих, проймы рукавов делали довольно высоко, и сами рукава как бы заходили на плечи. Из-за этого подмышками набегали одна-две небольшие складки, но зато когда гусар поднимал руки вверх, полы доломана (в отличие от современных курток) не сдвигались, он оставался на своем месте.

Иллюстрация к книге — Повседневная жизнь русского гусара в царствование императора Александра I [i_037.jpg]

Рукава доломана, согласно моде того времени, делали узкими и длинными. Слегка расширяясь книзу, они закрывали почти половину ладони. Сбоку шел разрез длиной около 12 см и потому рукав, расстегнув на нем крючки, можно было легко закатать наверх. Рукава нижних чинов имели красные кожаные накладки на локтях, которые способствовали лучшей сохранности одежды.

Воротники на мундирах с 1802 по 1812 год делали очень высокими (сзади — до 11 см, спереди — до 9 см) и незастегивающимися. Такой воротник из сукна и холста, проклеенных рыбьим клеем, был негнущимся и жестким, держа голову гусара словно в ящике. В начале 1812 года в русской армии перешли на другие воротники: более низкие, застегивающиеся спереди на три крючка и плотно облегающие шею. Чтобы правильно вшить этот воротник, требовалось немалое портновское искусство.

Когда доломан был подогнан по фигуре, его начинали отделывать шнуром и пуговицами.

Гусарский шнур на музейных образцах этого времени имеется двух видов: плоский, сплетенный «косичкой» (доломан и ментик Павлоградского полка в Государственном историческом музее) и круглый, скрученный (доломан Сумского полка в Музее Суворова). Двумя рядами шнура с узорами («гусарский узел» из трех колечек) у рядовых обшивали воротник, всю куртку по периметру, обшлага и края рукавов. Тремя рядами шнура с узорами обкладывали спинные швы и «крылышки». Расшивка на груди у армейских гусар состояла из 15 рядов двойного шнура (иногда рядов было и меньше; это зависело от роста человека). На полную расшивку доломана уходило 30 аршин шерстяного шнура по 1 копейке за аршин и 23 аршина гарусного шнура по той же цене для ментика.

Гусарские пуговицы являлись одним из главных украшений мундира и были весьма своеобразными. Сферические пустотелые пуговицы-шарики у армейских гусар «дутые», то есть спаянные из двух штампованных половинок (диаметр пуговицы около 20 мм), шли на центральный ряд и служили для застегивания ментика и доломана. Пуговицы полусферические (одна штампованная половина с припаянной «ножкой» — петелькой, диаметр около 15 мм ) шли на боковые ряды. Сферических пуговиц на один комплект «доломан-ментик» требовалось 30 штук, полусферических — 60 штук

Изготовление пуговиц стоило дорого. Цена сферической пуговицы достигала 8 копеек, полусферической — 4 копеек, гусарам надо было их беречь, так как один комплект пуговиц им выдавался на… 20 лет. Это означало, что, получая каждые два года доломан и ментик, нижние чины спарывали со старых мундиров пуговицы и переставляли их на новые вещи. В случае потери пуговиц гусары должны были покупать их на свои деньги, казна эти траты не компенсировала.

Расшитый шнурами и пуговицами доломан и ментик ставили на подкладку. Ментик имел подкладку из некрашенной каразеи (2 аршина по 24 копейки каждый). В его рукава вшивали холст (2 аршина по 6 копеек каждый), на грудь и спину — клеенку (1 аршин по 7 копеек). Для меховой отделки ментика использовали овчинные смушки (75 копеек за весь кусок). У доломана подкладка была более простой, холстинной (4 аршина по 6 копеек каждый). На шитье одного предмета униформы, нитки и воск для ниток казна отпускала солдату 12 копеек.

Иллюстрация к книге — Повседневная жизнь русского гусара в царствование императора Александра I [i_038.jpg]

Для различия чинов и ментик, и доломан украшали особыми деталями. Трубачи имели «раковины» на плечах, отделанные так называемым басоном (шерстяной тесьмой белого или желтого цвета шириной 13–14 мм). С 1809 года этот же басон выкладывали у них по всем швам мундира, на что уходило 15 аршин такой тесьмы ценой по 8 копеек за аршин. Унтер-офицерам полагалось нашивать на мундир золотой или серебряный галун шириной в полвершка (22 мм) и ценой 90 копеек за аршин. Требовалось 2 аршина (142 см) галуна на обшлага и воротник доломана (до 1809 года галун нашивали по нижнему краю воротника, после — по верхнему краю). На ментике галун помещали над меховой обшивкой рукавов.

Вход
Поиск по сайту
Ищем:
Календарь