Книга He 177 Greif. Летающая крепость люфтваффе, страница 15 – Сергей В. Иванов

Авторы: А Б В Г Д Е Ж З И Й К Л М Н О П Р С Т У Ф Х Ч Ш Ы Э Ю Я
Книги: А Б В Г Д Е Ж З И Й К Л М Н О П Р С Т У Ф Х Ц Ч Ш Щ Ы Э Ю Я
Бесплатная онлайн библиотека LoveRead.ec

Онлайн книга «He 177 Greif. Летающая крепость люфтваффе»

📃 Cтраница 15

Все цепи оснащались автоматическими предохранителями, большинство из которых было собрано в консоли у правого борта кабины.

Иллюстрация к книге — He 177 Greif. Летающая крепость люфтваффе [pic_100.jpg]

Кресло второго пилота-бомбардира.

Иллюстрация к книге — He 177 Greif. Летающая крепость люфтваффе [pic_101.jpg]

Кресло механика-бортстрелка со встроенным унитазом.

Иллюстрация к книге — He 177 Greif. Летающая крепость люфтваффе [pic_102.jpg]

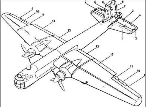
Система рулей на Не 177А-5. 1. Горизонтальный стабилизатор. 2. Руль высоты. 3. Клапан Флеттнера. 4. Триммер. 5. Киль. 6. Руль направления. 7. Клапан Флеттнера. 8. Триммер. 9. Элерон. 10. Триммер. 11. Клапан Флеттнера. 12. Внутренний закрылок Фаулера. 13. Внешний закрылок Фаулера.

Иллюстрация к книге — He 177 Greif. Летающая крепость люфтваффе [pic_103.jpg]

Лобовой фонарь кабины Не 177А-3.

Радиооборудование

Основную часть радиооборудования составляла длинноволновая радиостанция FuG 10Р, спаренная с радиопеленгатором Peil G6, бортовой телефонной сети EiV la и УКВ-радиостанции FuG 16, устройства посадки вслепую Fu Bl 2, а также прибора идентификации «свой- чужой» FuG 25а. Радиостанция FuG 10Р работала в диапазонах 300600 кГц и 3000–6000 кГц, а FuG 16 в диапазоне 38,5-42,3 МГц.

Самолеты, приспособленные для пуска управляемых ракетных снарядов Hs 293, оборудовались системой дистанционного управления FuG 203d (Не 177A-3/R6) или FuG 203e (He 177A-5). Это устройство управления также позволяло работать с управляемыми снарядами Hs 294 «Fritz X» FX 1400 и «Peter X». В качестве антенн использовались диполи и проволочные антенны, растянутые между фюзеляжем и хвостовым оперением.

Некоторые машины оснащались морским поисковым радаром FuG 200 «Hohentweil». Антенны радара крепились к лобовому обтекателю кабины, а сам радар работал в диапазоне 550 МГц.

Большая часть радиооборудования находилось у задней стены кабины или в хвостовой части фюзеляжа. Органы управления радиостанции, радаров и устройства FuG 203 были вынесены в носовую часть кабины и в стрелковую гондолу под кабиной.

Антенны представляли собой провода, растянутые между мачтой на фюзеляже и горизонтальными стабилизаторами. Кроме того, радиостанция FuG 10Р могла работать с антенной переменной длины (до 70 м). выпускаемой с помощью электромотора. Имелась система аварийного сброса антенны. Радиопеленгатор использовал небольшую кольцеобразную антенну, установленную под фюзеляжем в районе двух диполей устройства Fu Bl 2. Устройство FuG 25а оснащалось небольшой штыревой антенной, установленной в нижней части фюзеляжа.

Кроме того, самолеты Не 177А-3 оснащались радиоальтиметрами FuG 101A с небольшими приемопередающими антеннами, расположенными под левым крылом.

Кислородное оборудование

На самолетах первых производственных серий устанавливали батарею из 40 двухлитровых кислородных баллонов, оснащенных редукторами. Батарея стояла в фюзеляже в районе 27-го шпангоута. В ходе серийного выпуска цилиндрические баллоны заменили шаровидными того же объема, объединенными в группы по три. Заправка кислородной системы проводилась через вентиль, расположенный на правом борту фюзеляжа в районе 6-го шпангоута. Давление в полностью заправленных баллонах составляло 165 атм. Через сеть трубок кислород подавался на шесть кислородных приборов для каждого члена экипажа. Приборы были оборудованы манометрами и детекторами кислорода. В кабине имелись два аварийных гнезда для подключения кислородных приборов. Приборы автоматически подавали кислородно-воздушную смесь при полетах на высоте более 4000 м, а на высотах более 7000 м подавали чистый кислород.

Самолеты поздних серий оснащались модифицированной кислородной системой со сферическими баллонами и измененной системой редукторов и клапанов. Заправочный клапан находился на днище фюзеляжа в районе шпангоута № 32. На самолетах Не 177А-5 кислородная система подверглась дальнейшей модификации. Изменились вентили и трубопроводы.

Иллюстрация к книге — He 177 Greif. Летающая крепость люфтваффе [pic_104.jpg]

Передняя часть фюзеляжа Не 177A-1 из I./FKG 50 на автоплатформе.

Иллюстрация к книге — He 177 Greif. Летающая крепость люфтваффе [pic_105.jpg]

Хвостовая башенка со спаренной 20-мм пушкой MG 151/20 на самолете Не 177A-3.

Иллюстрация к книге — He 177 Greif. Летающая крепость люфтваффе [pic_106.jpg]

Трофейный Не 177А-5 (TS439) во время испытаний в RAE, Великобритания, 1945 год.

Бронирование

Бронирование самолета состояло из 9-мм бронеспинки кресла пилота и 6-мм подлокотников. Подфюзеляжная гондола была по бокам бронирована 7-мм бронелистами и 6-мм бронелистом спереди. Верхняя огневая точка защищалась 9-мм бронелистами. Кабина стрелка на верхней стороне фюзеляжа сзади защищалась броней толщиной 7 мм. Также 7-мм броней был обшит контейнер, вмещавший спасательную лодку. Задняя огневая точка защищалась снизу и с боков 9-мм броней, а в районе маски пушки толщина брони достигала 19 мм. Защиту экипажа дополняли бронестекла задней и нижней огневой точки.

Вооружение

Оборонительное вооружение самолета Не 177А-3 находилось в нескольких огневых точках. Две огневые точки находились в передней части кабины и назывались А- Stand oben и A-Stand unten. Дистанционно управляемая огневая точка на верхней стороне фюзеляжа обозначалась как B1-Stand, а обслуживаемая стрелком вторая турель называлась B2-Stand. Нижняя огневая точка обозначалась как C-Stand, а хвостовая — как H-Stand.

Вооружение самолета Не 177A-3/R1 состояло из одиночного пулемета MG 81I калибра 7,92 мм, установленного в лобовом обтекателе кабины самолета. Боекомплект к пулемету составлял 1000 выстрелов. В передней подфюзеляжной гондоле спереди стояла 20-мм пушка MG FF с боекомплектом 300 выстрелов. В задней части гондолы стоял 13-мм пулемет MG 131 с боекомплектом 1000 выстрелов. В дистанционно управляемой турели стоял спаренный 13-мм пулемет MG 13Z с боекомплектом 2000 выстрелов. В турели, обслуживаемой стрелком, стоял одиночный MG 131 с боекомплектом 1000 выстрелов. Такой же пулемет стоял и в хвостовой огневой точке, но с боекомплектом 1500 выстрелов.

Реклама
Вход
Поиск по сайту
Ищем:
Календарь