Онлайн книга «Биоцентризм. Как жизнь создает Вселенную»
|
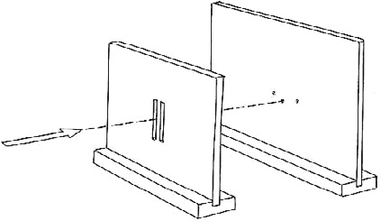
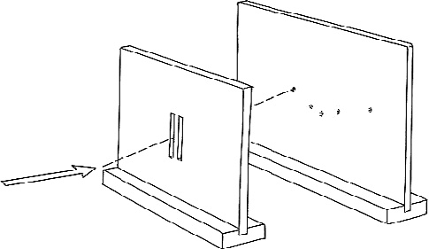
Теоретически те небольшие экстремумы, которые располагаются по бокам от главного, должны быть симметричны. Но на практике мы имеем дело с отдельными квантами света и вероятностями, поэтому обычно результат немного отличается от идеального. В любом случае главный вопрос сохраняется: почему узор именно таков? Оказывается, именно таким он и должен быть, если свет состоит из волн, а не из частиц. Волны сталкиваются, и между ними возникает интерференция, а значит, и рябь. Если вы одновременно бросите в пруд два камешка, то волны от камешков столкнутся друг с другом. В результате где-то на водной глади волны будут меньше, чем ожидалось, а где-то возникнут довольно сильные всплески. Волны могут усиливать друг друга либо разглаживаться, если сталкиваются гребни встречных волн. Итак, уже в начале XX века был зафиксирован такой рисунок. Поскольку он может образоваться только в результате взаимодействия волн, физики убедились, что свет – это волна либо по крайней мере проявляет волновые свойства в ходе такого эксперимента. Самое интересное заключалось в том, что ровно такой же результат получался и при использовании «твердых тел» – например, если луч состоял из электронов. Оказывается, и твердые частицы могут проявлять волновые свойства! Итак, с самого начала эксперимент с двумя щелями стал демонстрировать интереснейшие и неожиданные факты о реальности. К сожалению или к счастью, это была всего лишь затравка. Лишь немногие догадывались, что все самое интересное еще впереди. Новая странность была обнаружена, когда через прибор стали пропускать всего один фотон или электрон в момент времени. Частица успевала пройти достаточно длинный путь, ее регистрировали как частицу, и уже после этого возникал интерференционный рисунок. Как же это могло быть? С чем интерферировал этот единственный фотон или электрон? Как можно получить интерференционный рисунок, если в эксперименте задействована всего одна неделимая частица? ![]() Единственный фотон попадает в детектор. ![]() Второй фотон попадает в детектор. ![]() Третий фотон попадает в детектор. ![]() Каким-то образом эти отдельные фотоны добавляются к общему интерференционному паттерну! До сих пор не найдено полностью удовлетворительное объяснение этого феномена. Физики продолжают предлагать все новые экстравагантные идеи. Могла ли такая интерференция возникать под действием других электронов или фотонов, существующих в «параллельных Вселенных», где другой экспериментатор ставит точно такой опыт? Могли ли «их» электроны интерферировать с нашими? Эти версии кажутся слишком натянутыми, в них почти никто не верит. Как правило, интерференционный рисунок объясняется следующим образом: возможно, когда частица оказывается перед барьером с двумя щелями, у нее появляется «выбор», в каком виде преодолеть этот барьер – как частице или как волне. До тех пор, пока не произойдет акт наблюдения, частицы не существуют как реальные сущности в конкретных местах. Акт наблюдения имеет место при попадании частицы на последний барьер-детектор. Таким образом, в тот момент, когда частица достигает барьера с двумя щелями, она проявляет вероятностную свободу и может пройти через барьер сразу в двух ипостасях. Хотя сами по себе фотоны и электроны являются неделимыми частицами и ни при каких условиях не расщепляются, в виде вероятностных волн они проявляют совсем иные свойства. Таким образом, через наблюдаемую нами щель проходят не физические частицы, а лишь вероятности. Вероятностные волны отдельного фотона интерферируют друг с другом! Когда через щель проникнет достаточно много таких волн, мы видим характерный узор, в котором вероятности сливаются в физические сущности, которые оказывают физическое воздействие и доступны для наблюдения – в форме волн. Да, все это звучит невероятно, но, судя по всему, именно так все происходит в реальности. Здесь описан только первый пример квантовой странности. Как было указано в предыдущей главе, в квантовой теории действует принцип дополнительности. В соответствии с этим принципом объект может наблюдаться либо в одной ипостаси, либо в другой, но не в двух сразу. Соответственно, он может иметь одно из двух положений и один из двух наборов свойств. Конкретное проявление объекта зависит от того, подвергается ли он наблюдению и какое оборудование при этом используется. Теперь предположим, что мы хотим узнать, через какую именно щель фотон проскальзывает на пути к экрану-детектору. Это закономерный вопрос, и ответить на него не так уж сложно. Можно воспользоваться поляризованным светом (так называется свет, волны которого вибрируют только в горизонтальном либо только в вертикальном направлении или медленно вращаются). Когда применяется такая смесь волн, мы получаем такой же результат, как и при первом опыте. Но теперь давайте попытаемся определить, через какую именно щель пролетает конкретный фотон. Для этого использовались разные варианты эксперимента, здесь мы рассмотрим опыт, в котором перед каждой из щелей устанавливается четвертьволновая пластинка (QWP). Каждая такая пластинка изменяет поляризацию света специфическим образом. Детектор позволяет узнать полярность входящего фотона. Итак, зафиксировав его полярность, мы определим, через какую из щелей он прошел. ![]() Теперь повторим этот эксперимент – будем пропускать фотоны через щели по одному. В данном случае мы уже знаем, через какую именно щель прошел фотон. Но результаты эксперимента радикально меняются. Даже несмотря на то, что четвертьволновые пластинки никак не воздействуют на сами фотоны, а просто меняют полярность света (ниже мы докажем, что изменение результатов эксперимента никак не зависит от четвертьволновых пластинок), мы уже не наблюдаем интерференционного рисунка. Кривая на графике неожиданно изменяется и становится в точности такой, как если бы фотоны были частицами, а не волнами. ![]() Что-то произошло. Оказывается, сам акт измерения и определение траектории каждого фотона исключает «вероятностную свободу» частицы, не позволяет ей пребывать в зыбком неопределенном состоянии и идти к барьеру сразу по двум путям. Коллапс волновой функции частицы должен был произойти в измерительном устройстве, то есть на четвертьволновой пластинке, так как фотон вдруг «решил» стать частицей и проскочить либо через одну щель, либо через другую. Фотон перестал проявлять волновые свойства, как только вышел из зыбкого вероятностного не вполне реального состояния. Но почему фотон все-таки «пошел на коллапс» волновой функции? Как он узнал, что человек-наблюдатель сможет определить, через какую из щелей проскочит эта частица? |
![Иллюстрация к книге — Биоцентризм. Как жизнь создает Вселенную [_4.jpg] Иллюстрация к книге — Биоцентризм. Как жизнь создает Вселенную [_4.jpg]](img/book_covers/072/72986/_4.jpg)
![Иллюстрация к книге — Биоцентризм. Как жизнь создает Вселенную [_5.jpg] Иллюстрация к книге — Биоцентризм. Как жизнь создает Вселенную [_5.jpg]](img/book_covers/072/72986/_5.jpg)
![Иллюстрация к книге — Биоцентризм. Как жизнь создает Вселенную [_6.jpg] Иллюстрация к книге — Биоцентризм. Как жизнь создает Вселенную [_6.jpg]](img/book_covers/072/72986/_6.jpg)
![Иллюстрация к книге — Биоцентризм. Как жизнь создает Вселенную [_7.jpg] Иллюстрация к книге — Биоцентризм. Как жизнь создает Вселенную [_7.jpg]](img/book_covers/072/72986/_7.jpg)
![Иллюстрация к книге — Биоцентризм. Как жизнь создает Вселенную [_8.jpg] Иллюстрация к книге — Биоцентризм. Как жизнь создает Вселенную [_8.jpg]](img/book_covers/072/72986/_8.jpg)
![Иллюстрация к книге — Биоцентризм. Как жизнь создает Вселенную [_9.jpg] Иллюстрация к книге — Биоцентризм. Как жизнь создает Вселенную [_9.jpg]](img/book_covers/072/72986/_9.jpg)