Книга Сантехнические работы своими руками. Уроки домашнего мастера, страница 26 – Евгений Симонов

Авторы: А Б В Г Д Е Ж З И Й К Л М Н О П Р С Т У Ф Х Ч Ш Ы Э Ю Я
Книги: А Б В Г Д Е Ж З И Й К Л М Н О П Р С Т У Ф Х Ц Ч Ш Щ Ы Э Ю Я
Бесплатная онлайн библиотека LoveRead.ec

Онлайн книга «Сантехнические работы своими руками. Уроки домашнего мастера»

📃 Cтраница 26

Современная гидромассажная ванна


До некоторого времени джакузи считалось предметом роскоши. Однако сейчас большинство людей может позволить себе понежить свое любимое тело в пузырьках.

Иллюстрация к книге — Сантехнические работы своими руками. Уроки домашнего мастера [i_087.jpg]

Джакузи изнутри


Как выбрать джакузи

При выборе джакузи нужно ознакомиться с установочным листом. Это документ, в котором производитель указывает все требования, необходимые для конкретной модели. Но есть и общие правила для установки всех ванн.

Размер ванны должен быть таким, чтобы она свободно помещалась в ванной комнате. Помимо этого, должно быть достаточно места для подхода к ней, а также для того, чтобы выдвинуть ее на определенное расстояние. Для стандартных ванн это 50 см.

Предпочтительно соизмерять форму ванны с местом ее размещения. Например, угловая ванна лучше всего будет смотреться в углу ванной комнаты, овальная — ближе к стене, а круглая — в центре комнаты.

Необходимо соблюдать правила размещения сантехнических объектов. Об этом написано в гл. 5 «Проблемы планировки санитарных узлов».

Несущие конструкции вашего помещения должны выдерживать вес наполненной ванны. В инструкции к каждой модели эти данные есть. Для информации: каждый квадратный метр площади джакузи дает нагрузку на перекрытия 225 кг.

При установке гидромассажной ванны необходимо выполнить гидро- и пароизоляцию перекрытий.

При установке джакузи важно оставлять его «подвижность», чтобы в случае необходимости его можно было выдвинуть с места установки. Нельзя намертво встраивать джакузи.

Обязательно соизмеряйте размеры дверного проема ванной комнаты с размерами ванны либо рассмотрите другие варианты «вноса» ванны в помещение.

В случае если вы строите загородный дом. на этапе проектирования заложите джакузи в проект.


Устройство джакузи

В джакузи встроена система гидромассажа, чего, естественно, в обычной ванне нет. Система включает в себя насос, водозаборник, гидромассажные форсунки.

С помощью насоса вода выкачивается через водозаборник, проходит по системе шлангов и подается в гидромассажные форсунки под давлением. Форсунки устроены так, что на выходе из них вода смешивается с воздухом, благодаря чему усиливается действие воздушной струи. В зависимости от вида форсунок различается вид массажа, например спины или поясничного отдела.

В некоторых ваннах встроен аэрокомпрессор, что позволяет включить режим «турбо», подающий больший объем воздуха и усиливающий струю.

Наряду с гидромассажем встречается аэромассаж. Он производится через специальные аэрофорсунки, расположенные на дне ванны. Аэромассаж тонизирует мышцы.

В наиболее «продвинутых» джакузи встречается система подсветки, так что купаться в ванне с пузырьками становится еще приятнее. Встречаются джакузи с хромотерапией (лечение светом).

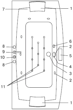
Иллюстрация к книге — Сантехнические работы своими руками. Уроки домашнего мастера [i_088.jpg]

Схема гидромассажной ванны: 1 — подголовник; 2 — форсунки Jet; 3 — узел слива: 4 — водозаборник; 5 — дисплей; 6 — перелив; 7 — крышка емкости для заполнения дезинфицирующей жидкостью (дополнительно); 8 — ручки горячей/холодной воды; 9 — наполнительное устройство с автоматическим распределителем; 10 — ручная убирающаяся лейка; 11 — форсунки Air


Могут встречаться также гидромассажные ванны с возможностью ароматерапии, озонотерапии. В общем, чем «круче» модель, чем дороже она стоит, тем больше в ней дополнительных штучек, «наворотов», полезных и не очень. Все эти опции включаются с помощью кнопок, кранов, регуляторов. Выполнены они в пневматическом варианте, поэтому обеспечивают электрическую безопасность.

В джакузи смесители-краны устанавливают на саму ванну, в отличие от обычных ванн, где краны устанавливают не на ней.

Система слива-перелива обычно делается полуавтоматической. В сливном отверстии расположен клапан, который открывается ручкой перелива. Обычно эта ручка находится на отверстии перелива.

Если вода доберется до уровня перелива, она начнет сливаться в отверстие, расположенное под этой ручкой.

В некоторых ваннах есть дренаж, с помощью которого вода циркулирует в ванной.

Технические характеристики джакузи:

• потребляемая мощность — от 800 Вт;

• мощность гидронасоса — 800-1500 Вт;

• мощность аэрокомпрессора — 400–800 Вт;

• общая мощность системы может достигать 3 кВт.


Как смонтировать джакузи

При установке джакузи нужно помнить об особенностях. Джакузи подключается к электросети, а мы с вами уже говорили о том, что все работы, связанные с электричеством, нужно производить при помощи электрика. Думаю, что квалифицированный мастер лучше нас знает, как подключить УЗО и другие элементы.

Несмотря на то что установку проводят знающие мастера, технологию установки джакузи нам знать тоже не помешает, чтобы контролировать работу мастеров и в случае чего задавать им вопросы, давая понять, что мы не такие уж «чайники» и кое-что знаем.

Ванна-джакузи рассчитана на давление не более 4–5 атмосфер. Чаще всего водопроводное значение не превышает этих цифр, но все же лучше защитить наше оборудование от возможных неприятностей. Итак, сначала мы установим редуктор давления и фильтр для очистки воды.

Фильтры для очистки воды обязательны, если мы хотим как можно дольше купаться в чудесной ванне. В наших кранах течет вода далеко не идеальной чистоты, в ней много примесей и других гадостей. А форсунки в гидромассажной ванне очень чувствительны к чистоте воды, они моментально засоряются, если воду не очищать. Поэтому отнеситесь к системе фильтрации очень серьезно, она должна быть многоступенчатой.

Желательно, чтобы водопроводные трубы были расположены достаточно близко к устройствам потребления воды. Кроме того, нужно, чтобы доступ к местам соединения джакузи с водопроводом был легким, чтобы в случае необходимости мы могли легко отсоединить ванну.

Начинаем установку. Ставим ванну на ножки в то место, где хотим ее видеть. Выравниваем высоту по уровню с помощью регулировочных болтов. Иногда ванна устанавливается на крепежной раме.

Допускается также небольшой уклон ванны в сторону стока, то есть необязательно выравнивать ее строго по горизонтали.

Слив ванны должен быть выше раструба канализации не менее чем на 10 см. Сливная система подключается аналогично сливу обычной ванны, в соответствии с инструкцией производителя.

Реклама
Вход
Поиск по сайту
Ищем:
Календарь