Книга Сантехнические работы своими руками. Уроки домашнего мастера, страница 16 – Евгений Симонов

Авторы: А Б В Г Д Е Ж З И Й К Л М Н О П Р С Т У Ф Х Ч Ш Ы Э Ю Я
Книги: А Б В Г Д Е Ж З И Й К Л М Н О П Р С Т У Ф Х Ц Ч Ш Щ Ы Э Ю Я
Бесплатная онлайн библиотека LoveRead.ec

Онлайн книга «Сантехнические работы своими руками. Уроки домашнего мастера»

📃 Cтраница 16

Следовательно, полотенцесушители монтируются прямо в стояк и ошибки при выборе или установке полотенцесушителя отражаются на работе водопровода по всему стояку.

В торговых организациях можно найти полотенцесушители на любой вкус. Но спешить с выбором не стоит.

Дело в том, что большинство полотенцесушителей на российском рынке — импортного производства и, как правило, не приспособлены для подключения к отечественным водопроводным трубам.

Другое дело, если вы приобретаете этот прибор для загородного дома. Тогда можно задуматься и об импортном полотенцесушителе, обратив, однако, внимание на такие параметры, как рабочее и опрессовочное давление устройства и качество воды. Для установки в обычном многоэтажном доме лучше выбрать отечественный полотенцесушитель, соответствующий требованиям всех необходимых СНиПов и ГОСТов.

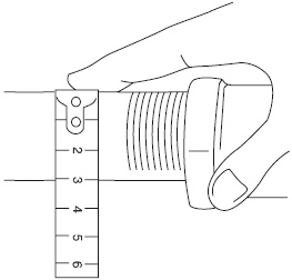
В первую очередь при выборе полотенцесушителя нужно обратить внимание на его размеры. Первый из них — посадочное расстояние, то есть расстояние между верхней и нижней трубой полотенцесушителя. Оно должно соответствовать аналогичному расстоянию между водопроводными трубами у вас дома.

Иллюстрация к книге — Сантехнические работы своими руками. Уроки домашнего мастера [i_057.jpg]

Посадочное расстояние


Второй размер — это диаметр посадки. Для его измерения нужно замерить внешний диаметр трубы, к которой подключается полотенцесушитель. При условии, что диаметр равен 16 мм, посадочный диаметр составляет 1/2 дюйма. Если 26 мм — 3/4 дюйма, а если 32 мм — 1 дюйм.

Важно!

В городских квартирах нельзя подключать полотенцесушители меньшего диаметра через переходники, так как это может нарушить всю систему горячего водоснабжения в стояке.

Иллюстрация к книге — Сантехнические работы своими руками. Уроки домашнего мастера [i_058.jpg]

Посадочный диаметр


Еще один очень важный параметр — давление. Здесь нужно обратить внимание на рабочее и опрессовочное давление. В соответствии с ГОСТами первая величина должна составлять не менее 6 атмосфер (или бар), а опрессовочное — не менее 10. Однако эти параметры стоит уточнить в ЖЭКе. В городской квартире нужно монтировать только полотенцесушители из нержавейки. Наиболее эстетично выглядят полотенцесушители с хромовым покрытием.

Полотенцесушители могут иметь различную форму. Их выпускают четырех основных типов: П-, М-, Ф-образные и «лесенки». На основании этих форм разработаны и многочисленные варианты дизайна полотенцесушителей.

Форма устройств для сушки полотенец во многом зависит от типа подачи воды. Для М- и П-образных полотенцесушителей подача воды должна быть вертикальная. Для полотенцесушителя типа «лесенка» подача воды должна осуществляться снизу.

Итак, приступаем к монтажу полотенцесушителя.

Перед началом работы отключите горячую воду в стояке, ведь, как я уже говорил, полотенцесушитель является частью общей водопроводной системы, поэтому никаким вентилем, расположенным в квартире, вы воду не перекроете.

В городских домах все работы этого типа должны согласовываться с организацией, ответственной за подачу воды (ЖЭК и т. п.). Лучше всего выбрать для работы время летнего отключения горячей воды (но в этом случае все равно необходимо перекрыть воду в стояке).

Установку полотенцесушителя нужно проводить в строгом соответствии с инструкцией.

Перед установкой полотенцесушителя целесообразно сперва устроить так называемый байпас, что в переводе с английского означает «обходной путь». Собственно, байпас — это труба, по которой будет двигаться вода, если перекроется ее доступ к самому полотенцесушителю.

Если вы не специалист, то к сооружению байпаса лучше привлечь профессионалов, поскольку в случае неправильных действий может пострадать весь стояк. Подводка к байпасу выполняется посредством труб из нержавейки.

Байпас устанавливается на двух тройниках при помощи труб со сгоном. Его нужно оснастить тремя вентилями, два из которых стоят в местах соединения с полотенцесушителем, а третий перекрывает движение воды внутри самого байпаса. Такая схема позволяет удалить полотенцесушитель, не отключая весь стояк.

Вентиль байпаса в обычном состоянии закрыт, а вентили, соединяющие стояк и полотенцесушитель, открыты. При желании демонтировать полотенцесушитель сначала откройте кран на байпасе, чтобы вода могла свободно проходить через него, и затем закройте остальные вентили, прекратив подачу воды в полотенцесушитель.

При установке устройства в первую очередь монтируются кронштейны в стену, затем на них закрепляется сам полотенцесушитель и присоединяется к вентилям на байпасе. Соединение труб осуществляется или втулками, наворачиваемыми со сгона, или при помощи специальных фитингов.


Глава 5
Проблемы планировки санитарных узлов
Как правильно разместить санитарные зоны и сантехнические приборы

В разных странах для размещения санузлов и сантехнических приборов существуют разные нормы и правила. В России они диктуются СНиПами (строительными нормами и правилами). У наших соседей по СНГ также есть свои нормативные документы. В регионах или отдельных городах имеются территориальные строительные нормы, которые разработаны в соответствии со спецификой данных регионов. Перед тем как задумать перепланировку санузла в городской квартире, вам будет нужно их досконально изучить, иначе вашу перепланировку вполне могут признать не соответствующей законодательным нормам. Чтобы избежать такого рода проблем, предварительно посетите местное управление архитектуры или ЖЭС, где вы узнаете, какими нормативами в вашем городе регламентируется перепланировка квартиры вообще и санузла в частности.

Если же вы задумали строить коттедж или загородный дом. то неотступно следовать правилам и нормам перестройки санузла с формальной стороны нет необходимости, конечно, если вы не подключаетесь к централизованной системе водоснабжения и канализации.

И все-таки соблюдать правила нужно, ибо это позволит сделать наши санузлы наиболее комфортными и безопасными.

Вот несколько основных правил.

В первую очередь строительными нормами большинства стран СНГ запрещается располагать санузел над жилыми комнатами и кухней. В России исключение делается для двухуровневых квартир, где над кухней разрешается размещать санузлы.

Жители Москвы при регистрации перепланировок часто жалуются на то, что в БТИ не хотят утверждать проекты перепланировки, в которых кухни размещаются над жилыми зонами. Скажу сразу, что принятые в столице СНиПы и другие нормативы не запрещают размещение над жилыми комнатами «мокрых зон», кроме санузла. И все-таки лучше этого по возможности не делать, ведь на кухне тоже часты протечки, а ремонт соседской кухни нижнего под вами этажа обойдется дешевле, чем ремонт спальни или гостиной, особенно если там установлена антикварная мебель эпохи Людовика XV.

Реклама
Вход
Поиск по сайту
Ищем:
Календарь