Книга Сантехнические работы своими руками. Уроки домашнего мастера, страница 12 – Евгений Симонов

Авторы: А Б В Г Д Е Ж З И Й К Л М Н О П Р С Т У Ф Х Ч Ш Ы Э Ю Я
Книги: А Б В Г Д Е Ж З И Й К Л М Н О П Р С Т У Ф Х Ц Ч Ш Щ Ы Э Ю Я
Бесплатная онлайн библиотека LoveRead.ec

Онлайн книга «Сантехнические работы своими руками. Уроки домашнего мастера»

📃 Cтраница 12
Отопление с помощью радиаторов

Системы и основные схемы радиаторного отопления

Сегодня радиаторное отопление распространено повсеместно. Оно надежно, бесшумно, удобно в эксплуатации, совместимо со всеми видами напольных покрытий и стеновой отделки, что важно при выборе между радиаторным отоплением и системой теплых полов и стен, которые требуют особых технологий и материалов.

Существует два основных типа схем радиаторного отопления: конвекционные и искусственные. Первые используют разницу температуры теплоносителя (воды), во вторых циркуляцию обеспечивает насос. Понятно, что схемы с естественной циркуляцией ненадежны, их можно применять только для помещений малой площади.

Разработку схемы и монтаж систем отопления должны выполнять профессионалы, ведь здесь необходимы точные расчеты: при любой ошибке в проекте или монтаже циркуляция теплоносителя будет нарушена. Но работы типа установки или замены радиаторов можно выполнить и самостоятельно.


Важнейшие элементы системы радиаторного отопления

Отопительный котел. Если в городских квартирах горячая вода поступает к нам из центральной котельной, то в загородном доме тип котла можно выбрать самому. Если в дом проведен газ, лучше всего подойдет газовый бойлер, если газа нет. придется остановиться на электрическом. Правда, до сих пор в частных домах работает масса котлов на торфе, угле и даже на дровах. Не печка, конечно, но возни не намного меньше.

Насос. Предназначен для систем с искусственной циркуляцией и обеспечивает движение теплоносителя по трубам.

Радиаторные батареи. Непосредственные источники тепла в помещении.

Расширительный бак. Предназначен для предотвращения создания избыточного давления из-за увеличения теплоносителя в объеме, которое может разорвать трубы или котел. Представляет собой бак с отводящей трубой.

Воздухосборник. Бак. который помогает избавиться от собирающегося в трубах воздуха и предотвратить образование воздушных пробок.

Соединительные трубы. Соединяют элементы отопительной системы и обеспечивают циркуляцию теплоносителя. При их прокладке нужно обратить внимание на то, что горизонтальные трубы должны прокладываться под небольшим наклоном — 0,5 см на каждый метр трубы.

Применяются две основные схемы организации отопления: однотрубная и двухтрубная.


Однотрубные системы отопления

При такой схеме радиаторные батареи подключаются к одной трубе последовательно. Данная схема применима только в случае, когда нагревательные приборы расположены ниже магистрали, поэтому для ее реализации необходим чердак, следовательно, в городских квартирах такая система не используется.

Однотрубная система бывает двух видов: с замыкающими участками и проточная.

При использовании схемы с замыкающими участками хотя бы у части радиаторов должна быть перемычка — байпас, соединяющий трубы: подводящую к радиатору и отводящую от него. В этом случае часть горячей воды поступает обратно в котел, не остывая.

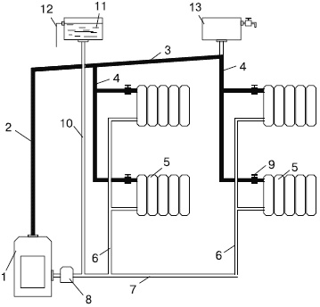
Иллюстрация к книге — Сантехнические работы своими руками. Уроки домашнего мастера [i_045.jpg]

Однотрубная схема с замыкающими участками: 1 — котел; 2 — главный стояк; 3 — подающая магистраль; 4 — радиатор; 5 — обратный стояк; 6 — обратная линия; 7 — циркуляционный насос; 8 — вентиль; 9 — расширительная труба; 10 — расширительный бак; 11 — переливная труба; 12 — воздухосборник

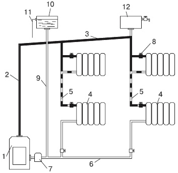
Иллюстрация к книге — Сантехнические работы своими руками. Уроки домашнего мастера [i_046.jpg]

Проточная однотрубная система (расшифровку см. выше)


В проточной схеме теплоноситель последовательно проходит через все радиаторы и возвращается в котел уже остывшим. При выборе между схемами лучше применить схему с замкнутыми участками, так как при использовании второй схемы радиаторные батареи, которые находятся дальше от котла, нагреваются намного меньше. Кроме того, в проточных системах температура не регулируется, а установка регулирующих вентилей на радиаторы запрещена. В случае применения принудительной циркуляции теплоносителя появление какого-либо рода пробки в трубе приведет к тому, что теплоноситель будет скапливаться в котле и трубах до места пробки под высоким давлением. А это чревато не чем иным, как взрывом.


Двухтрубные системы отопления

В этих системах отопления радиаторные батареи подключаются одновременно к подводящей и отводящей трубам. Такие системы более затратны при установке, однако имеют ряд плюсов.

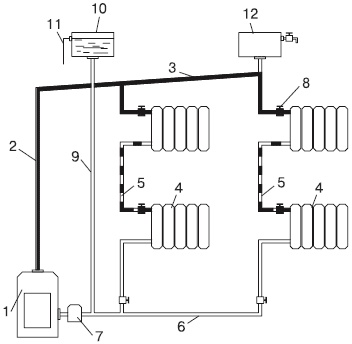
Иллюстрация к книге — Сантехнические работы своими руками. Уроки домашнего мастера [i_047.jpg]

Двухтрубная система отопления с верхней разводкой (расшифровку см. выше)


Разводка при двухтрубной системе бывает следующих типов.

• С вертикальными стояками — радиаторные батареи подключаются к вертикально расположенной основной трубе, которая является стояком. Эта схема не требует проведения труб по всему этажу: стояк проходит через этажи и батареи подсоединяются в одних и тех же местах на разных этажах. Если стояков несколько, разводка труб по этажу выполняется только в подвале.

• С горизонтальными стояками — батареи подсоединяются к трубе, проведенной горизонтально. В этом случае разводка труб выполняется по стенам на каждом этаже. Недостаток — неравномерный нагрев радиаторов. Расположенные в дальней части стояка батареи нагреваются хуже.


Выбор радиаторных батарей

Рассмотрим наиболее используемые типы радиаторов.

Чугунные радиаторы стали классическим типом такого рода приборов. Они обогревают помещение только за счет теплового излучения. Минусы: большой вес, который делает доставку и монтаж таких радиаторов достаточно сложной задачей, довольно низкий КПД. невозможность регулировать температуру. Плюсы: дешевизна, долгий, до 50 лет, срок службы. Более подходят для городской квартиры вследствие экономичности. Для загородного дома нерентабельны по причине больших потерь тепла и отсутствия возможности регулировки температуры.

Ныне чугунные радиаторы выполняют как в привычном дизайне, так и в стиле модерн. Выпускают и винтажные радиаторы, сделанные в стиле ретро.

Алюминиевые секционные радиаторы имеют, по сравнению с чугунными, весьма малый вес, а помещения обогревают не только за счет излучения, но и за счет конвекции, что значительно повышает КПД их работы. Минус — подверженность коррозии. В таких батареях имеются регуляторы температуры, а дизайн их весьма и весьма разнообразен.

Иллюстрация к книге — Сантехнические работы своими руками. Уроки домашнего мастера [i_048.jpg]
Реклама
Вход
Поиск по сайту
Ищем:
Календарь