Книга Азбука пчеловода. Руководство по разведению пчел на приусадебном участке, страница 8 – Н. Медведева

Авторы: А Б В Г Д Е Ж З И Й К Л М Н О П Р С Т У Ф Х Ч Ш Ы Э Ю Я
Книги: А Б В Г Д Е Ж З И Й К Л М Н О П Р С Т У Ф Х Ц Ч Ш Щ Ы Э Ю Я
Бесплатная онлайн библиотека LoveRead.ec

Онлайн книга «Азбука пчеловода. Руководство по разведению пчел на приусадебном участке»

📃 Cтраница 8

Крыша (крышка) покрывает улей сверху и защищает его от атмосферных осадков и других внешних влияний. По конструкции крыша может быть плоской, одно-или двускатной с зарешеченными вентиляционными отверстиями в боковых стенках – фронтонах. Желательно, чтобы крыша была чуть наклонена назад. Состоит крыша из рамы с размерами, равными размерам корпуса (магазинной надставки или подкрышника), и с закрепленными на ней одним или несколькими щитами из досок толщиной 15 мм, выходящими за края улья на 40–50 мм. Сверху крышу обычно покрывают тонкостенной кровельной сталью или толем. Если же ульи будут стоять на чердаке или под общей крышей, то непромокаемой кровлей улей покрывать не надо и крышу не обязательно делать наклонной.

Крыша должна быть легкой и прочной, так как она многократно снимается при осмотрах пчелиных семей и несет на себе большую нагрузку при перевозке пчел.

Подкрышник делается высотой 90–100 мм по размеру внешнего периметра корпуса или магазинной надставки улья и несколько меньше их внутренних промеров. Он служит для фиксированного размещения холстика, потолочных дощечек и утеплительной подушки. При перевозке пчелиных семей подкрышник служит местом для размещения кочевой сетки в целях вентиляции гнезда и верхней кормушки при побудительно-профилактических подкормках пчел.

Потолок состоит из отдельных или сшитых вместе деревянных дощечек и закрывает сверху соторамки, обеспечивая надрамочное пространство и сохраняя тепло в гнезде семьи. Ширина потолка должна соответствовать ширине улья, но быть на 1,5–2 мм уже. Дощечки должны быть хорошо отстроганы, но плотно подгонять их друг к другу не обязательно – обычно потолочек пчелы запрополисовывают (чем больше будет прополиса, тем лучше). При ревизии улья снимается весь потолок или отдельные его дощечки.

Вентиляционные отверстия помогают пчелам поддерживать нужный микроклимат. Они проделываются в крыше улья обычно с двух или с четырех сторон. Различия в устройстве вентиляционных отверстий значения не имеют, важно лишь то, чтобы через них осуществлялся достаточный для экстремальных условий пчелиной семьи воздухо– и влагообмен и в улей не попадали атмосферные осадки.

Вставные доски, или боковые диафрагмы, располагаются плечиками на фальцах стенок корпуса или магазинной надставки параллельно плоскости рамок и служат для ограничения объема улья в зависимости от количества пчел в семье в определенные периоды ее жизнедеятельности.

Иллюстрация к книге — Азбука пчеловода. Руководство по разведению пчел на приусадебном участке [cvet.jpg]
Изготавливают диафрагмы как из тонкой доски, так и из фанеры с прибитыми по краям планками, чтобы не коробились. Расстояние между диафрагмой, дном и стенками улья не должно превышать 2 мм. В целях сохранения тепла низ и боковые стороны диафрагмы часто обиваются уплотнителем.

Улей своими руками

Стенки корпуса улья делают из хорошо отстроганных и подогнанных друг к другу досок (20 мм), скрепленных деревянными или металлическими шипами (шпунтами). Можно изготовить их из двух слоев фанеры (10 мм). Главное, чтобы были соблюдены все размеры.

Для наиболее применяемого в наших условиях 12-рамочного улья размером 450 × 450 мм высота боковых стенок должна быть не менее 450 мм (можно чуть больше); их длина – 490 мм, если толщина досок, из которых составлены боковые стенки, не больше 20 мм. Отдельные дощечки с выбранными шпунтами соединяют в одну стенку деревянными или металлическими гвоздями, заостренными с обеих сторон, и шипами. В каждой дощечке надо выбрать фальц, чтобы не было щелей.

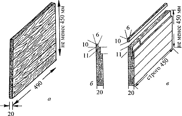
Иллюстрация к книге — Азбука пчеловода. Руководство по разведению пчел на приусадебном участке [_036_1.jpg]

Рис. 8. Стенки улья: а – боковая (их две); б – передняя; в – задняя


Передняя и задняя стенки также одинаковые. К верхней кромке обеих с наружной стороны прибивается брусок размером 6 × 10 × 450 мм. Эти два бруска и боковые стенки улья послужат рамкой для настила потолка. Фланец глубиной 17 мм будет использоваться для навешивания рамок.

Переднюю стенку улья надо сколотить с двумя боковыми так, чтобы верх боковин был вровень с верхом бруска передней стенки. Точно так же надо подогнать заднюю стенку, чтобы верх боковин был вровень с верхом бруска задней стенки. При подгонке задней стенки надо иметь в виду, что внутренний размер улья должен быть строго размером 450 × 450 мм. Для этого желательно предварительно на внутренних сторонах боковых стенок провести черту на расстоянии 450 мм от передней стенки.

Все углы должны быть строго 90°. Все наружные излишки боковых стенок надо отпилить. В сколоченные стенки (корпус) на фланцы передней и задней стенок надо повесить две гнездовые рамки: одну – к правой стенке, другую – к левой. На внутренних стенках улья надо четко отчертить линию нижнего края бруска рамок и соединить эти линии по периметру улья. Ниже этой линии на 20 мм так же по внутреннему периметру надо провести еще одну жирную линию – верхний уровень пола или сетки (от пола или сетки до рамок – строго 20 мм).

На сколоченном корпусе в передней стенке необходимо прорезать леток (нижняя кромка летка – вровень с жирной чертой). После этого надо вставить сетку или поставить улей на пол, навесить рамки, настелить потолок, положить утеплительную подушку и накрыть улей крышкой.

Устранение отрицательного влияния электрического поля на пчел

Чтобы устранить отрицательное влияние электрического поля на пчел, рекомендуется покрывать ульи металлическим сплавом, не содержащим железа. Лучшим материалом для этого является сплав на основе алюминия, который не окисляется и имеет высокую электропроводность. В этом случае внутрь улья не проникает ни электрическое поле земли, ни высокочастотное электромагнитное поле. Хорошая эффективность достигается даже при окраске ульев краской с добавлением алюминиевого или бронзового порошка.

Наблюдать за пчелами, не вскрывая улей

Если хотите наблюдать за работой пчел в гнезде и видеть, не вскрывая улей, застройку вощины сотами, заполнение рамок расплодом и т. д., устройте в задней стенке улья окошко размером хотя бы 400 × 400 мм, плотно застекленное «заподлицо» со стенкой чистым стеклом (желательно толщиной в 3 мм). С наружной стороны стекло надо закрыть плотным ставнем, чтобы не проникали свет и холод. Так вы сможете наблюдать за пчелами, совершенно их не тревожа.

Конструкции наиболее распространенных ульев
Улей-лежак на стандартную рамку

Наиболее известен улей-лежак на стандартную рамку. Рассчитан он на 16–20 рамок. Имеет неотъемный пол, ширина которого для образования прилетной доски на 10–12 см больше ширины корпуса. Подрамочное пространство – 20 мм. В улье устраивается 2 летка по одной его длинной стороне.

Реклама
Вход
Поиск по сайту
Ищем:
Календарь