Книга Строительство дома быстро и дешево, страница 30 – Евгений Симонов

Авторы: А Б В Г Д Е Ж З И Й К Л М Н О П Р С Т У Ф Х Ч Ш Ы Э Ю Я
Книги: А Б В Г Д Е Ж З И Й К Л М Н О П Р С Т У Ф Х Ц Ч Ш Щ Ы Э Ю Я
Бесплатная онлайн библиотека LoveRead.ec

Онлайн книга «Строительство дома быстро и дешево»

📃 Cтраница 30
Клееный брус

В последние годы набирает популярность клееная конструкционная древесина (клееный брус). Хотя она дороже и бревен, и профилированного бруса, у нее имеются существенные преимущества:

▪ отсутствие деформаций;

▪ отсутствие необходимости в дополнительной отделке и утеплении как внутри, так и снаружи;

▪ малая усадка стен (1 %);

▪ сокращение сроков постройки и введения здания в эксплуатацию (дом устанавливают на фундаменте за месяц, и практически сразу в него можно въезжать);

▪ отсутствие различных дефектов, сучков, что делает строительный материал более прочным и удобным.

Для изготовления клееного бруса бревна сначала распускают на доски, которые затем сушат — именно процесс сушки исключает последующие деформации дома из данного материала. Таким образом, сушка — одна из ключевых стадий производства клееного бруса.

После сушки, торцовки, вырезания сучков и сращивания на микрошипы доски обрабатывают антипиренами и антисептиками, строгают и на прессах склеивают в брус прямоугольного сечения. При этом ламели (доски, соединенные микрошипами) имеют противоположное направление волокон, в результате чего брус получается прочнее по сравнению с обычным цельным. Кроме того, он хорошо держит форму вне зависимости от влажности и температуры. Неподверженность бруса деформациям позволяет обойтись без уплотняющих материалов: в заводских условиях брусу придают требуемый профиль сколь угодно сложной формы, который и обеспечивает герметичность стыков.

Построить дом из клееного бруса очень просто. Собственно, его почти полностью делают в заводских условиях. Контрольную сборку производят в цехе, детали маркируют. Затем дом разбирают и вновь собирают уже на месте.

Таким образом, клееный брус на сегодняшний день — один из самых прогрессивных и технологически усовершенствованных материалов на основе натуральной древесины. Однако он не обладает одним из главных достоинств бревен или профилированного бруса: из-за клеевого слоя воздух не проникает сквозь стены, как в деревянных домах других конструкций. Так что придется выбирать между повышенной прочностью, удобством и экологичностью.

Каркасные дома

Каркасное домостроение широко распространено по всему миру.

Стеновая панель каркасного дома представляет собой сухой сосновый или еловый брус, с двух сторон обшитый влагоустойчивыми плитами. Между плитой и брусом проложен утеплитель (минеральная, стеклянная или целлюлозная вата, древесно-волокнистая плита) и пароизоляционная мембранная пленка.

Каркасные дома нуждаются как во внутренней, так и в наружной отделке. С одной стороны, это является недостатком. Но с другой — это позволяет осуществить скрытую прокладку всех инженерных систем. Вес каркасной конструкции значительно ниже, чем аналогичной постройки из бревен, кирпича или железобетона. Более того, каркасный дом — это единственное приемлемое бюджетное решение, если грунт на участке слабый. При любом другом варианте потребуется весьма дорогостоящий фундамент.

В последнее время широко распространилась каркасно-панельная технология: стеновые панели изготавливают в заводских условиях и доставляют заказчику с уже установленными окнами, а порой — даже с проложенными инженерными системами.

Каркас состоит из нижней обвязки, стен, верхней обвязки, подкосов жесткости и вспомогательных элементов (промежуточных стоек и ригелей), между которыми располагаются оконные и дверные проемы.

Нижнюю обвязку, служащую основанием каркаса, собирают из брусьев, бревен или толстых досок (рис. 5.10).

Иллюстрация к книге — Строительство дома быстро и дешево [_119.jpg]

Рис. 5.10. Простой вариант нижней обвязки: 1 — гнездо для угловой стойки; 2 — гнезда для промежуточных стоек; 3 — усиливающие доски


Для защиты нижней обвязки и создания дополнительной звукоизоляции под бруски подкладывают просмоленные или обработанные антисептиком прокладки из войлока или резины. Если запланированы значительные нагрузки, то необходимо сформировать усиленные гнезда угловых стоек (рис. 5.11).

Иллюстрация к книге — Строительство дома быстро и дешево [_120.jpg]

Рис. 5.11. Формирование усиленных гнезд в нижней обвязке: 1 — фиксация промежуточных стоек; 2 — сборка усиленного гнезда для угловой стойки; 3 — фиксация угловой стойки


Если балки пола предстоит врубать в обвязку, ее составляют из двух венцов. Врубку балок пола обычно выполняют при помощи углового замка внакладку или в простой сковородень с прирезкой. Эти балки входят в систему горизонтальных связей конструкции, придавая ей необходимую жесткость. Все врубки фиксируются металлическими скобами для придания прочности и жесткости соединениям конструкции.

Выбор балок является ответственным моментом, потому что просчеты при определении сечения несущих деревянных элементов приведут к нежелательным прогибам пола. При выборе сечения балок нужно учитывать, что высота балки должна быть не менее 1/16 ширины расчетного пролета, а ее ширина — 1/3–1/2 этой же величины.

В зависимости от несущей способности балок, длины их пролета и величины эксплуатационных нагрузок расстояние между балками выбирают в пределах 0,5–1 м. Расстояние между балками цокольного и чердачного перекрытий должно соответствовать расстоянию между стойками каркаса. Наиболее экономичными считаются балки толщиной 5 и высотой 15–18 см при расстоянии между ними 40–60 см. Балки обязательно следует пропитать антисептиками и противопожарными составами.

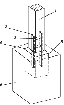
Бруски нижней обвязки крепят к фундаменту анкерами, металлическими хомутами или каким-либо другим доступным способом, чтобы избежать бокового сдвига каркаса (рис. 5.12).

Иллюстрация к книге — Строительство дома быстро и дешево [_121.jpg]

Рис. 5.12. Обеспечение вертикальности стоек каркаса с помощью металлических анкеров: 1 — стойка; 2 — анкер из полосовой стали; 3 — болт с гайкой; 4 — гидроизоляционный отступ; 5 — бетонная опора; 6 — фундаментная бутобетонная опора


Прямые углы формируют при помощи строительного угольника. Горизонтальность брусков нижней обвязки проверяют по нивелиру или строительному уровню.

После того как угловые и промежуточные стойки установлены, их вертикальность проверяют строительным уровнем, а затем каждую стойку закрепляют временными связями (рис. 5.13).

Иллюстрация к книге — Строительство дома быстро и дешево [_122.jpg]

Рис. 5.13. Установка стоек каркаса: 1 — стойки угловые; 2 — стойки промежуточные; 3 — стеновые панели; 4 — перекрытие; 5 — ригели

Реклама
Вход
Поиск по сайту
Ищем:
Календарь