Книга Полы в вашем доме, страница 8 – Андрей Галич

Авторы: А Б В Г Д Е Ж З И Й К Л М Н О П Р С Т У Ф Х Ч Ш Ы Э Ю Я
Книги: А Б В Г Д Е Ж З И Й К Л М Н О П Р С Т У Ф Х Ц Ч Ш Щ Ы Э Ю Я
Бесплатная онлайн библиотека LoveRead.ec

Онлайн книга «Полы в вашем доме»

📃 Cтраница 8

Лучше оборудовать все мебельные ножки специальными защитными наклейками, чтобы избежать царапин и пятен.

До того как лак полностью не просохнет, паркет не рекомендуется застилать коврами.

Крайне нежелательно, чтобы грязь с улицы попадала на паркет.

Для того чтобы не повредить лак, надлежит исключить хождение по паркету в обуви на шпильках или с твердыми набойками.

Паркет, покрытый лаком, при осторожном отношении не потребует особого ухода первые 10–20 лет. Во время обыкновенного ухода и уборки пол надо просто пропылесосить или вымести, порой протереть влажной, хорошо выжатой тряпкой. Не рекомендуется применять много воды.

Во избежание появления на паркете царапин и потертостей время от времени на поверхность лака нужно наносить защищающее покрытие. Периодически при уходе в воду для протирки паркета надлежит добавлять особые составы, совмещающие две функции: устранение небольших загрязнений и создание на поверхности лака тончайшей восковой защитной пленки. Если есть участки с интенсивным загрязнением, то их можно обработать техническими шампунями. Особенность этих средств заключается в том, что они химически нейтральны к лаку.

ПОЛЫ ИЗ ПРОБКИ

Пробка изготовлена из внешней коры пробкового дуба. Его не следует путать с пробковым деревом. Пробковый дуб является единственным деревом, которое используется для производства пробки. Кора этого растения состоит из двух слоев; второй, внешний, слой предназначен для защиты и может быть удален без особого ущерба для дерева. Внутренний слой становится внешним, а затем удаляется в следующий урожай. Многие другие деревья погибнут, если их кору удалить.

Пробка состоит из крошечных ячеек, которые заполнены воздухом. Свыше 50 % объема пробки составляет воздух. Эта клеточная структура несет ответственность за некоторые уникальные и полезные свойства пробки. Пробка — это легкий, пористый, живой материал, который поглощает звук, является хорошим изолятором. Он пружинист, устойчив к воздействию воды; это надежный и прочный материал для ремонта и отделки.

Легкость пробки (в 3–4 раза легче сосны) уменьшает трудоемкость монтажа покрытий. Она не поддерживает горение и в отличие от некоторых пластмасс не выделяет ни хлора, ни цианидов при сильном нагревании. Пробка — экологически чистый материал, не гниющий, как дерево. Ее не трогают жучки и грызуны, не разрушают грибки.

Изделия из пробки сохраняют неизменной свою текстуру и цвет под воздействием солнечных лучей, чего не скажешь о многих синтетических покрытиях. Этот материал химически инертен, нечувствителен к действию бензина, масел и спиртов. Пробка — прекрасный электроизолятор. В то же время на покрытиях из нее не скапливаются электрические заряды, значит, на них не собирается пыль, что немаловажно для людей, страдающих аллергией; в помещении, отделанном пробкой, проще поддерживать чистоту.

Но наиболее замечательна высокая тепло- и звукоизоляция пробковых материалов. Как теплоизолирующий материал пробка конкурирует со специально созданными теплоизоляторами, например пенопластом, полистиролом, минеральной ватой и др.

И наконец, пожалуй, только резина поспорит с пробкой как демпфирующим, т. е. гасящим механические колебания (в том числе и звуковые волны), материалом. Так, коэффициент звукопоглощения на частоте 1000 Гц для настенного покрытия толщиной 2 мм составляет 0,1. Это означает, что шум в комнате будет снижен в десять раз, а эхо исчезнет почти совсем. Поэтому пробковые покрытия рекомендуются для отделки комнат или зон отдыха, оборудованных качественной аудиоаппаратурой.

К недостаткам пробковых материалов относится их небольшая механическая прочность и твердость. На разрыв пробка заметно уступает дереву, зато легко гнется и прилично работает на сжатие, что позволяет ей справляться с нагрузками на полы в жилых помещениях.

Надлежащим образом установленное пробковое покрытие для пола будет служить в течение многих лет. Износ пробкового покрытия может быть предотвращен повторным нанесением полиуретанового лака.

Укладка пробкового покрытия

В основном клеящиеся пробковые покрытия имеют форму квадратной и, реже, прямоугольной плитки толщиной 3–8 мм. Различают лакированную (уплотненную) и простую (неуплотненную) пробковую плитку, также выпускают и самоклеящуюся плитку. Некоторые производители выпускают неуплотненную плитку с нижним защитным слоем из лака или поливинилхлорида.

Основным отличием уплотненной плитки от неуплотненной является то, что в первом случае пол после укладки сразу готов к эксплуатации, а во втором — поверхность пола нужно покрыть тремя слоями полиуретанового лака.

Подготовка основания

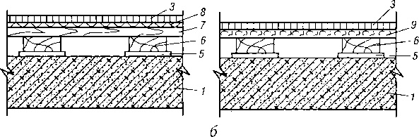
Основание под пробковое покрытие может быть как деревянным, так и бетонным (рис. 3). На ровный и крепким дощатый пол можно уложить листы твердой ДВП толщиной 3,2 мм или листы фанеры толщиной 12 мм (вариант с фанерой более предпочтителен). ДВП прибивают гвоздями к полу; стыки листов ДВП не должны совпадать со стыками досок дощатого пола. Фанеру крепят саморезами по всей площади поверхности. На лаги вместо шпунтованной доски можно положить ДСП толщиной 20–24 мм.

Иллюстрация к книге — Полы в вашем доме [i_007.jpg]
Иллюстрация к книге — Полы в вашем доме [i_008.jpg]

Рис. 3. Конструкции полов с покрытием из пробки:

а — полы на самовыравнивающейся прослойке; б — полы на прослойке из ДСП и ДВП; 1 — железобетонная плита; 2 — самовыравнивающаяся прослойка; 3 — пробковое покрытие; 4 — цементно-песчаная стяжка толщиной 15–20 мм; 5 — звукоизоляция из ДВП толщиной 20 мм; 6 — лаги 40 х 80 мм; 7 — доска шпунтованная; 8 — фанера толщиной 12 мм; 9 — ДСП толщиной 20–24 мм


Требования к бетонному основанию следующие — оно должно быть ровным, чистым и гладким. Максимально допустимый зазор между фугованной рейкой длиной 2 м и основанием должен быть не более 2 мм. Неровное основание выравнивают при помощи самовыравнивающихся смесей. Влажность бетонных, цементных и гипсовых стяжек должна быть не более 5 %. Если основание удовлетворяет всем вышеперечисленным требованиям, можно приступать к укладке пробкового покрытия.

Выбор клея

Клей и пробковая плитка должны пройти акклиматизацию в течение не менее 24 ч в помещении, в котором они будут использоваться. При этом климатические условия внутри помещения должны быть такими: влажность воздуха не более 60 %, температура 18 °C. Клей нужно выбирать в зависимости от качества пробковой плитки и материала основания пола.

Как самый простой вариант можно использовать водостойкий клей ПВА, но некоторые его виды способны привести к усадке пробковых покрытий, что, в свою очередь, приведет к образованию щелей на стыках между плитками. В крайнем случае, ПВА можно использовать для приклейки неуплотненной пробковой плитки, имеющей снизу виниловый защитный слой, тогда клей не будет иметь прямого контакта с пробкой.

Вход
Поиск по сайту
Ищем:
Календарь