Книга Печи и камины своими руками, страница 12 – Иван Зорин

Авторы: А Б В Г Д Е Ж З И Й К Л М Н О П Р С Т У Ф Х Ч Ш Ы Э Ю Я
Книги: А Б В Г Д Е Ж З И Й К Л М Н О П Р С Т У Ф Х Ц Ч Ш Щ Ы Э Ю Я
Бесплатная онлайн библиотека LoveRead.ec

Онлайн книга «Печи и камины своими руками»

📃 Cтраница 12
Иллюстрация к книге — Печи и камины своими руками [i_005.jpg]

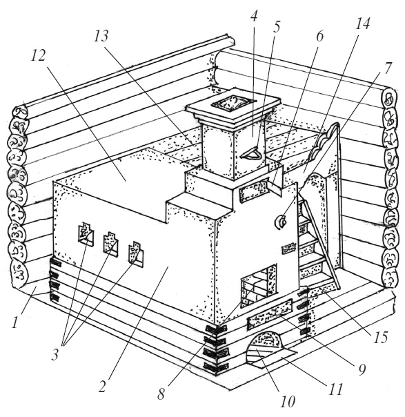
Рис. 5. Общий вид печи: 1 – запечек, 2 – зеркало, 3 – печурки, 4 – труба, 5 – задвижка, 6 – полудверка, 7 – душник, 8 – окно шестка, 9 – подшесток, 10 – подпечек, 11 – лист притопочный, 12 – перекрыша, 13 – настил, 14 – голбец, 15 – лесенка.


Перекрышу печи над варочной камерой рекомендуется стягивать угловой сталью.

Стяжки ставят несколькими способами. В одном случае концы ее доходят до середины толщины перетрубья и проволочными мочками закрепляют в кладке. В другом случае концы стяжки выводят на лицевую поверхность печи на 20–30 мм, сверлят в них отверстия, в которые вставляют стальной пруток и закрепляют гайками. Пруток можно поставить так, чтобы он соприкасался с кирпичной кладкой или отступал от нее.

Наружная отделка

Наружная отделка печей играет важную роль в санитарном отношении. Лучшей отделкой считается облицовка изразцами и кладка печей в металлических футлярах. Кроме того, печь можно штукатурить и притирать. На отделываемые поверхности наружных стен очень тщательно выкладывают швы, расшивают, придавая им ту или иную форму.

Облицовывать печи различными плитками на всевозможных растворах не следует, так как при нагревании такая облицовка быстро отваливается.

При отделке притиранием тщательно заполняют швы раствором. Поверхность печи смачивают водой и притирают обычным красным кирпичом до тех пор, пока она не станет ровной и гладкой. При притирании часть кирпича растирается, смешивается с глиняным раствором, окрашивает его в красный цвет и втирается в мельчайшие отверстия и раковины кирпича. После такой обработки печь становится более гладкой, так как на ее поверхности образуется тонкий слой раствора. Высыхая, печь приобретает желтовато-красный оттенок. При необходимости печь окрашивают в белый цвет.

Отделка печей оштукатуриванием – один из самых распространенных способов. При правильно приготовленном растворе такая отделка служит длительное время. Лицевые поверхности печей оштукатуривают после полного высыхания кладки. Поверхности печи тщательно очищают от пыли и глины, расчищают швы кладки, удалив глину на глубину 5–10 мм, чтобы в последующем в швах лучше заклинился раствор.

Печь протапливают для того, чтобы в печной кладке произошли максимальные изменения из-за усыхания глиняного раствора, и по горячим поверхностям оштукатуривают, предварительно смочив водой.

Чтобы лучше удержать раствор на стенках печи в процессе кладки, рекомендуется в швы закладывать проволоку так, чтобы она находилась примерно в середине кладки, а концы выходили на лицевую сторону на 50–100 мм. Лучше всего их выпускать в виде двух концов (вилки). По стенке выполняют проволочное плетение и закрепляют выпущенными концами.

Рекомендуемая толщина слоя штукатурки – 10 мм, иногда ее доводят до 15–20 мм, но это хуже. Горячую печь смачивают водой и наносят сметанообразный раствор слоем 5–6 мм, а на него более густой слой такой же толщины, выравнивают и затирают. Если в процессе высыхания штукатурка покроется трещинами, то их разрезают, смачивают водой, заполняют раствором и затирают.

Для оштукатуривания печей обычно применяют глиняные или известково-глиняные растворы, но они не всегда обеспечивают должного качества штукатурки. Лучше использовать более прочные, армированные мелким асбестом сорта.

Материалы отмеривают объемными частями. Предварительно их просеивают через частое сито и хорошо перемешивают между собой до получения однородного состава. Рекомендуются следующие растворы:

– 1 часть глины, 1 часть известкового теста, 2 части песка, 0,1 асбеста (мелкий № 6–7);

– 1 часть глины, 2 части песка, 1 часть цемента, 0,1 части асбеста;

– 1 часть гипса, 2 части известкового теста, 1 часть песка, 0,2 части асбеста.

Для приготовления раствора просеивают все материалы через частое сито с отверстиями не реже 3×3 мм. Затем приготавливают сухую смесь в зависимости от состава раствора, и все тщательно перемешивают.

Готовят густое глиняное или известковое молоко, хорошо его перемешивают с сухой смесью и получают раствор. Раствор должен быть густой. По мере необходимости в него добавляют воду. Для обрызга, то есть первого слоя, раствор должен иметь консистенцию густой сметаны. При использовании раствора с цементом приготовленную порцию следует использовать в течение часа. Растворы с гипсом готовят небольшими порциями так, чтобы их можно было употребить в дело за 4–5 минут с момента приготовления. От долгого перемешивания раствор перестает схватываться, прочность его снижается. Такие растворы лучше не применять.

Асбест, используемый для приготовления раствора, должен быть мелким для того, чтобы придать раствору повышенную прочность и армировать его. Вместо асбеста можно добавлять мелко рубленную шерсть, шлаковую или стеклянную мелко рубленную вату. Поверхность штукатурки с такими наполнителями может быть не очень чистой и ее лучше всего накрыть тонким слоем (2–3 см) раствора без волокнистых добавок.

На высохшей штукатурке могут появиться трещины. Их разрезают острым инструментом, хорошо смачивают водой, заполняют (замазывают) раствором и затирают.

Только после исправления трещин приступают к окрашиванию.

Окрашивание

Печи окрашивают только водными составами: известковыми или меловыми. Масляные краски использовать не рекомендуется. От нагревания олифа разлагается, пригорает, выделяя неприятный запах.

Известковый состав готовят из извести-кипелки или известкового теста. Известь-кипелку предварительно гасят в тесто. Для приготовления 10 л раствора требуется 3 кг известкового теста, 3 кг или 1,5 кг извести-кипелки, 100 г поваренной соли или 200 г алюминиево-калиевых квасцов. Чтобы приглушить желтизну, известь подсинивают небольшим количеством синьки (ультрамарина). Известковое тесто разводят в 5–6 л воды, или гасят известь-кипелку. В 0,5 л воды растворяют поваренную соль или квасцы, вливают в известковое тесто и все перемешивают. Добавляют воду до нужного объема с учетом густоты состава, а после этого берут примерно чайную ложку синьки, разводят в половине стакана воды, вливают в известь, все тщательно перемешивают и процеживают через частое сито. Приготовленным составом окрашивают печь.

Меловой состав готовят из мела, воды и столярного клея с подсиниванием. Столярный клей от высокой температуры может разрушаться. Поэтому мел, просеянный через частое сито, можно затворять на снятом молоке. Подсинивают состав по потребности (по цвету).

При подсинивании известкового или мелового состава лучше вначале влить немного синьки, состав перемешать, намазать пальцем на кусок стекла или жести и подсушить на огне. Если состав мало подсинен, добавляют синьку, много – известь или мел.

Чтобы штукатурка не тушевалась, вначале под кистью наносят состав, торцующими ударами (кистью). После его подсыхания печь окрашивают как обычно.

Реклама
Вход
Поиск по сайту
Ищем:
Календарь