Книга Благоустройство территории вокруг коттеджа, страница 33 – Юрий Казаков

Авторы: А Б В Г Д Е Ж З И Й К Л М Н О П Р С Т У Ф Х Ч Ш Ы Э Ю Я
Книги: А Б В Г Д Е Ж З И Й К Л М Н О П Р С Т У Ф Х Ц Ч Ш Щ Ы Э Ю Я
Бесплатная онлайн библиотека LoveRead.ec

Онлайн книга «Благоустройство территории вокруг коттеджа»

📃 Cтраница 33

♦ автоматическая система регулировки влажности, температуры, объема входящего воздуха.

Мощность приточно-вытяжной системы определяется объемом выделяемой влаги (испарений). При выборе оптимальной модели следует принимать во внимание компактность оборудования и экономичность установки (последняя зависит от работы рекуператора).

Осушитель воздуха – прибор для экономного расходования электроэнергии, слива конденсата, подачи теплого воздуха в помещение и в целом для снижения нагрузок на вентиляционную систему. Потребляемая мощность – от 0,5 до 3 кВт.

Проточные нагреватели, теплообменники

Для подогрева воды в домашнем бассейне обычно бывает достаточно ТЭН мощностью от 3 до 25 кВт. Для нагрева больших объемов воды применяются теплообменники мощностью до 200 кВт (с теплоносителем отопительной системы дома). Они нагревают воду медленнее, но экономнее, чем электрические нагреватели.

Контролеры параметров воды

Данные приборы контролируют жесткость и кислотность воды (уровень pH). Соблюдение этих параметров на уровне нормы необходимо, чтобы избежать негативного воздействия воды в бассейне на металлические конструкции и кожу человека при купании.

Слив воды

Сливать воду из бассейна в канализационную систему можно лишь при условии, что септик вашего дома выдержит дополнительную нагрузку (до 1,5 м3 воды в день). Сообщение бассейна с канализационной системой должно происходить только через устройство гашения струи. Ввод данного устройства должен располагаться выше выводной трубы, чтобы содержимое канализации не проникало в бассейн.

Если при устройстве канализации система слива воды из бассейна не была предусмотрена, сток воды производится в ливневую систему.

Правила эксплуатации бассейна

Даже если бассейн стоил вам больших денег, не факт, что он прослужит долго. Естественно, многие проблемы можно предупредить, если хорошенько вникнуть в проект, проследить за качеством материалов и добросовестностью рабочих. Важно выбрать оборудование, цена которого разумно сочеталась бы с качеством. Но и в процессе эксплуатации необходимо соблюдать некоторые правила: к сожалению, раз и навсегда устроить бассейн невозможно.

За бассейном требуется постоянный и тщательный уход. Открытые бассейны нуждаются в очищении от опавших листьев, мусора, водорослей и т. д. К примеру, от водорослей поможет избавиться вещество под названием альгицид – его свойства не дадут воде «зацвести», как в пруду.

Кроме регулярной «косметической» чистки, примерно один раз в год бассейн подвергают капитальной чистке. Удобнее всего проводить ее весной, перед заполнением емкости водой. При этом используются чистящие средства, способные справиться и с грязью, и с известковым налетом. Для чаш, покрытых пленкой или пластиком, есть специальные средства. При необходимости с помощью подводных пылесосов можно чистить и наполненный бассейн.

Гараж

Обшие правила строительства

В этом разделе вы найдете подробную информацию о строительстве гаражей самых разных размеров и конструкций, а в конце – смету с указанием цен на материалы. Но сначала поговорим о тонкостях планирования гаражной постройки на участке.

Удобный гараж – неотъемлемая часть благоустройства частного дома, которая при необходимости может также выполнять функции мастерской и погреба для хранения домашних заготовок.

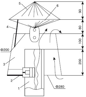
Если на участке достаточно места, гараж можно соорудить в виде отдельной постройки. В ином случае его можно пристроить непосредственно к дому, дополнив хорошей вытяжной вентиляцией и небольшой комнатой перед входом, чтобы неприятные запахи не могли проникнуть в жилые помещения (рис. 4.35).

Иллюстрация к книге — Благоустройство территории вокруг коттеджа [i_065.jpg]

Рис. 4.35. Вытяжная система гаража: 1 – труба; 2 – хомут крепления; 3 – конусная насадка; 4 – лапка крепления колпака; 5 – колпак; 6 – колпак с двойным конусом


Гараж, возведенный под отдельной крышей, обычно располагают на таком расстоянии от улицы, чтобы была возможность на время оставлять машину возле дома, не открывая гараж. Иногда же гараж размещают таким образом, чтобы его въездные ворота были частью забора: такая планировка экономит место. Отдельно стоящий гараж можно соединить с домом или другими надворными постройками навесом – так удобнее добираться до него во время дождя или снегопада.

Обычно к фундаменту и стенам гаражной постройки не предъявляются особые требования по теплоизоляции, хотя можно сделать и отапливаемый гараж. Правда, это повлечет дополнительные затраты. Но, если машина эксплуатируется круглый год, а гаражная постройка кирпичная, утепление нужно продумать обязательно.

Наличие смотровой ямы в гараже, бесспорно, удобно (рис. 4.36, 4.37). И все-таки многие специалисты рекомендуют от нее отказаться, потому что выемка ниже уровня пола дает перепад температур. В результате испарения приведут к образованию конденсата, и днище автомобиля, постоянно стоящего над ямой, начнет ржаветь. Но если вы решили, что удобство важнее, постарайтесь обустроить смотровую яму, учитывая специальные правила.

Иллюстрация к книге — Благоустройство территории вокруг коттеджа [i_066.jpg]

Рис. 4.36. Оборудование гаража и поперечный разрез со смотровой ямой и подвалом: 1 – верстак с тисками и стеллажи (полки); 2 – облицовочная доска; 3 – рубероид; 4 – балка перекрытия; 5 – балка навесного потолка (антресоли); 6 – щит антресоли; 7 – петли навески антресоли; 8 – отмостка; 9 – фундамент; 10 – смотровая яма; 11 – погреб (подвал)


Если грунтовые воды на участке подходят на глубину выше 2,5-3 м, яму в гараже делать нецелесообразно, как и подвал для хранения продуктов. Планировка гаража должна позволять размещение автомобиля в стороне от смотровой ямы и люка в подвал. Ширина смотровой ямы должна быть на 10-15 см меньше расстояния между колесами автомобиля, а глубина – достаточной для работы в ней человека в полный рост. Стены и пол ямы бетонируют, а к верхним краям крепят металлические уголки, чтобы исключить соскальзывание колес машины.

Иллюстрация к книге — Благоустройство территории вокруг коттеджа [i_067.jpg]

Рис. 4.37. Комфортный и простой гараж со смотровой ямой и подвалом: 1 – верстак с тисками и стеллажи; 2 – облицовочная доска; 3 – рубероид; 4 – балка перекрытия; 5 – балка навесного потолка; 6 – щит антресоли; 7 – петля навески антресоли; 8 – отмостка; 9 – фундамент; 10 – смотровая яма; 11 – подвал

Вход
Поиск по сайту
Ищем:
Календарь