Книга Обустройство и ремонт дома быстро и дешево. Коммуникации и интерьер своими руками всего за 2 месяца, страница 3 – Юрий Казаков

Авторы: А Б В Г Д Е Ж З И Й К Л М Н О П Р С Т У Ф Х Ч Ш Ы Э Ю Я
Книги: А Б В Г Д Е Ж З И Й К Л М Н О П Р С Т У Ф Х Ц Ч Ш Щ Ы Э Ю Я
Бесплатная онлайн библиотека LoveRead.ec

Онлайн книга «Обустройство и ремонт дома быстро и дешево. Коммуникации и интерьер своими руками всего за 2 месяца»

📃 Cтраница 3

Крепежные, соединительные части водопровода называют фитингами. Они обеспечивают прочность и герметичность конструкции. Их устанавливают в местах соединений, разветвлений и поворотов труб. Материал фитинга зависит от материала, из которого изготовлена труба.

Поливочные краны. Их основная функция – орошение территории. Место вывода кранов – внешние стены дома (в углублениях стен). Высота – 0,35-0,4 м от уровня земли, расстояние между кранами – 50–70 м.

Место соединения наружного и внутреннего водопровода называется водопроводным вводом. Трубы вводов закладывают по следующим правилам: 0,5 м ниже глубины замерзания почвы, а при отсутствии замерзания – на 1 м. Диаметр трубы ввода должен быть на 350–450 мм меньше диаметра отверстия ввода в здание. Количество вводов зависит от функционального назначения здания. Беспрерывная подача воды возможна лишь при двух и более вводах.

Примечание

Если водопроводный и канализационный трубопроводы пересекаются, то водопроводную сеть размещают выше канализационной на 0,5 м. При меньшем расстоянии трубы «пакуют» в специальную металлическую гильзу, зазор между которой и трубой ввода заделывают водогазонепро-ницаемыми материалами.

Разумеется, если вы рачительный хозяин, вам не нужно объяснять необходимость установки счетчиков воды, которые контролируют объем ее расхода на вводах внутреннего водопровода.

Счетчики подразделяются на одноструйные, многоструйные, турбинные, вентильные и импульсные. Последние предназначены для передачи данных о расходе воды на расстоянии (дистанционно).

При выборе счетчика воды следует обращать внимание на его характеристики (область учета, расход, предельные нормы потери напора), а также условия установки. Если счетчик показывает менее 18–20 % потери напора, его следует заменить меньшим по размеру (калибру).

Водомеры – это счетчики водомерных узлов. Они показывают потребительский расход воды. Их данные позволяют контролировать перерасход, чтобы использовать воду более экономно.

Расположение водомерных узлов – в теплом и сухом месте. Помещение должно быть удобным для осмотра и располагаться рядом с вводом в дом.

Представляю вашему вниманию существующие нормы расхода воды (табл. 1.7).


Таблица 1.7. Нормы расхода воды на одного человека

Иллюстрация к книге — Обустройство и ремонт дома быстро и дешево. Коммуникации и интерьер своими руками всего за 2 месяца [i_008.jpg]

Хозяйственно-питьевое водоснабжение частных жилых домов может осуществляться как от централизованных систем водоснабжения, так и от индивидуальных источников. Конечно, наиболее оправданно с экономической точки зрения использование первых, так как в этих случаях поставщик водопроводной воды обязан гарантировать ее качество. Однако в небольших населенных пунктах централизованный водопровод зачастую попросту отсутствует, и хозяину приходится решать вопрос водоснабжения своего дома самому или совместно с соседями. При этом, как правило, приходится сооружать колодец.

Внутренний водопровод

Внутренний водопровод обслуживает основные сантехнические узлы в самом доме. Его системы включают водомерные и разводящие узлы, стояки, вводы в дом (обычно два), подводки к санитарным устройствам (краны, сливные бачки и т. д.). При необходимости в систему включают различные насосные установки.

Системы внутреннего водопровода предназначены для хозяйственно-питьевых, пожарных и технических нужд (производственное использование).

Рекомендую с помощью специалистов подобрать систему фильтров для воды, поскольку самостоятельно и путем использования только одного фильтра избавиться от всех разнородных примесей невозможно.

В зависимости от расположения магистральных трубопроводов водопроводы бывают с верхней и нижней разводкой. Все они подразделяются на тупиковые, кольцевые, комбинированные и зонные. Выбор типа сети внутреннего водопровода зависит от условий подачи и расхода воды, размещения водоподающих установок.

Нижняя разводка наиболее характерна для жилых домов. При таком устройстве трубы помещают в подвальном помещении здания.

Кольцевые и комбинированные сети применимы в многоэтажных и общественно-промышленных зданиях, где требуется бесперебойная подача воды.

Зонные сети могут быть совмещены друг с другом или действовать самостоятельно, под верхним или нижним напором. Они подходят для зданий с малым количеством этажей, в этом случае рационально применение схемы верхней разводки (в самой верхней части здания).

Если дом имеет два этажа и более, санитарно-технические устройства и соответствующую (водоразборную) арматуру размещают строго друг над другом, прокладывая трубопроводы по кратчайшей траектории.

Примечание

В жилых домах используется прямоточная система водоснабжения, а системы оборотного и повторного водоснабжения применимы только в производственных зданиях.

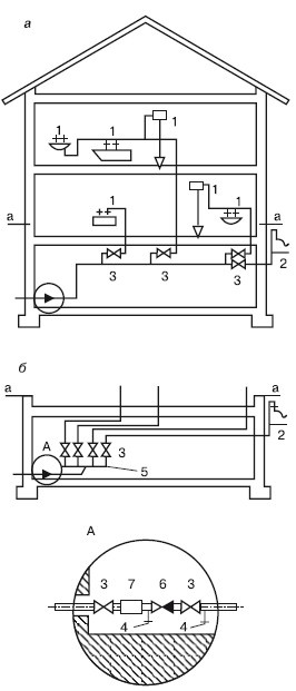
Несомненное удобство и экономичность представляет собой единая система водопроводов. В этом случае вода во всех установках подходит для питья и подается с равным напором (рис. 1.2).

Иллюстрация к книге — Обустройство и ремонт дома быстро и дешево. Коммуникации и интерьер своими руками всего за 2 месяца [i_009.jpg]

Рис. 1.2. Схема питьевого водопровода:

а – запорные вентили; б – распределительный коллектор; 1 – водоразборная арматура; 2 – поливочный трубопровод; 3 – запорный вентиль; 4 – опускной кран; 5 – распределительный коллектор; 6 – обратный клапан; 7 – счетчик расхода воды


Для того чтобы внутренний водопровод функционировал нормально, напор воды на вводе в дом должен быть таким, чтобы водой полноценно снабжались и самые верхние, и наиболее удаленные водоподающие системы. На силу напора также влияет сопротивление ходу воды. Итак, на основании этого можно сделать расчет:

Н = 10 + 4 (n – 1),

где 10 – потери напора на 1-м, 4 – на каждом следующем этаже; n – количество этажей.


Гарантированный (минимальный) напор в наружном водопроводе в местах присоединения ввода должен составлять не менее 10–12 м водяного столба.

При недостаточном напоре в наружном водопроводе в систему водоснабжения включают специальные установки: насосы, водонапорные баки или пневмобаки. Напор, превышающий максимальные нормы, может повредить сети и соединенные с ними установки (рис. 1.3).

В зависимости от требуемого напора и оборудования различают следующие системы водоснабжения.

Вход
Поиск по сайту
Ищем:
Календарь