Книга Обустройство и ремонт дома быстро и дешево. Коммуникации и интерьер своими руками всего за 2 месяца, страница 11 – Юрий Казаков

Авторы: А Б В Г Д Е Ж З И Й К Л М Н О П Р С Т У Ф Х Ч Ш Ы Э Ю Я
Книги: А Б В Г Д Е Ж З И Й К Л М Н О П Р С Т У Ф Х Ц Ч Ш Щ Ы Э Ю Я
Бесплатная онлайн библиотека LoveRead.ec

Онлайн книга «Обустройство и ремонт дома быстро и дешево. Коммуникации и интерьер своими руками всего за 2 месяца»

📃 Cтраница 11

Рис. 3.7. Новый тип энергосберегающих газовых котлов (фото автора, 2009 г.)

Иллюстрация к книге — Обустройство и ремонт дома быстро и дешево. Коммуникации и интерьер своими руками всего за 2 месяца [i_034.jpg]

Рис. 3.8. Радиатор


Различают системы водяного отопления с естественным и механическим побуждением движения воды. В системах с механическим побуждением циркуляция воды происходит в основном за счет действия циркуляционного насоса, который устанавливают на трубопроводе, подводящем охлажденную воду к водонагревателю. В таких системах водонагреватель может быть расположен на одном уровне с отопительными приборами и даже выше них, а диаметры трубопроводов меньше, чем в системах с естественным побуждением.

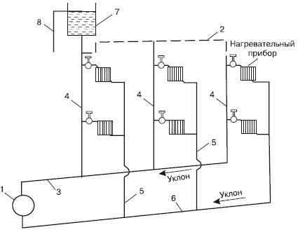
По типу движения воды системы водяного отопления подразделяются на системы с естественной циркуляцией (рис. 3.9) и системы с искусственной (механической) циркуляцией.

Иллюстрация к книге — Обустройство и ремонт дома быстро и дешево. Коммуникации и интерьер своими руками всего за 2 месяца [i_035.jpg]

Рис. 3.9. Схема системы водяного отопления с естественной циркуляцией (верхняя разводка):

1 – котел; 2 – главный стояк; 3 – разводящая линия; 4 – горячие стояки; 5 – обратные стояки; 6 – обратная линия; 7 – расширительный бак; 8 – сигнальная линия


Система естественной циркуляции воды применяется в индивидуальных домах малой этажности. Циркуляция воды происходит благодаря гидростатическому напору, который возникает за счет разности температуры и плотности воды (подогретая вода легче охлажденной).

Циркуляция при всех прочих равных условиях усиливается по мере увеличения расстояния по вертикали между отопительными приборами и водонагревателем, в связи с чем последний стараются размещать по возможности ниже.

В системе естественной циркуляции цикл движения воды выглядит следующим образом (см. рис. 3.9): котел (1) – главный подающий стояк (2) – магистральный трубопровод (3) – подающие стояки (4) – нагревательные приборы – обратные стояки (5) – обратная линия (б).

Опускаясь вниз, охлажденная вода, будучи более тяжелой, вытесняет своей массой более легкую подогретую воду обратно, в главный подающий стояк. Такой «водоворот» отопительной системы – постоянный процесс.

Циркуляция воды усиливается, если увеличить вертикальное расстояние между водонагревателем и отопительными устройствами. Для этого водонагреватель устанавливается как можно ниже (нижняя разводка) (рис. 3.10).

Иллюстрация к книге — Обустройство и ремонт дома быстро и дешево. Коммуникации и интерьер своими руками всего за 2 месяца [i_036.jpg]

Рис. 3.10. Схема системы водяного отопления с естественной циркуляцией (нижняя разводка):

1 – котел; 2 – воздушная линия; 3 – разводящая линия; 4 – горячие стояки; 5 – обратные стояки; 6 – обратная линия; 7 – расширительный бак; 8 – сигнальная линия


Типы присоединений отопительных приборов:

♦ однотрубные – присоединение к одному стояку;

♦ двухтрубные – параллельное присоединение к горячему и обратному стоякам;

♦ проточные – последовательное прохождение воды через все отопительные приборы, примыкающие к стояку.

Горизонтальная однотрубная система водяного отопления применима в индивидуальных домах (до двух этажей). Эта система характеризуется совместным функционированием подводки, стояка и магистрали.

Главная предпосылка нормального функционирования системы водяного отопления – удаление из нее воздуха. Для этого рекомендуется вертикальная (или с уклоном) прокладка трубопроводов. Над ними устанавливают воздухоотводящие устройства. Для систем с естественной циркуляцией характерна прокладка горизонтальных труб с уклоном по направлению движения воды. Нижние магистрали всегда прокладывают с уклоном в сторону водонагревателя. Рекомендуемый уклон на 1 м трубы – 5 мм.

Существуют определенные правила установки нагревательных приборов под окнами:

♦ центры прибора и окна должны совпадать (максимально допустимое отклонение – 20 мм);

♦ для простоты уборки минимальное расстояние от пола до основания прибора должно быть 60 мм;

♦ минимальное расстояние от верха прибора до подоконника – 50 мм (с целью удобства доступа при ремонте);

♦ ребра следует располагать вертикально;

♦ для всех нагревательных устройств должна использоваться одноуровневая установка;

♦ радиаторы необходимо размещать на кронштейнах.

Монтаж и регулировка водяного отопления

В целом монтаж отопительной системы подразумевает установку нагревательных устройств (расширительных баков, котлов, радиаторов и т. д.) и сборку трубопроводной системы (установку запорно-регули-рующей и измерительной арматуры). Начинают монтаж с установки нагревательных приборов или сборки стояков.

Монтажную регулировку системы водяного отопления проводят при пробном (проверочном) пуске отопительной системы. По ее завершении на корпусах кранов устанавливают стационарные розетки с узким отверстием, в которое вставляют рукоятку (ее помещают на квадратный верх шпинделя). Рукоятка поворачивает стакан, что уменьшает проходное отверстие корпуса. Таким же способом производится вторичная регулировка.

Количественная регулировка теплоотдачи производится из общей (центральной) или местной (предназначенной непосредственно для прибора) точки. При этом измеряют количество воды, поступающей в отопительную установку.

Применяемая для местного регулирования арматура – краны двойной регулировки или трехходовые краны. При этом их обязательно устанавливают на всех подводках нагревательных приборов.

Составляющие детали крана двойной регулировки:

♦ корпус;

♦ бронзовый стакан (полый с двумя боковыми отверстиями, находится внутри корпуса);

♦ шпиндель (имеет внизу наружную резьбу, соединен со стаканом).

Принцип действия крана таков. При вращении шпинделя стакан двигается вверх и вниз, при этом боковые отверстия полностью или частично закрывают проход корпуса.

Внимание

Если в доме применяется верхняя разводка, наибольшее прикрытие прохода корпуса кранов производится на верхних этажах при полном открытии их проходов на первом этаже. Этот метод установки позволяет гасить излишнее давление у приборов верхнего этажа.

Вход
Поиск по сайту
Ищем:
Календарь