Книга Мебель своими руками, страница 1 – Владимир Онищенко

Авторы: А Б В Г Д Е Ж З И Й К Л М Н О П Р С Т У Ф Х Ч Ш Ы Э Ю Я
Книги: А Б В Г Д Е Ж З И Й К Л М Н О П Р С Т У Ф Х Ц Ч Ш Щ Ы Э Ю Я
Бесплатная онлайн библиотека LoveRead.ec

Онлайн книга «Мебель своими руками»

📃 Cтраница 1
Мебель своими руками

Научиться делать мебель своими руками можно за короткое время и в любом возрасте, для этого не обязательно иметь какую-то специальную подготовку. Главное – желание и терпение.

С чего же начать, какими должны быть первые шаги? Можно, например, сначала освоить приемы выполнения различных рабочих операций (пиления, строгания и т. д.) и только после этого приступить к изготовлению каких-либо конкретных предметов мебели. А можно свое обучение мебельному делу сразу же начать с изготовления какой-нибудь нужной для дома вещи. Этот вариант кажется нам более интересным. Правда, начав с изготовления конкретного предмета мебели, вы сразу же столкнетесь с рядом насущных проблем: где и как оборудовать рабочее место, какие нужны материалы и где их приобрести, какие нужны инструменты? Но пусть вас не смущают ошибки и трудности, с которыми вы столкнетесь при изготовлении первого вашего предмета. В процессе работы вы на собственном опыте научитесь исправлять эти ошибки и преодолевать возникшие трудности. А это очень важно в любом деле.

Разумеется, ввиду отсутствия достаточных практических навыков первая ваша вещь не должна быть слишком сложной. Лучше всего, пожалуй, начать с изготовления какого-либо предмета кухонной мебели, отличающегося простотой форм и отделки. Возьмем, например, кухонный разделочный (рабочий) стол. Он достаточно прост в изготовлении и в то же время содержит почти все виды самых распространенных мебельных деталей. На этом конкретном предмете и начнем учиться. Сделав такой стол, вы сумеете изготовить и многие другие, более сложные предметы.

Проект

Прежде чем приступить к изготовлению задуманного вами предмета мебели, составьте его проект. Работать без проекта, вслепую, просто невозможно. Но не пугайтесь громкого слова «проект». Когда мебель делают для себя, составить проект – это всего-навсего нарисовать на листе бумаги будущий предмет, наметить его основные размеры и уточнить, из каких частей или деталей он будет состоять.

Покажем на примере, как это осуществить. Допустим, вы решили начать с кухонного стола. Каким он должен быть? За образец, конечно, можно взять стол, который вы, например, увидели на выставке, в магазине, в журнале, у знакомых. Можно разработать и свой вариант. Самое главное, чтобы выбранный вами предмет обстановки был удобным, хорошо вписывался в интерьер кухни и, наконец, просто вам нравился.

Скажем, вы решили изготовить стол-шкаф с ящиком, внутренней полкой, двумя створчатыми дверками и опорой в виде цоколя (рис. 1). Изобразим этот стол на бумаге, или, иначе говоря, сделаем эскиз (набросок). Желательно выполнить эскиз так, чтобы сразу видеть три стороны предмета. Но можно ограничиться только видом спереди и поперечным разрезом (рис. 2).

Иллюстрация к книге — Мебель своими руками [i_001.jpg]

Рис. 1. Кухонный разделочный стол-шкаф

Иллюстрация к книге — Мебель своими руками [i_002.jpg]

Рис. 2. Эскиз разделочного стола-шкафа: а – вид спереди; б – поперечный разрез


Наметим теперь основные размеры стола: ширину, глубину и высоту. Размеры следует увязывать с конкретным предназначением проектируемого предмета, его расположением, размерами других предметов мебели и помещения, а также имеющимися в наличии материалами.

Ширина стола определяется удобством приготовления на нем пищи, количеством и размерами посуды и другой утвари, которую предполагается в нем разместить. Обычно ширина стола лимитируется шириной навешиваемого над ним настенного шкафа и составляет 600—1000 мм. Глубина стола (450–600 мм) в значительной степени зависит от размеров помещения. Высота увязывается с высотой расположенной рядом моечной раковины и газовой или электрической плиты и обычно равняется 850 мм. Положим, что с учетом всего сказанного вы пришли к следующим размерам стола: ширина – 600 мм, глубина – 450 мм, высота – 850 мм.

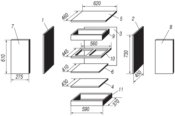
Теперь остается уточнить, из каких деталей будет состоять стол. Для этого мысленно разделим его на части. Как видно из рис. 3, к основным деталям стола относятся: две боковые стенки, задняя стенка, днище, крышка, полка, две дверки, ящик, подъящичная рамка, цоколь.

Иллюстрация к книге — Мебель своими руками [i_003.jpg]

Рис. 3. Основные детали разделочного стола-шкафа: 1, 2 – боковые стенки; 3 – задняя стенка; 4 – днище (нижний полик); 5 – крышка; 6 – полка; 7, 8 – дверки; 9 – ящик; 10 – подъящичная рамка; 11 – цоколь


Размеры деталей стола определяются, естественно, основными размерами стола, а также зависят от размеров используемого материала и некоторых дополнительных условий. Так, в нашем случае (см. рис. 2) мы принимаем, что ориентировочная толщина плоских деталей составляет 20 мм (задняя стенка изготовляется из тонкого листа фанеры и в глубину стола не включается), крышка выступает по бокам и спереди на 10 мм, полка на 20 мм уже днища, дверки навешены на боковые стенки с помощью петель толщиной 5 мм и упираются при закрывании в днище, ящик вставляется в нишу высотой 100 мм, такую же высоту – 100 мм – имеет и цоколь. Подсчитанные с учетом этих условий размеры деталей показаны на рис. 3.

Разумеется, кроме основных деталей, при изготовлении стола потребуются еще крепежные детали, а также фурнитура (дверные петли, ручки, защелки).

Когда проект составлен, можно приступить к подбору необходимых материалов.

Материалы для изготовления мебели

Для изготовления мебели вам понадобятся в основном четыре вида материалов: деревянные бруски, доски, листы (фанерные и др.), плиты. Широкую грань бруска и доски называют пластью, узкую – кромкой, концевую грань – торцом. Листы отличаются от плит малой толщиной, которая обычно не превышает нескольких миллиметров. У листов и плит также различают пласти и кромки.

В нашем случае бруски нужны для подъящичной рамки, доски – для ящика и цоколя, листы – для задней стенки, плиты – для всех остальных деталей. Вообще для боковых стенок, днища, крышки, полки и дверок можно было бы применить и доски. Но не любая доска для этого подходит. Для деталей, находящихся на виду, нужны доски из высокосортной древесины, без дефектов, иначе мебель не будет смотреться. Кроме того, для широких деталей обычно невозможно подобрать доски нужных размеров и приходится подгонять их между собой по ширине. А такая работа трудоемка и требует высокой квалификации. Необходимо помнить также и о том, что со временем доски усыхают и могут изменить свою форму, покоробиться и даже потрескаться.

Поэтому доски применяют для изготовления сравнительно узких деталей (обычно не шире 150 мм), а для широких деталей более подходящими являются различные широкоразмерные многослойные плиты из древесины, которые благодаря слоистой структуре не подвержены короблению и растрескиванию и в то же время достаточно прочны.

Вход
Поиск по сайту
Ищем:
Календарь