Книга Полный справочник пчеловода, страница 71 – Валерий Корж

Авторы: А Б В Г Д Е Ж З И Й К Л М Н О П Р С Т У Ф Х Ч Ш Ы Э Ю Я
Книги: А Б В Г Д Е Ж З И Й К Л М Н О П Р С Т У Ф Х Ц Ч Ш Щ Ы Э Ю Я
Бесплатная онлайн библиотека LoveRead.ec

Онлайн книга «Полный справочник пчеловода»

📃 Cтраница 71

Большинство современных ульев имеют толщину стенок 35–40 мм, но вполне допустима и меньшая толщина — вплоть до 20 мм. У американских пчеловодов толщина стенок улья Лангстрота — Рута составляет в основном 20–25 мм.

Доски для изготовления улья должны быть хорошо просушены (влажность — не выше 15 %), без трещин и гнили. Сучки здоровые, плотно сросшиеся с древесиной допускаются только на деталях шириной свыше 65 мм при условии, что они расположены на расстоянии не менее 45 мм от торцевых кромок и 15 мм — от продольных кромок. В заготовках для ульевых рамок сучков не должно быть. Сучки выпадающие, рыхлые, табачные после высверливания плотно заделывают на водоупорном клее пробками из однородной древесины. Направление волокон на пробке устанавливают параллельно направлению волокон на заготовке. Доски должны быть ровными, без коробления. Особо неприемлемо дугообразное коробление доски по длине и коробление винтом. Из таких досок трудно будет сделать качественный улей.

Толщина доски должна быть на 3–5 мм больше выбранной толщины стенки улья. Этот запас толщины делается для чистовой доводки заготовок после их сплачивания.

При изготовлении улья необходимо соблюдать размеры, предусмотренные чертежами. Допустимые отклонения:

• по длине — не более ± 1 мм;

• по толщине — не более ± 0,5 мм;

• по ширине: для деталей шириной более 65 мм — не более ± 1 мм; для деталей шириной менее 65 мм — не более ± 0,5 мм.

Такую точность необходимо выдерживать уже в процессе изготовления заготовок, а это возможно только при наличии соответствующих шаблонов, о чем будет подробно рассказано ниже.

Поверхности всех заготовок должны быть гладкими, без отколов, заусениц, шероховатости или ворсистости. Детали при соединении надо плотно подгонять друг к другу, без зазоров и перекосов.

Распиловка и фуговка досок

Если для изготовления улья будет использоваться необрезная доска, то ее нужно предварительно обрезать по бокам. Лучше всего разметку для обрезки делать при помощи толстой капроновой нитки следующим образом. По линии предполагаемой обрезки забить два небольших гвоздика в районе торцов доски (рис. 62), зацепить за них и туго натянуть предварительно натертую мелом или сажей капроновую нитку, приподнять одной рукой нитку над доской и резко ее отпустить — пробить ровную линию.

Иллюстрация к книге — Полный справочник пчеловода [i_093.jpg]

Рис. 62. Разметка необрезной доски


Затем повторить операцию, разместив гвозди на равном расстоянии d относительно их предыдущего места. По полученным меткам отпилить лишние боковые части доски и получить обрезную доску.

Поскольку чаще всего ширины одной доски недостаточно для изготовления из нее стенки корпуса под рамки 435 × 230 мм, а тем более — 435 × 300 мм, заготовки придется сплачивать (то есть соединять боковыми кромками).

После соответствующей разметки производится отпиливание заготовок на торцовочном станке (чтобы торцы были строго под 90°), а потом и их чистовая фуговка.

Изготовление заготовок для стенок корпусов

После подбора заготовок, которые будут использованы для изготовления конкретной стенки корпуса (таких заготовок может быть две или даже три), их надо сплотить. Делается это так. Сначала фугуются начисто те боковые стороны (кромки) заготовок, которые при сплачивании будут соприкасаться друг с другом. Сплачивание лучше производить на клею в рейку и паз (рис. 63).

Иллюстрация к книге — Полный справочник пчеловода [i_094.jpg]

Рис. 63. Сплачивание заготовок


Обязательное условие качественного сплачивания заготовок: ширина (Ш) рейки должна быть меньше двойной глубины пазов d, то есть Ш < 2d. При этом условии сплачиваемые доски будут держаться не только на рейке, но и за счет склеивания плотно прилегающих кромок заготовок. Если это условие не будет выполнено, то заготовки невозможно будет плотно соединить кромками, поскольку будет мешать больша́я ширина рейки, и сплачивание не будет прочным.

По завершении этой операции соединяемые места смазываются водоупорным (обязательно!) клеем, в один паз вставляется рейка, а затем на нее своим пазом ставится сверху вторая заготовка и постукиванием молотка заготовки соединяются (сплачиваются) вместе. После этого полученную заготовку стенки улья надо положить на ровную поверхность и хорошо прижать сверху. По мере получения новых заготовок для стенок их накладывают друг на друга, обязательно прокладывая между ними бумагу. Под грузом заготовки оставляют на сутки до полного высыхания клея.

Следует помнить, что доски стенки улья (особенно зимой) находятся в очень тяжелых условиях эксплуатации. Связано это прежде всего с тем обстоятельством, что внутри улья влажность воздуха почти всегда больше, чем снаружи. Это приводит к неравномерному распределению влаги в древесине, и стенка улья может коробиться или растрескиваться. Для профилактики этого явления надо учитывать свойства древесины еще при изготовлении улья. Для этого по годичным кольцам на торце определяют, с какой стороны заготовки находится сердцевина дерева, и при сборке корпуса эту сторону ставят так, чтобы она находилась с внешней его стороны. За счет естественного коробления эта сторона доски будет стремиться принять выпуклую поверхность, но одновременно эта же доска за счет внутриульевой влаги будет набухать изнутри и начнет коробиться в обратном направлении. Силы, действующие на доску с внутренней и внешней сторон, взаимно погасятся. Деформация будет сведена к минимуму. В противном случае направления коробления совпадут и никаким способом не удастся избежать появления щелей в соединениях.

Суть описанного поможет понять рис. 64, на котором изображено естественное коробление доски после ее распиловки и сушки.

После высыхания заготовки надо еще немного подфуговать и после этого провести окончательную разметку стенки. Лучше всего это делать при помощи простейшего шаблона, который представляет собой лист тонкого металла с точными размерами необходимой стенки. При изготовлении шаблонов обязательно контролировать не только их внешние размеры, но и размеры обеих диагоналей, которые должны быть одинаковыми.

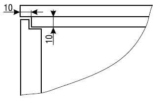
Точные размеры на заготовки лучше наносить остро отточенным карандашом средней твердости (СТ). После этого заготовки надо окончательно подработать фуговкой или тонким подпиливанием боком дисковой пилы. Затем для скрепления углов корпусов «вполдерева» в заготовках надо выбрать необходимые фальцы (рис. 65).

Иллюстрация к книге — Полный справочник пчеловода [i_095.jpg]

Рис. 64. Естественное коробление доски

Иллюстрация к книге — Полный справочник пчеловода [i_096.jpg]

Рис. 65. Скрепление углов «вполдерева», вид сверху

Реклама
Вход
Поиск по сайту
Ищем:
Календарь