Книга Вегетососудистая дистония. Самые эффективные методы лечения, страница 20 – Александра Васильева

Авторы: А Б В Г Д Е Ж З И Й К Л М Н О П Р С Т У Ф Х Ч Ш Ы Э Ю Я
Книги: А Б В Г Д Е Ж З И Й К Л М Н О П Р С Т У Ф Х Ц Ч Ш Щ Ы Э Ю Я
Бесплатная онлайн библиотека LoveRead.ec

Онлайн книга «Вегетососудистая дистония. Самые эффективные методы лечения»

📃 Cтраница 20

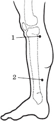
• Подушечкой большого пальца не менее 3 минут массируйте активную точку, расположенную на внутренней поверхности голени, в месте перехода ахиллова сухожилия в икроножную мышцу, выше верхнего края лодыжки на 7 см (рис. 3, точка 2).

Иллюстрация к книге — Вегетососудистая дистония. Самые эффективные методы лечения [i_003.jpg]

Рис. 3

Упадок сил

Для каждого человека очень важно уметь расслабиться, чтобы дать своему телу полноценный отдых. Однако не менее важно сохранить выносливость, которая помогает сохранить нормальную работоспособность организма в любой ситуации. Повысить свои физическую силу и эмоциональный тонус вы можете при помощи массажа активных точек.

• Первая активная точка располагается прямо в центре тыльной стороны кисти. При выполнении массажа этой точки нужно следить за дыханием. Сделайте глубокий вдох, затем на медленном выдохе массируйте эту точку и безымянный палец. Упражнение выполняйте не менее 10 раз.

• Вторая активная точка находится на 5–6 см ниже пупка. Массируйте ее также в течение 2 минут при помощи указательного пальца.

• Третья активная точка располагается посередине между основаниями указательного и большого пальцев (так называемая точка общего действия, массаж которой оказывает действие на весь организм). Приложите к этой точке шарик или бусину. Круговыми движениями раздражайте эту точку (30 движений для каждой руки).

Самомассаж головы и шеи

Самомассаж головы и шеи — это скорая помощь при головной боли, вызванной сужением сосудов. Он снимет мышечное напряжение, которое препятствует нормальному кровоснабжению головного мозга, и таким образом избавит от ощущения тяжести в голове. Делайте такой массаж при первых появившихся признаках головной боли или же с профилактической целью ежедневно. Обратите внимание на то, что при такого рода массаже ни в коем случае нельзя слишком сильно нажимать на боковые зоны шеи — так вы можете пережать сосуды и вызвать обморок. Дыхание во время массажа должно быть ровным и спокойным; нельзя задерживать вдох или выдох, так как при этом еще более нарушается отток крови от головы, и боль, соответственно, усиливается.

• Подушечками пальцев круговыми движениями (сначала по часовой стрелке, потом в обратном направлении) разминайте 2–3 минуты кожу головы от темени к вискам.

• Сделайте 7–8 проборов в направлении роста волос. Поставьте кончики всех пальцев обеих рук вдоль линии пробора, выполните 3–4 легких поглаживания ото лба к затылку, а затем и круговые движения со смещением и растягиванием кожи. Так следует массировать все проборы по направлению от макушки к вискам.

• Возьмите прядь волос и с силой потяните, пока не почувствуете легкую боль. «Обработайте» таким образом всю голову.

• Барабаньте подушечками пальцев по всей волосистой части головы, начиная от макушки и спускаясь к вискам и затылку.

• Массируйте круговыми движениями пальцев правой руки по часовой стрелке кожу головы там, где начинают расти волосы. Затем такое же количество времени проводите растирания затылка движениями вверх-вниз.

• Подушечками сомкнутых пальцев без нажима поглаживайте в течение примерно 1 минуты боковые поверхности шеи от подчелюстной области к ключицам. Лучше при этом сидеть в удобном кресле, откинув голову и опустив плечи.

• Интенсивно разминайте и пощипывайте брови, оттягивая их, в течение минуты.

• Массируйте лоб, положив на него ладони так, чтобы кончики пальцев соприкоснулись, до появления ощущения приятного тепла. Не растягивайте при этом кожу.

• Проведите мысленно линию, которая соединяет наружный угол глаза и место перехода верхней части ушной раковины с головой. Надавите тремя пальцами (указательным, средним и безымянным) на точки, расположенные вдоль этой линии с каждой стороны.

• В качестве массажного приема можно применять популярное в XIX веке растирание висков. Для этого используйте настойку валерианы, ментоловый карандаш или мятные капли.

Глава 4
Лечебная физическая культура

Лечебная физическая культура (ЛФК) — это несложный и вместе с тем весьма эффективный метод лечения ВСД, который широко применяется во всем мире. Лечебное действие ЛФК при ВСД обусловлено парадоксальной реакцией сердечно-сосудистой и нервной систем на физическую нагрузку у больных ВСД людей. Заключается эта парадоксальная реакция в том, что после физических нагрузок у пациентов с ВСД нормализуется артериальное давление и работа сердца, исчезают болезненные ощущения и нормализуется эмоциональный фон. Лечебная физкультура в комплексе с водными процедурами, коррекцией образа жизни и физиотерапией составляет «золотой квартет» лечения ВСД.

Ниже мы рассмотрим примерные комплексы упражнений для пациентов с ВСД.

Комплекс упражнений для пациентов с ВСД по гипертензивному типу

1. Исходное положение (И. п.) — сидя на стуле, руки на коленях, ладони вверх, пальцы рук веером. На счет 1 — сжать пальцы рук в кулак; одновременно, не отрывая пятки от пола, поднять стопы; на счет 2 — разжать пальцы, опустить стопы, поднять пятки. Повторить 12–16 раз.

2. И. п. — то же, ноги согнуты в коленях, колени расставлены широко. На счет 1 — руки в стороны (вдох); на счет 2 — руки положить на левое колено, локти прижать к туловищу (выдох); на счет 3 — руки в стороны (вдох); на счет 4 — руки положить на правое колено, локти прижать к туловищу (выдох). Повторить 4–6 раз.

3. И. п. — то же, руками держаться за стул сзади. На счет 1 — выпрямить правую ногу; на счет 2 — вернуть правую ногу в и. п.; на счет 3 — выпрямить левую ногу; на счет 4 — вернуть левую ногу в и. п.; на счет 5–8 проделать те же движения, но при этом ноги должны быть приподняты над полом. Повторить 4–6 раз.

4. И. п. — то же. На счет 1 — руки к плечам; на счет 2 — руки в стороны; на счет 3 — руки к плечам; на счет 4 — руки опустить. Повторить 6–8 раз.

5. И. п. — то же, держась руками сзади за стул. На счет 1 — развести согнутые в локтях руки в стороны (вдох); на счет 2 — соединить руки согнутые в локтях (выдох). Повторить 4–6 раз.

6. И. п. — то же, на счет 1 — поднять левую ногу, согнутую в колене; на счет 2 — выпрямить; на счет 3 — согнуть; на счет 4 — опустить; на счет 5–8 — проделать то же правой ногой. Повторить 4–6 раз.

7. И. п. — сидя на краю стула. На счет 1 — руки развести в стороны (вдох); на счет 2 — прижать согнутую в колене левую ногу к груди, обхватить руками (выдох); на счет 3 — руки в стороны (вдох), опустить левую ногу; на счет 4 — прижать правую ногу (выдох). Повторить 4–6 раз.

8. И. п. — сидя на стуле, руки к плечам, пальцы касаются плеч. На счет 1 — круговые движения руками вперед; на счет 2 — круговые движения руками назад (по 6–8 раз).

9. И. п. — сидя на краю стула, руки на коленях. На счет 1 — поднять левую руку и правую ногу вверх; на счет 2 — опустить их; на счет 3 — поднять правую руку и левую ногу вверх; на счет 4 — опустить их в и. п. Повторить 6–8 раз.

Вход
Поиск по сайту
Ищем:
Календарь