Онлайн книга «Силовой тренинг. Как нарастить силу, занимаясь без тренера»
|
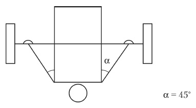
Техника выполнения жима лежа в тяжелой атлетике: • Атлет лежит на скамье прямо, без прогибов. • Штангу берут средним хватом (на ширине плеч). • Во время движения вниз и вверх локти прижимают к корпусу. • Скорость выполнения упражнения достаточно высокая. В нижней точке происходит «отбой» штанги от груди. Техника выполнения жима лежа в бодибилдинге. В бодибилдинге жим лежа также не является соревновательным упражнением. Он используется лишь для увеличения массы и объема грудных мышц (для проработки трицепсов и дельт используется жим лежа узким хватом). Чтобы максимально нагрузить мышцы груди, хват штанги выбирают шире среднего. Атлет лежит на скамье ровно, без прогиба спины, так, чтобы исключить «читинг». Во время жима локти разводят максимально широко – это основное требование, выполнение которого позволяет наибольшую нагрузку грудных мышц. Темп движения выбирают средний или медленный – для максимально возможной «прокачки» мышц. В жиме лежа, как и во всех других упражнениях, бодибилдеры используют принцип изоляции, то есть стараются, по возможности, нагружать одну основную мышцу и исключать из работы все остальные. И хотя жим лежа является «базовым» упражнением и задействует достаточно большое количество мышц, их количество в бодибилдинге стараются минимизировать. Техника исполнения жима лежа в пауэрлифтинге. Главная цель этого соревновательного упражнения – поднять максимальный вес на один раз. Это значит, что необходимо использовать все возможные технические приемы, допускаемые правилами соревнований. А именно: • необходимо до минимума уменьшить амплитуду движения, так как поднимаемый вес (максимальный) обратно пропорционален амплитуде; • чтобы поднять максимальный вес в упражнении, необходимо подключить наибольшее число мышц; • упражнение необходимо выполнять равномерно, без ускорений, а значит, в медленном темпе. Исходя из этих трех положений можно сформулировать технику выполнения жима лежа (рис. 10). Сначала рассмотрим, как можно уменьшить амплитуду движения. Самый простой способ – увеличить ширину хвата (рис. 11). Как видно из рисунка, максимальная амплитуда движения равна длине руки (если хват на ширине плеч). Чем шире хват штанги, тем меньше h, а значит, тем больший вес мы можем поднять. ![]() Рис. 10. Варианты выполнения жима лежа ![]() Рис. 11. Увеличение ширины хвата для уменьшения амплитуды движения штанги Международной федерацией пауэрлифтинга принято следующее правило: расстояние между кистями (их внутренней частью) не должно превышать 81 см. Таким образом, 81 см – максимально широкий хват. И если раньше вы жали средним хватом, рекомендуется поменять его на максимальный! Сначала вы будете испытывать неудобство, но со временем это поможет вам существенно увеличить результат в жиме лежа. Это не единственный способ уменьшить амплитуду движения. Существует другой, не столь очевидный метод (рис. 12). Как видно из этого рисунка, грудь можно приподнять над скамьей за счет гибкости позвоночника (сделать «мост»). Таким образом, амплитуда движения уменьшится на величину hа – hб = h. И эта величина может быть достаточно значительной: главное состоит в том, что со временем, увеличивая гибкость позвоночника, вы сможете значительно уменьшить амплитуду движения и увеличить поднимаемый вес! ![]() Рис. 12. «Мост» для уменьшения амплитуды движения штанги Этот технический прием никак не ограничен правилами, в соответствии с которыми к скамье должны быть прижаты лишь голова, плечи и ягодицы. А такой «мост», как на рис. 12, б, отвечает этим правилам. Единственная ошибка, которая вас здесь подстерегает, состоит в следующем: при жиме штанги вверх появляется настойчивое желание подтолкнуть штангу грудью, оторвав при этом ягодицы от скамьи. Теперь разберемся, как подключить наибольшее число мышц к движению. Здесь следует учитывать несколько важных моментов: а) если локти при жиме лежа прижаты к корпусу, то максимально нагружены дельты и трицепс; б) если локти максимально разведены, то нагружены грудные мышцы. Таким образом, следует выбрать такое положение локтей, при котором нагрузка будет равномерно распределяться между всеми группами мышц: грудными, передним пучком дельты и трицепсом. Это будет положение, в котором угол между корпусом и плечевой костью будет составлять около 45° (рис. 13). Если повнимательней присмотреться к положению атлета, лежащего на «мосту», то можно заметить, что в этом положении при жиме лежа значительно возрастает нагрузка на широчайшие мышцы спины (но только при условии, что он держит локти под углом 45°, а не разводит их широко). И хотя широчайшие мышцы спины задействованы лишь косвенно, однако за счет их силы и мощи существенно снижается нагрузка на другие, непосредственно работающие мышцы. Это, в свою очередь, позволяет поднять больший вес. ![]() Рис. 13. Выбор положения локтей для равномерного распределения нагрузки Кроме того, в этом положении напряжены мышцы ног и спины. Атлет как бы стоит на ногах и плечах, лишь касаясь ягодицами скамьи. Это обеспечивает, во-первых, значительную устойчивость спортсмена, а во-вторых, позволяет сделать «читинг» тазом, то есть немного «отбить» и толкнуть штангу грудью. И хотя на соревнованиях это запрещено, но на тренировке данное движение позволяет сделать пару дополнительных «сверхповторений» или поднять больший вес! Это скажется на конечном результате, потому что имеет место так называемая психологическая установка на уверенность в себе! Еще одно преимущество, которое дает «мост» в жиме лежа. Как известно, грудные мышцы делятся на верхний, средний и нижний пучки. Верхний пучок является самым слабым, средний чуть сильнее, и самый сильный нижний. Когда вы жмете лежа, стоя на «мосту», то максимально включается именно нижний, наиболее мощный, пучок груди. Это означает, что имеет место выигрыш в несколько килограммов! Сформулируем основные положения для жима лежа: • Атлет должен упираться ногами в пол и плечами в скамью, лишь касаясь ягодицами скамьи, то есть делать «мост». При этом следует стараться «подтянуть» плечи как можно ближе к тазу. |
![Иллюстрация к книге — Силовой тренинг. Как нарастить силу, занимаясь без тренера [i_024.jpg] Иллюстрация к книге — Силовой тренинг. Как нарастить силу, занимаясь без тренера [i_024.jpg]](img/book_covers/071/71179/i_024.jpg)
![Иллюстрация к книге — Силовой тренинг. Как нарастить силу, занимаясь без тренера [i_025.jpg] Иллюстрация к книге — Силовой тренинг. Как нарастить силу, занимаясь без тренера [i_025.jpg]](img/book_covers/071/71179/i_025.jpg)
![Иллюстрация к книге — Силовой тренинг. Как нарастить силу, занимаясь без тренера [i_026.jpg] Иллюстрация к книге — Силовой тренинг. Как нарастить силу, занимаясь без тренера [i_026.jpg]](img/book_covers/071/71179/i_026.jpg)
![Иллюстрация к книге — Силовой тренинг. Как нарастить силу, занимаясь без тренера [i_027.jpg] Иллюстрация к книге — Силовой тренинг. Как нарастить силу, занимаясь без тренера [i_027.jpg]](img/book_covers/071/71179/i_027.jpg)