Книга Пулеметы России. Шквальный огонь, страница 98 – Семен Федосеев

Авторы: А Б В Г Д Е Ж З И Й К Л М Н О П Р С Т У Ф Х Ч Ш Ы Э Ю Я
Книги: А Б В Г Д Е Ж З И Й К Л М Н О П Р С Т У Ф Х Ц Ч Ш Щ Ы Э Ю Я
Бесплатная онлайн библиотека LoveRead.ec

Онлайн книга «Пулеметы России. Шквальный огонь»

📃 Cтраница 98

Порядок неполной разборки СГ

Сдвинуть защелку приемника механизма подачи, поднять крышку приемника вертикально и, приподняв основание приемника, отделить извлекатель.

Сдвинуть защелку затыльника назад, утопив ее стопор, повернуть затыльник вправо на четверть оборота и отделить его вместе с возвратно-боевой пружиной. Отделить пружину.

Отделить спусковой механизм от ствольной коробки, сдвигая его назад.

За рукоятку перезаряжания отвести подвижную систему назад и извлечь ее из ствольной коробки. Отделить рукоятку, поворачивая ее вверх.

Отделить ползун от ствольной коробки.

Сдвигая нижнюю планку ствольной коробки назад, снять ее с коробки.

Выбить ось крышки и основания приемника и отделить их от ствольной коробки.

Отделить ствол, для чего нажать на защелку замыкателя и сдвинуть последний влево до отказа.

Отделить газовый регулятор от газовой камеры, предварительно сдвинув его легким ударом.

Сборка производится в обратном порядке.

ТАКТИКО-ТЕХНИЧЕСКИЕ ХАРАКТЕРИСТИКИ СГ

Патрон — 7,62×54R (7,62-мм обр. 1908 г.).

Масса «тела» пулемета — 14,6 кг.

Масса пулемета на станке со щитом — 44,5 кг.

Масса ствола — 4,1 кг.

Длина «тела» пулемета — 1150 мм.

Длина ствола — 720 мм.

Длина пулемета на станке для стрельбы в положении лежа — 1700 мм.

Число нарезов — 4.

Тип нарезов — правосторонние.

Длина хода нарезов — 240 мм.

Начальная скорость пули — 865 (легкая) и 800 (тяжелая) м/с.

Прицельная дальность — 2000 (легкая пуля) и 2300 (тяжелая пуля) м.

Дальность прямого выстрела по грудной фигуре высотой 50 см — 440 м, по бегущей фигуре высотой 150 см — 670 м.

Дальность, до которой сохраняется убойное действие пули, — 3800 м.

Предельная дальность полета пули — 5000 м.

Длина прицельной линии — 855 мм.

Эффективная дальность стрельбы — 1000 м.

Темп стрельбы — 600–700 выстр./мин.

Боевая скорострельность — 200–250 (предельно — 350) выстр./мин.

Питание — металлическая лента на 50 и 250 патронов или холщовая на 250 патронов.

Масса коробки с лентой на 250 патронов — 10,25 кг.

Тип станка — пехотный колесный универсальный, системы Дегтярева — Гаранина.

Масса станка — 29,9 кг.

Высота линии огня — 500 мм (наземная стрельба) и 1460 мм (зенитная стрельба).

Длина станка — 1300 мм, с подогнутой стрелой — 1000 мм.

Расчет — 3 человека.

Станковый пулемет Горюнова модернизированный (СГМ)

При модернизации пулемета СГ в него внесли следующие изменения:

— введен замыкатель ствола с микрометром и шкалой, позволявшей регулировать зазор между пеньком ствола и зеркалом затвора;

— установлен ствол с продольными ребрами радиатора охлаждения — такой ствол ставился на пулемет уже в 1943 г., но оказался тогда сложен в производстве;

— установлен газовый регулятор, переставляемый без помощи ключа;

— крепление рукоятки ствола позволило производить его первоначальный сдвиг при отделении от ствольной коробки (у СГ-43 перегретый казенник ствола иногда заклинивало в ствольной коробке);

— упразднена рамка приемника как отдельная деталь (при обслуживании пулемета в зенитном положении она часто выпадала); вырезы и скосы горловины приемника, фиксировавшие патрон в положении для досылания, перенесены с рамки на ствольную коробку; правда, без отдельной рамки работа системы подачи патрона стала несколько «жестче» — патрон сажался на дно приемника с ударом;

— горловина приемника и окно ствольной коробки для выброса гильз снабжены подпружиненными откидными пылезащитными крышками — это удачное решение будет впоследствии повторено на ПК;

— основание приемника укорочено;

— установлена более надежная трехперая пружина крышки приемника;

— улучшена конструкция спускового механизма, рукоятка заряжания перенесена снизу на правую сторону ствольной коробки;

— повышено удобство пользования целиком боковых поправок прицела, уменьшена цена деления шкалы боковых поправок;

— крепление затыльника штифтом заменено на сухарное;

— изменено крепление пулемета под эксцентрик нового станка.

Иллюстрация к книге — Пулеметы России. Шквальный огонь [i_232.jpg]

Станковый пулемет СГМ на треножном станке Малиновского — Сидоренко

Иллюстрация к книге — Пулеметы России. Шквальный огонь [i_233.jpg]

«Тело» станкового пулемета СГМ с патронной лентой

Модернизация не устранила такой недостаток, как поперечные разрывы гильз (только переход в ПК к короткому симметричному узлу запирания с предварительным страгиванием гильзы при отпирании позволил решить эту проблему). Так что ручной извлекатель остался для расчета важным приспособлением.

На СГМ был отработан процесс повышения живучести ствола изготовлением его из высоколегированных сталей и покрытием стенок канала сравнительно толстым слоем хрома. Живучесть ствола повысилась в 3–4 раза.

Модернизированный пулемет был принят с новыми наземными станками. Колесный станок обр. 1946 г. был разработан Г.С. Гараниным и В.Г. Селезневым еще в 1944 г. для пулемета «Максим», но в связи с прекращением производства последнего передан для СГМ. Он вобрал в себя черты станка Соколова и станка Дегтярева — Гаранина. Вертлюг получил вместо шкворневого эксцентриковое крепление, щит не устанавливался — опыт войны лишь подтвердил, что вместо защиты он демаскирует расчет пулемета. Амортизатор люльки повышал устойчивость при стрельбе. Масса станка уменьшилась с 26,6 до 23,4 кг, пулемета со станком — с 40,4 до 36,9 кг, относительная масса станка — с 1,93 до 1,73. Возможность зенитной стрельбы оставалась — для этого станок также опрокидывался вперед, а на конце хобота крепили вертлюг; передней точкой опоры при этом служила люлька станка. Как и с предыдущим станком, такое зенитное положение было малоустойчивым из-за сильного раскачивания станка.

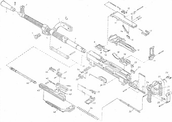
Иллюстрация к книге — Пулеметы России. Шквальный огонь [i_234.jpg]

Детали и сборки пулемета СГМ: 1 — пламегаситель, 2 — мушка с основанием, 3 — газовый регулятор, 4 — газовая камера с патрубком, 5 — ручка ствола, 6 — газовая трубка, 7 — ствол, 8 — вкладыш, 9 — ствольная коробка, 10 — пружина, 11 и 16 — крышка и основание приемника, 12 — фиксирующие пальцы подачи, 13 — защелка крышки, 14 — снижатель патрона, 15 — клин, 17 — прицельная рамка с целиком, 18 — пружина рамки, 19 — основание прицела, 20 — кулачок, 21 — шептало, 22 — корпус спускового механизма, 23 — выключатель, 24 — затыльник ствольной коробки, 25 — пружина предохранителя, 26 — предохранитель, 27 — защелка затыльника, 28 — пусковой рычаг, 29 — толкатель выключателя, 30 — направляющий стержень, 31 — предохранительная крышка, 32 — подающие пальцы, 33 — ползун подачи, 34 — возвратно-боевая пружина, 35, З6 и 37 — хомутик, защелка и основание замыкателя, 38 — движок, 39 — затвор, 40 — ударник, 41 — рукоятка перезаряжания, 42 — затворная рама, 43 — выбрасыватель, 44 — извлекатель патрона, 45 — шток с поршнем

Реклама
Вход
Поиск по сайту
Ищем:
Календарь