Онлайн книга «Заготавливаем птицу, мясо, рыбу. Копчение, консервирование, вяление, приготовление колбас»
|
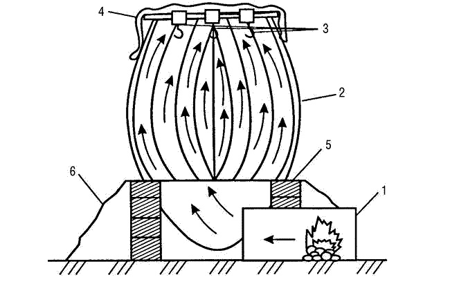
Исходя из размеров стенок, определяется площадь дна. Стороны днища должны быть на 4 см больше габаритных размеров стенок. По углам днища необходимо вырезать квадраты 2 × 2 см (рис. 10). ![]() Рис. 10. Днище походной коптильни После этого выступающие на 2 см части нужно загнуть вверх под прямым углом, сформировав бортики-опоры, в которые впоследствии будут вставляться четыре стенки конструкции. В местах соединения днища с боковыми стенками следует просверлить сквозные отверстия (рис. 11). ![]() Рис. 11. Подгонка стенок походной коптильни Сначала рекомендуется сделать это с одной стороны, закрепить конструкцию болтами, а потом повторить операцию с другой стороны. Лучше использовать болты диаметром 6 мм с барашковыми гайками (рис. 12). ![]() Рис. 12. Походная коптильня в собранном виде Внутреннее оснащение коптильни заключается в установке креплений для решетки или прутьев. Для этих целей можно использовать строительный уголок, П-образный швеллер и другие подходящие материалы. Под каждое крепление на длинных стенках коптильни нужно просверлить по два отверстия и зафиксировать детали винтами или использовать заклепочный пистолет. Для коптильни понадобится крышка. Ее можно изготовить из фанеры или ДВП, при этом ее размеры должны быть на 3–4 см больше габаритов короба. Практичную крышку с бортиками можно сделать по той же схеме, что и дно, только использовать более тонкие металлические листы. Дополнительно к ней нужно приделать ручку и просверлить несколько отверстий для обеспечения тяги и регулировки температуры. Если такую коптильню разобрать, она будет занимать место, равное площади боковой стенки. Осталось нарезать прутки, на которых будут лежать продукты. Для этой цели понадобится проволока из нержавейки диаметром 2,5–3,5 мм. Ее нужно нарезать на куски, длина которых на 5 мм меньше, чем внутренняя ширина короба. Подойдет и готовая решетка, стороны которой будут на 4–7 мм меньше внутреннего размера коптильни. Металлические спицы могут пригодиться, если возникнет необходимость подвешивать рыбу массой 100–150 г, чтобы тушки не соприкасались друг с другом (рис. 13). ![]() Рис. 13. Расположение мелкой рыбы Более крупную рыбу, окорочка, колбасы и куски мяса следует класть на прутки или на решетку (рис. 14). ![]() Рис. 14. Расположение крупной рыбы Подготовка такой конструкции к копчению очень проста. На дно коптильни укладывают слой опилок толщиной 5–7 см. На нижний ярус решетки кладут более крупные продукты, на верхний – мелкие. Конструкцию накрывают крышкой и устанавливают над раскаленными углями на камнях или кирпичах. При желании коптильню можно оборудовать регулируемыми ножками. Процесс копчения занимает от 30 до 70 мин в зависимости от размера продуктов. В начале копчения следует поддерживать среднюю температуру, чтобы изделия немного подсушились, а затем температуру повышают, чтобы изделия не только прокоптились, но и прошли термообработку. Чтобы контролировать процесс, можно периодически поднимать крышку. Первый признак того, что все идет по плану, – плотный белый дым внутри всего пространства под крышкой. Оценивать ситуацию нужно быстро и не держать долго крышку открытой. От притока кислорода тлеющие на дне щепки могут воспламениться и продукты подгорят. На подгорание указывает также желтоватый дым внутри коптильни. По окончании процесса заложенное мясо или рыба должны приобрести специфический приятный аромат и золотисто-коричневую окраску. Одним из самых простых и эффективных способов организовать за пару часов хорошую коптильню является использование бочки. Причем подойдет и деревянная (рис. 15), и металлическая. Главное – она должна быть неокрашенная и чистая. ![]() Рис. 15. Коптильня из деревянной бочки: 1 – топка с направлением выхода дыма; 2 – корпус бочки без дна; 3 – вешала; 4 – крышка бочки с мелкими отверстиями для дыма; 5 – кирпичи; 6 – слой земли для защиты очага и низа бочки от утечки дыма и тепла Для сооружения такой коптильни у бочки следует вынуть дно, а металлическую – еще и прокалить. Сверху бочку закрывают крышкой с отверстиями и накрывают грубой тканью, сложенной в несколько слоев, или мешковиной. Конструкцию устанавливают на топку – яму глубиной около 70 см и площадью 1 × 1,5 м. Стены топки можно выложить кирпичом, чтобы бочка была более устойчивая. Перед ямой обустраивают очаг. В нем разводят огонь, а у самого основания бочки устанавливают поддон с коптильной смесью из щепы, опилок, тонких веток. Во время копчения нужно следить, чтобы опилки не загорелись, ведь температура внутри бочки может достигать 90—100 °C. Сырье подвешивают внутри бочки на прутьях и крюках вверху, под крышкой. Время копчения зависит от размера кусков мяса и рыбы и может колебаться от 3 до 6 часов. Еще один вариант – коптильня из стальной бочки с пеналом. Для ее изготовления модернизируют металлическую бочку-коптильню, добавляя к ней пенал для опилок (рис. 16). ![]() Рис. 16. Коптильня из стальной бочки с пеналом, вкрученным в днище: |
![Иллюстрация к книге — Заготавливаем птицу, мясо, рыбу. Копчение, консервирование, вяление, приготовление колбас [_13.jpg] Иллюстрация к книге — Заготавливаем птицу, мясо, рыбу. Копчение, консервирование, вяление, приготовление колбас [_13.jpg]](img/book_covers/063/63906/_13.jpg)
![Иллюстрация к книге — Заготавливаем птицу, мясо, рыбу. Копчение, консервирование, вяление, приготовление колбас [_14.jpg] Иллюстрация к книге — Заготавливаем птицу, мясо, рыбу. Копчение, консервирование, вяление, приготовление колбас [_14.jpg]](img/book_covers/063/63906/_14.jpg)
![Иллюстрация к книге — Заготавливаем птицу, мясо, рыбу. Копчение, консервирование, вяление, приготовление колбас [_15.jpg] Иллюстрация к книге — Заготавливаем птицу, мясо, рыбу. Копчение, консервирование, вяление, приготовление колбас [_15.jpg]](img/book_covers/063/63906/_15.jpg)
![Иллюстрация к книге — Заготавливаем птицу, мясо, рыбу. Копчение, консервирование, вяление, приготовление колбас [_16.jpg] Иллюстрация к книге — Заготавливаем птицу, мясо, рыбу. Копчение, консервирование, вяление, приготовление колбас [_16.jpg]](img/book_covers/063/63906/_16.jpg)
![Иллюстрация к книге — Заготавливаем птицу, мясо, рыбу. Копчение, консервирование, вяление, приготовление колбас [_17.jpg] Иллюстрация к книге — Заготавливаем птицу, мясо, рыбу. Копчение, консервирование, вяление, приготовление колбас [_17.jpg]](img/book_covers/063/63906/_17.jpg)
![Иллюстрация к книге — Заготавливаем птицу, мясо, рыбу. Копчение, консервирование, вяление, приготовление колбас [_18.jpg] Иллюстрация к книге — Заготавливаем птицу, мясо, рыбу. Копчение, консервирование, вяление, приготовление колбас [_18.jpg]](img/book_covers/063/63906/_18.jpg)
![Иллюстрация к книге — Заготавливаем птицу, мясо, рыбу. Копчение, консервирование, вяление, приготовление колбас [_19.jpg] Иллюстрация к книге — Заготавливаем птицу, мясо, рыбу. Копчение, консервирование, вяление, приготовление колбас [_19.jpg]](img/book_covers/063/63906/_19.jpg)