Книга Здоровая русская кухня, страница 170 – Марина Успенская, Людмила Антипова

Авторы: А Б В Г Д Е Ж З И Й К Л М Н О П Р С Т У Ф Х Ч Ш Ы Э Ю Я
Книги: А Б В Г Д Е Ж З И Й К Л М Н О П Р С Т У Ф Х Ц Ч Ш Щ Ы Э Ю Я
Бесплатная онлайн библиотека LoveRead.ec

Онлайн книга «Здоровая русская кухня»

📃 Cтраница 170

Можно также рекомендовать коптильни для горячего (рис. 2Б) и холодного копчения (рис.2В).

Иллюстрация к книге — Здоровая русская кухня [i_162.jpg]
Иллюстрация к книге — Здоровая русская кухня [i_163.jpg]
Иллюстрация к книге — Здоровая русская кухня [i_164.jpg]

Рис. 2.

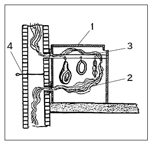
А. Коптильня на чердаке:

1 – коптильня; 2 – нижний ход с заслонкой; 3 – верхний ход с заслонкой; 4 – заслонка в дымоходе

Б. Коптильня для горячего копчения:

1 – железный лист с отверстиями; 2 – камин; 3 – крышка с мелкими отверстиями для прохода дыма; 4 – слой земли

В. Коптильня для холодного копчения:

1 – очаг; 2 – дымоход; 3 – железный лист с отверстиями

Иллюстрация к книге — Здоровая русская кухня [i_165.jpg]
Иллюстрация к книге — Здоровая русская кухня [i_166.jpg]
Иллюстрация к книге — Здоровая русская кухня [i_167.jpg]

Рис. 3. Малогабаритные электрокоптильни

Иллюстрация к книге — Здоровая русская кухня [i_168.jpg]
Иллюстрация к книге — Здоровая русская кухня [i_169.jpg]
Иллюстрация к книге — Здоровая русская кухня [i_170.jpg]

Рис. 4. Малогабаритные электрокоптильни


В коптильне для холодного копчения от очага к бочке прорывают канаву длиной около 2 м. Сверху канаву прикрывают досками или другим подручным материалом, а поверх их насыпают землю. Боковые стенки канавы можно укрепить от осыпания земли камнями, жердочками и т. п. Проходя через дымоход, дым охлаждается, в результате можно коптить мясо при невысоких температурах (20–30 °С). Вместо бочек можно использовать просторные ящики, снабдив их для удобства развешивания и съема продуктов плотно прикрывающимися дверцами. Для этой же цели можно приспособить любое пустующее помещение (будку, баню, сарай).

Если предполагается частое копчение с изготовлением большого ассортимента копченых изделий, то лучше всего построить специальную небольшую, но более совершенную и удобную для работы коптильню. Ее можно соорудить из любого имеющегося материала – камня, горбыля, кирпича, плетня, тростника и т. п. Для большей устойчивости от огня при использовании таких материалов, как тростник, плетень и другие, стенки коптилен нужно обмазать глиной, а еще лучше оштукатурить. Во всех случаях надо стремиться к тому, чтобы стенки не пропускали дыма. Для приготовления изделий горячего копчения, особенно в зимнее время, желательно стенки коптильни утеплить, тогда в ней легче будет поддерживать необходимый режим копчения, от которого зависит качество готовых продуктов.

Более совершенная домашняя коптильня имеет следующее устройство. Размеры (длина и ширина) произвольные. Они выбираются с учетом наличия материала для ее постройки и объема выпускаемой продукции. Высота коптильни выбирается с учетом расстояния от очага до продуктов (не менее 1,25–1,5 м) и расстояний между ярусами 50–70 см. Между последним ярусом и крышей коптильни расстояние должно быть около 25–35 см. В нижней части камеры в непосредственной близости от очага укрепляют лист железа с большим количеством дырок (½–1,0 см в диаметре) для равномерного распределения дыма по всей камере. Этой же цели служит ложный потолок в верхней части камеры в виде сплошного листа железа.

В хорошо оборудованной коптильне по краям ложного потолка устраивают желобки с выходом наружу для стока конденсирующейся влаги, которая может стекать из дымоходной трубы при резком перепаде температуры внутри камеры и наружным воздухом. Следует также предусмотреть отверстие для термометра в стенке камеры, по нему можно следить за температурой дыма, что особенно важно при горячем копчении. Количество дыма и степень горения дров регулируют большим или меньшим доступом воздуха с помощью нижней и верхней заслонок.

В настоящее время для домашнего копчения выпускаются малогабаритные электрокоптильни для полугорячего и холодного копчения мясных и рыбных продуктов. Загрузка продуктов не более 20 кг, время копчения: полугорячее – 18–32 часа, холодное – 36–72 часа. Можно коптить мясные продукты в банях без дымоходов (в каминах). Продукты развешивают под потолком и топят камин в течение 2–3 дней. В топке камина сжигают медленногорящие дрова, куда добавляют вереск, можжевельник, пряные травы. Копчености получаются самого высокого качества, с отличным вкусом, запахом, цветом.

Если продукты предполагается еще и варить, то их коптят горячим способом с температурой дыма 40–60 °С в течение 10 часов. Затем прокопченый продукт варят, например, в большой кастрюле в предварительно нагретой до кипения воде. В дальнейшем при варке поддерживают температуру воды около 80–85 °С. Продолжительность варки зависит от величины продукта: на каждый килограмм продукта требуется примерно 40–50 минут.

Приложение 4
Общие рекомендации по приготовлению колбасных изделий из свинины и говядины в домашних условиях

Подготовка фарша и кишок

В домашних условиях можно успешно изготавливать самые разнообразные колбасные изделия: колбасы вареные, полукопченые, копченые, ливерные, кровяные, зельцы, мясные хлеба и др.

Для колбасных изделий используются нежирная говядина и свинина.

Из мяса, предназначенного для колбас, удаляют пленки и сухожилия. Говядину освобождают от жира. Мясо используют в любом состоянии: парном, остывшем, охлажденном, замороженном. Лучше всего использовать охлажденное мясо. Колбасы высших сортов готовят из говядины, вырезанной из окороков, лопаток, спинной мышцы. К ним добавляют нежирную свинину. Для колбас 1 сорта используют говядину, в которой незначительное количество (не более 6%) соединительной и жировой ткани, и свинину с содержанием жира до 40%. Все остальные части туши (пашина, рульки, голяшки и др.) идут на приготовление колбас второго сорта.

Подготовка кишок. Если кишки при разделке туш были обработаны и засолены, их надо замочить в теплой воде на несколько часов. Если кишки используют сразу же после забоя скота, то сначала разделяют комплект кишок, для чего их надо поместить в большой таз или корыто, отделить мочевой пузырь вместе с шейкой, отжать из него содержимое. Затем в него вливают через воронку воду и вновь отжимают. Процедуру повторяют 2–3 раза. Потом отделяют тонкие кишки (черева) с участка, ближайшего к желудку, расположив оттоку так, чтобы ее часть свисала через край посуды. Левой рукой черева оттягивают, а правой осторожно ножом срезают брыжейку, опуская кишку в кастрюлю с водой. Тонкую кишку длиной 30–40 м разрезают на две равные части (каждую из которых складывают вдвое) и отжимают содержимое, пропуская кишки между зажатыми пальцами от середины к открытым концам, а потом опять к середине. Надрезав ножом середину кишки, выпускают содержимое через образовавшееся отверстие. Пользуясь этим же отверстием, кишку промывают 2–3 раза чистой холодной водой. Затем ее выворачивают и очищают от слизистой оболочки, натирая солью и соскабливая тупой стороной ножа на гладкой доске.

Реклама
Вход
Поиск по сайту
Ищем:
Календарь