Книга Лучшие модели на любую фигуру без примерок и подгонок, страница 80 – Галия Злачевская

Авторы: А Б В Г Д Е Ж З И Й К Л М Н О П Р С Т У Ф Х Ч Ш Ы Э Ю Я
Книги: А Б В Г Д Е Ж З И Й К Л М Н О П Р С Т У Ф Х Ц Ч Ш Щ Ы Э Ю Я
Бесплатная онлайн библиотека LoveRead.ec

Онлайн книга «Лучшие модели на любую фигуру без примерок и подгонок»

📃 Cтраница 80

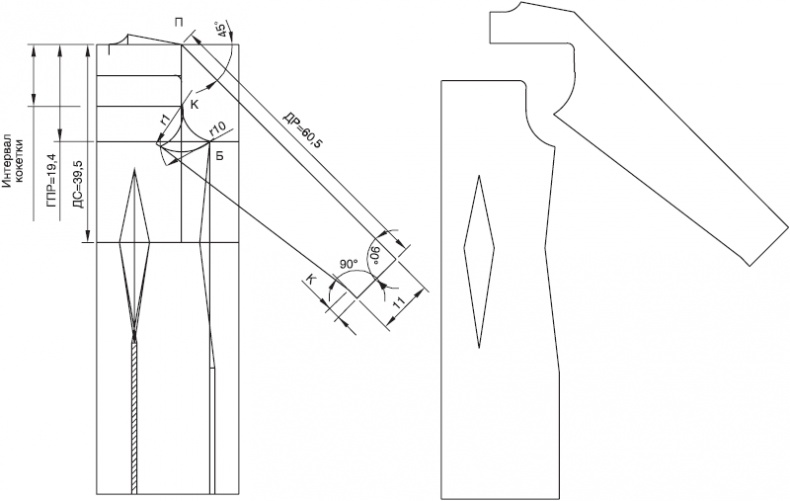
Желаемая ширина по линии низа в готовом изделии 20 см.

(20 – 2) : 2 = 9 см ширина рукава по линии низа на полочке, 11 см ширина рукава спинки.

Под прямым углом к линии низа строим перпендикуляр размером К. На этом построение рукава оставляем.

Возвращаемся к участку проймы. Для нахождения точки касания К полученную глубину проймы модельную разбиваем в пропорциях золотого сечения, 7,4. Откладываем эту величину от линии проймы вверх. Выполняем циркулем сопряжение точек К и Б. Радиус сопряжения 7,4 см.

Поставив ножку циркуля в точку К, радиусом r1 = КБ проведем вниз и влево дугу. Из точки Б проведем вторую дугу r2 = 10 см. Точку пересечения двух дуг соединяем с низом рукава. Радиус второй дуги зависит от угла наклона рукава, а не от параметров фигуры.

Так, при угле наклона рукава в 45 градусов радиус дуги равен 10 см, при угле в 30 градусов радиус должен быть равен 5 см. На выбор радиуса второй дуги оказывает влияние также полнота руки и свойства выбранной ткани. Например, при полной руке угол наклона рукава необходимо взять 30 градусов, оставив при этом радиус дуги 7,5 или 10 см.

Далее по расчетам стыковки оформим талиевую и боковую вытачки. Вершину талиевой вытачки на спинке определим как ДСТ х 0,38 = 39,5 х 0,38 = 15 см.

Положение талиевой вытачки на горизонтали талии может быть произвольным.

Нанесем на чертеж линию погона. Она должна быть параллельна линии плеча и пересекать горловину. Ширина погона определяется модельными особенностями изделия. На нашем чертеже линия погона прорисована светлым контуром.

Переход погона в рукав может производиться под углом или плавной линией с разной степенью кривизны.

Спинка построена. На чертеже справа детали кроя прорисованы отдельно.

Поскольку в нашем примере величина нахлеста сзади не превышает 1 см, а прибавка по бедрам составляет 3 см, мы можем отказаться от рельефа, заменив его вытачкой.

Построение полочки

Чертеж «Реглан-погон. Построение полочки»

Иллюстрация к книге — Лучшие модели на любую фигуру без примерок и подгонок [i_198.jpg]

Реглан-погон. Построение полочки

Иллюстрация к книге — Лучшие модели на любую фигуру без примерок и подгонок [i_199.jpg]

Реглан-погон. Построение полочки


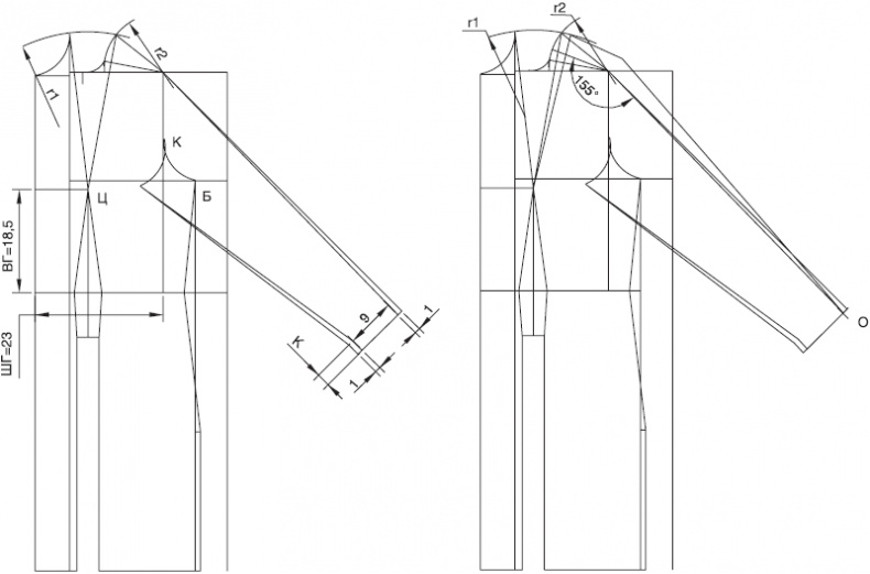
Построение полочки выполняем на чертеже спинки. Найдем пересечение линии талии и вертикали проймы. Отложим от полученной точки вправо ширину груди. Вверх откладываем значение ДПЛ – (ШГРЛ + К : 2), получая линию середины переда. Значение в скобках равно глубине ростка по полочке. Вычертим горловину полочки. ШГРЛ = 6,2 см, глубина ростка 7,4 см. Найдем наиболее выпуклую точку груди, обозначим ее буквой Ц.

Соединим точку основания шеи и точку Ц, получая левую сторону нагрудной вытачки. Правую сторону нагрудной вытачки получаем на пересечении двух вспомогательных дуг. Первая r1, центр в точке Ц, раствор от Ц до основания шеи. Вторая дуга r2. Радиус второй дуги равен ширине плеча. На пересечении вспомогательных дуг r1 и r2 получаем точку, являющуюся концом правой стороны нагрудной вытачки.

Оформляем талиевую вытачку по расчету стыковки так, как показано на чертеже.

Линия бокового шва совпадает с линией бокового шва спинки.

Угол между линией плеча и линией наклона рукава должен составлять 150-160 градусов. Как минимум, плечо полочки может совпадать с плечом спинки на сутулых фигурах.

Если угол попадает в допустимые пределы, то построение можно считать законченным. Однако при большой выпуклости груди угол приближается к 180 градусам. Это совершенно недопустимо. В этом случае выполняем дополнительные построения.

Переходим ко второму чертежу.

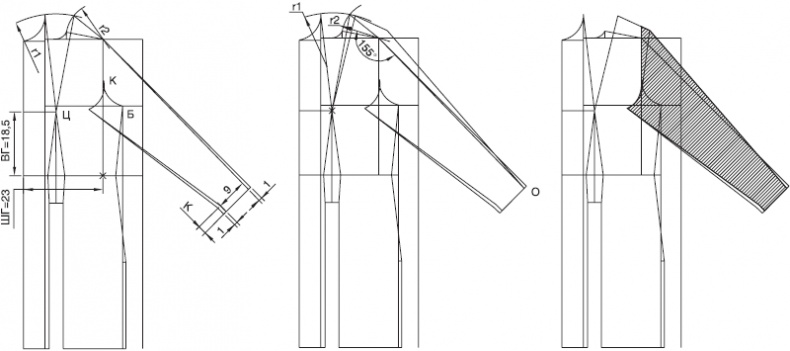
От линии наклона рукава отложим на дугу r2 желаемый и возможный угол, например 155 градусов. Соединим полученную точку с концом плеча. Будем считать этот отрезок новой линией плеча.

Новую линию плеча и линию наклона рукава повернем вокруг точки О до пересечения новой линии плеча с дугой r1. Результат поворота является новой и окончательной линией плеча и рукава в конструкции. Полученную точку пересечения плеча с дугой r1 соединим с точкой Ц, получая новый раствор нагрудной вытачки.

На третьем чертеже нанесем линию погона. Ширина погона полочки может соответствовать ширине погона спинки, однако может и отличаться по ширине.

В более сложных конструкциях можно увидеть реглан-погон на спинке и одновременно реглан-кокетку или цельнокроеный рукав на полочке.

Вы можете быстро построить погон, если закроете или перенесете нагрудную вытачку. А можете построить линию реглана, не закрывая вытачки с помощью дуг r3 и r4, так, как на чертеже.

На последнем чертеже детали кроя показаны отдельно.

Основное построение подвергается вторичному моделированию.

Полуреглан

Используя имеющиеся мерки, расчеты и построения, мы можем рассмотреть конструкцию полуреглан.

От точки К выведите на плечо наклонную линию полуреглана. Положение его на линии плеча определяется моделью. Крайнее положение в том случае, когда линия полуреглана выходит на основание шеи, переводит полуреглан в нулевой реглан. Чертеж «Полуреглан. Построение спинки».

Аналогично строится полуреглан на полочке. Чертеж «Полуреглан. Построение полочки».

Иллюстрация к книге — Лучшие модели на любую фигуру без примерок и подгонок [i_200.jpg]

Полуреглан. Построение спинки

Иллюстрация к книге — Лучшие модели на любую фигуру без примерок и подгонок [i_201.jpg]

Полуреглан. Построение полочки

Реглан-кокетка

Построенную основу можно легко трансформировать в реглан-кокетку. От точки К на спинке и на полочке проведем горизонталь до пересечения с линиями середины полочки и спинки. Расстояние от точки пересечения до начала горловины будет интервалом кокетки. То есть на данном участке кокетку можно провести в любом месте, под любым наклоном к линиям середины.

В нашем случае кокетка построена под прямым углом к линии середины спинки и полочки.

Чертежи «Реглан-кокетка. Построение спинки» и «Реглан-кокетка. Построение полочки».

Иллюстрация к книге — Лучшие модели на любую фигуру без примерок и подгонок [i_202.jpg]

Реглан-кокетка. Построение спинки

Вход
Поиск по сайту
Ищем:
Календарь