Онлайн книга «Лестницы и перила. Проектируем и строим»
|
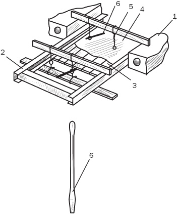
В таком случае балки, на которые должны опираться лестничные площадки, укладываются на уже построенные стены, для чего в них либо оставляются штрабы, либо делаются широкие ниши. Концы балок, которые будут вкладываться в ниши, обязательно имеют скос, благодаря чему улучшается отдача древесиной влаги. Их нужно предварительно и гидроизолируются рубероидом (его можно заменить обработкой растопленной битумной мастикой), что предохраняет балку от пропитывания ее влагой, идущей от стены. Причем торец балки должен оставаться свободным от гидроизоляции и не соприкасаться со стеной, хотя сам рубероид должен несколько выступать из плоскости стены. ![]() Рис. 16. Устройство монолитного участка при железобетонном перекрытии: 1 – плиты перекрытия; 2 – балки, несущие опалубку; 3 – щит опалубки; 4 – полиэтиленовая пленка; 5 – проволочная скрутка; 6 – монтажка ![]() Рис. 17. Устройство лестничного проема у стены при железобетонном перекрытии: 1 – плита перекрытия; 2 – продольная стальная балка; 3 – поперечная стальная балка; 4 – монолитный участок Под балки могут помещаться деревянные подкладки, которые призваны обеспечить горизонтальность конструкции, предотвратить сминание древесины и увеличить площадь опирания балок на стену и которые целиком обрабатываются антисептиками. ![]() Рис. 18. Оформление проема в лестничной клетке, построенной из штучных стеновых материалов (размеры указаны в миллиметрах): 1 – ниша; 2 – скос балки; 3 – слой гидроизоляции; 4 – балка лестничной площадки; 5 – деревянная подкладка; 6 – рубероид Площадку под лестницу, как и другие ее элементы, необходимо проектировать. Ее надо рассматривать как большую проступь. А если лестничная площадка имеет Г-образную форму, то ее глубина и ширина должны соответствовать друг другу, иначе марши окажутся неодинаковыми. После того как балки займут свое место, ниши заполняются кирпичом, укладываемым на растворе, и затираются. Разобравшись с вопросом организации лестничного проема, можно продолжить проектирование одномаршевой прямой лестницы. Но для начала несколько общих замечаний. Зная основные величины (ширину проступи, высоту подступенка, количество ступеней и др.), переходите к разметке тетив. В процессе этой работы (для тетив, как правило, используются доски шириной 225–275 мм (для ориентировки: над и под ступенями должно остаться, как минимум, 50 мм) при толщине 32–50 мм) не забудьте, что перед вами не идентичные детали, а зеркальное отображение. Для проступей подходит любая древесина, важно только соблюсти параметры: в частности, для лестниц шириной 600 мм проступи должны иметь ширину не менее 32 мм; при увеличении ширины лестницы до 800 мм увеличивается и ширина проступи – до 38 мм. Пазы для проступей можно выбрать и вручную, но для облегчения и ускорения работы лучше воспользоваться фрезером (если вы не имеете опыта работы с электроинструментом, то попробуйте сначала выполнить паз на куске ненужной доски, чтобы потом не испортить материал). Учитывая простоту представляемой конструкции, вместо подступенков можно вставить полуподступенки, которые фиксируются к проступи клеем и гвоздями. Понятно, что в этом случае вы избавитесь от необходимости выбирать в тетивах пазы, тем не менее строительные нормы не будут нарушены. Для простоты изложения разобьем весь процесс по проектированию и сооружению лестницы на несколько этапов. Помня о том, что все ступени лестницы должны быть одинаковыми, проще всего изготовить их с помощью шаблона, поскольку это позволит свести погрешность к минимуму. Возьмите квадратный кусок 6-миллиметровой фанеры, на сторонах, образующих один из углов, отложите длину проступи и высоту подступенка и соедините найденные точки прямой линией (она называется опорной). Отступив от нее 50 мм, начертите параллельную линию, вдоль которой прибейте рейку. Точно такую же рейку прибейте с другой стороны, после чего отпилите оставшийся кусок фанеры. В результате у вас получится шаблон (рис. 19). Следующий этап в изготовлении лестницы – разметка тетивы. Для этого, отступив от длинной кромки тетивы 50 мм, начертите опорную линию, после чего положите на тетиву шаблон ступени таким образом, чтобы их опорные линии совпали. Обведите шаблон и доведите линию проступи до противоположной кромки тетивы – так вы получите линию пола (врезки). Остальные ступени разметьте точно так же, т. е. передвигая шаблон и совмещая опорные линии, обводите проступи и подступенки. Дойдя до конца тетивы, линию последнего подступенка доведите с одной стороны до нижней кромки тетивы, с другой – от точки пересечения с опорной линией до верхней кромки – это будет вторая линия врезки, но не торопитесь сразу отпиливать их. Разумнее сначала примерить тетивы по месту, – вполне вероятно, что их концы можно будет врезать в перекрытия. ![]() Рис. 19. Шаблон ступени: 1 – длина проступи; 2 – высота подступенка; 3 – опорная линия Верхнюю часть тетивы отпилите по этим линиям, а нижнюю – по линии пола и первого подступенка. В нижней части тетивы необходимо предусмотреть паз размером 100 × 50 мм для опорного бруска, к которому будет крепиться лестница внизу. Таким же образом подготовьте и вторую тетиву. Чтобы выполнение пазов не отняло слишком много времени, а также чтобы исключить какие-либо погрешности, изготовьте шаблон и для пазов (независимо от того, какой материал используется для изготовления тетив (массив или клееная древесина), пазы должны располагаться наискось относительно волокон). Для этого вам понадобятся 12-миллиметровая фанера размером 600 × 350 мм и 2 бруска сечением 50 × 25 мм и длиной 600 мм. Прибейте бруски к нижней стороне фанеры на расстоянии, равном ширине тетивы. Положите шаблон на пласть тетивы и прочертите на ней опорную линию. Возьмите шаблон ступени, выдерните из него гвозди и удалите рейки, после чего поместите на шаблон для паза, совместив опорные линии. Прочертите линию вдоль стороны проступи и доведите ее до краев шаблона. Снимите оба шаблона с тетивы. Далее возьмите проступь, поставьте ее на шаблон под линию проступи и обведите (рис. 20), после чего, если потребуется, останется только увеличить ширину отверстия на расстояние, отмеренное от фрезы до круглого фланца фрезера, и с помощью лобзика выпилить отверстие под паз. В зависимости от того, перекрывают тетивы ступени полностью или нет, конструкции называются «с перекрытием ступеней» и «без перекрытия ступеней». Первые характерны для классических лестниц, выполненных из дорогих пород древесины; вторые настолько просты, что их может построить каждый дачник. |
![Иллюстрация к книге — Лестницы и перила. Проектируем и строим [_16.jpg] Иллюстрация к книге — Лестницы и перила. Проектируем и строим [_16.jpg]](img/book_covers/060/60951/_16.jpg)
![Иллюстрация к книге — Лестницы и перила. Проектируем и строим [_17.jpg] Иллюстрация к книге — Лестницы и перила. Проектируем и строим [_17.jpg]](img/book_covers/060/60951/_17.jpg)
![Иллюстрация к книге — Лестницы и перила. Проектируем и строим [_18.jpg] Иллюстрация к книге — Лестницы и перила. Проектируем и строим [_18.jpg]](img/book_covers/060/60951/_18.jpg)
![Иллюстрация к книге — Лестницы и перила. Проектируем и строим [_19.jpg] Иллюстрация к книге — Лестницы и перила. Проектируем и строим [_19.jpg]](img/book_covers/060/60951/_19.jpg)