Книга Книга перемен, страница 7 – Микаэль Крогерус, Роман Чеппелер

Авторы: А Б В Г Д Е Ж З И Й К Л М Н О П Р С Т У Ф Х Ч Ш Ы Э Ю Я
Книги: А Б В Г Д Е Ж З И Й К Л М Н О П Р С Т У Ф Х Ц Ч Ш Щ Ы Э Ю Я
Бесплатная онлайн библиотека LoveRead.ec

Онлайн книга «Книга перемен»

📃 Cтраница 7

В английском языке есть выражение, характеризующее момент, в который что-то оказывается окончательно пройденным: It jumped the shark (прыжок через акулу). Выражение вошло в оборот после телесериала «Счастливые дни», в котором главный персонаж в одном из эпизодов пытается перепрыгнуть на водных лыжах через акулу. Столь беспомощная идея сценариста была расценена как знак того, что авторам не удалось сохранить непринужденность повествования и пришлось прибегнуть к натужным зрелищным эффектам. Выражение вырвалось за пределы мира сериалов и стало означать момент времени, знаменующий, что пик чего-то пройден.

«Есть только cool и не-cool, и то, как ты себя чувствуешь».

Tocotronic
Иллюстрация к книге — Книга перемен [i_025.jpg]

Модель наглядно демонстрирует, что считается уже некрутым (не-cool) в авангарде и что в мейнстриме, то есть пик чего уже пройден. Пунктирная линия справа отделяет «классиков», которые вне времени. Какие записи в этой модели вы перенесли бы на другое место? Какие не играют для вас никакой роли?


Модель «Свои – чужие»

ПОЧЕМУ МЫ НЕ ЛЮБИМ ИНОСТРАНЦЕВ

Сэмюэл Хантингтон предсказал в 1992 году «борьбу культур», противоборство между нами и теми, кто не такие, как мы. Теоретик литературы Гаятри Спивак называет попытку отграничить собственную (положительную) идентичность от другой, «неполноценной», английским словом othering (что можно перевести как «отчуждение от себя»).

Так, западному образу мышления свойственна дихотомия: мужчина/женщина, человек/животное, разум/эмоция, мы/другие. Нам нужны «другие», их инаковость, чтобы отличаться от них и удостовериться в собственном «я». Без других не существовало бы образа мыслей, диалога или, как говорят психоаналитики, «самости». Лишь через дефиницию «другого» развивается собственная личность, происходит необходимое преодоление эдипова комплекса (сексуальное влечение ребенка к матери). Это различение между «нами» и «другими» проходит по разным линиям: этнической (белый/чернокожий), региональной (Запад/ Восток), национальной (немец/швейцарец), идеологической (либералы/консерваторы), религиозной (христиане/ мусульмане), половой (мужчина/женщина). Сама по себе дихотомия не является проблемой – разумеется, различия существуют. Проблема заключается в том, что осознание различий вытекает из определенных оценок: превосходства разума над чувствами, к примеру, или же севера над югом.

«Я вообще-то совсем другой, только очень редко бываю таким».

Эден фон Хорват
Иллюстрация к книге — Книга перемен [i_026.jpg]

Отчуждение «других» от себя – это отграничение собственной социальной группы от «других».


Модель «Телесериалы»

ПОЧЕМУ СОВРЕМЕННЫМ РОМАНОМ СТАЛ ТЕЛЕВИЗОР

Иллюстрация к книге — Книга перемен [i_027.jpg]

Самые захватывающие истории нам рассказывает теперь не жизнь, а актуальные телесериалы. Именно там разворачиваются реальные события, в них сосредоточены наши мечты. Нам важно знать, что будет с героями, мы хотим заглянуть в самые потаенные уголки их души и разобраться в их будничных неврозах, хотим стать им ближе, чем самим себе. Иллюстрация демонстрирует тематику, место проживания, а также пол главных персонажей наиболее успешных сериалов за последние 20 лет.

А какие сериалы смотрите сейчас вы?


Модель цитируемых авторитетов

НА КОГО МЫ ССЫЛАЕМСЯ

Иллюстрация к книге — Книга перемен [i_028.jpg]

Здесь приведены высказывания тех, кто пытался объяснить мир, и поводы, по которым мы их обычно цитируем.


Измените мой мир
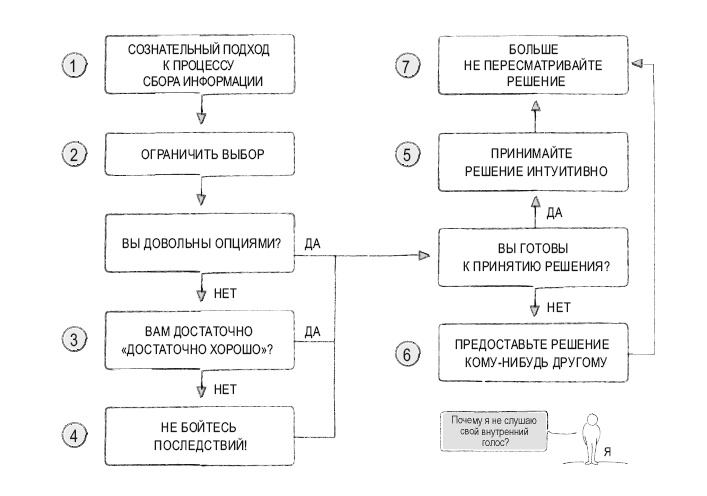
Модель решений

КАК ПРИНЯТЬ ПРАВИЛЬНОЕ РЕШЕНИЕ

Задача: вы хотите купить автомобиль. Проблема: вы не можете решить, какой автомобиль выбрать. Семь стратегий – непосредственно из лаборатории нейробиологов и психологов:


1. Определите стратегию поиска. Поставьте самому себе границы: например, один час – искать в Интернете, расспросить трех друзей, прочесть один журнал, посетить двух торговцев автомобилями.

2. Ограничьте свой выбор. Парадокс выбора выглядит так: мы думаем – чем богаче выбор, тем вернее наше решение. На самом деле, имея большой выбор, мы проводим много времени, взвешивая разные опции, так что под конец мы можем и вообще не принять никакого решения. Чем меньше выбор, тем меньше мы ожидаем от результата.

3. Признайте формулировку «достаточно хорошо». Выбирайте то, что в принципе отвечает вашим запросам, вместо того чтобы искать «лучшее».

4. Не бойтесь последствий. «Последствия большинства решений не так продолжительны, как считается», – писал американский психолог Дэниел Гилберт. В сравнении с вечностью любое решение становится менее значимым.

5. Доверяйте первому впечатлению. В последние годы проводилось много исследований интуиции. Два результата: очевидно, в нас есть какая-то частица, знающая больше, чем мы полагаем. И: мы скорее признаем ошибочные решения, принятые в состоянии аффекта, то есть интуитивно, чем те, которые явились плодом долгих размышлений. Мы скорее прощаем ошибку своего сердца, чем головы.

6. Предоставьте решение кому-нибудь другому. Мы склонны думать, что бываем счастливее, если все держим в своих руках. На самом деле все как раз наоборот. Симона Ботти из Корнельского университета экспериментально доказала: при собственных решениях нас гложет червь сомнения, что мы выбрали не самый лучший вариант. Возьмите на заметку: предоставив решение другому человеку или подбросив монетку, мы либо говорим спасибо, либо – в случае плохого исхода – перекладываем вину на другого.

7. Не анализируйте свои решения задним числом. Либо поступите совсем иначе. Один из основателей Ордена иезуитов Игнатий де Лойола еще в XVI веке предложил простой метод принятия верного решения: в течение трех дней ведите себя так, словно вы уже сделали выбор в пользу одного варианта. Все три дня записывайте все мысли, чувства и сновидения, которые вас посещают. Затем проделайте все то же самое с другим вариантом. А в конце сравните записи и – примите решение.


Верное решение рождается в сомнениях.

Иллюстрация к книге — Книга перемен [i_029.jpg]

Когда вы в последний раз принимали неверное решение?


Модель мультизадач

ПОЧЕМУ МЫ ОТВЛЕКАЕМСЯ

Вход
Поиск по сайту
Ищем:
Календарь