Онлайн книга «Садово-огородные хитрости. Постройки и инвентарь»
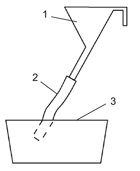
![]() Рис. 91. Приспособление для сбора ягод: 1 – воронка; 2 – гибкий шланг; 3 – тара ![]() Рис. 92. Устройство для сбора нежных, легко повреждаемых ягод Из старых лопат сделайте себе удобные садовые инструменты. К примеру, из влечь из глинистой почвы крупный сорняк вместе с корнем довольно трудно. А если вы об режете лопату по краям, оставив сбоку выступ для упора ног, и ударами молотка изогнете ее плоскость, дело значительно упростится. Инструмент втыкают в землю рядом со стеблем и удаляют сорняк без лишних усилий. Другой, похожий инструмент годится не только в войне с сорняками, но и заменяет бур при очаговой подкормке деревьев. Его вонзают в землю под углом 45°, раскачивая, поворачивают на 1/4 оборота – и лунка готова. Если же сделать полотно лопаты еще уже, хорошо будет рыхлить землю под разросшимися низкими кустами и стелющимися плодовыми деревьями. Рыхление производится без оборота пласта. Чтобы не таскать с собой громоздкую пилу для обрезки сучьев, сделайте себе маленькую, умещающуюся в кармане фартука. Ее конструкция такая же, как и у перочинного ножа. Ручка деревянная. Подобный инструмент легко смастерить из достаточно большого складного ножа, заменив его лезвие узким полотном. В этом случае, однако, пила получается чересчур короткой и потому не всегда удобной в работе. Бордюр из деревянных чурок «ближе к природе»; он и выглядит необычно, и в строительстве достаточно прост. Чурки длиной около 0,5 м пилят из тонких, 8—11 см в диаметре, бревен. Косой срез необходим и для красоты, и для стока дождевой воды. Перед тем как установить чурки на место, их антисептируют, а то, что окажется в земле, еще обертывают несколькими слоями полиэтиленовой пленки или рубероидом. Вот какой самодельный «мини-культиватор» для рыхления (рис. 93), а также для срезки травы можно сделать из куска стали толщи ной 2,2 мм. Трубку для черенка изготовляют из трубы диаметром 22 мм. Лезвие и трубку можно склепать или сварить. ![]() Рис. 93. Конструкция самодельной мотыги Если вы пользуетесь в саду приставной лестницей, замените ее верхнюю ступеньку куском толстой и прочной веревки. Середину напучив шейся гибкой ступеньки желательно обмотать тряпкой. Польза от этой лестницы двойная: во-первых, она не съезжает со ствола в сторону и таким образом страхует вас от падения, во-вторых, не повреждает кору дерева. Подвязывая деревья и кусты, вам то и дело приходится браться за нож, чтобы обрезать лыко, мочало или шпагат. Так нетрудно поранить руки, да и работать не очень-то удобно. Смастерите себе на этот случай алюминиевый перстень с приклеенным к нему стальным лезвием (рис. 94). Лезвие заточите по внутреннему изгибу. При подвязке перстень надевают на указательный палец. ![]() Рис. 94. Алюминевый перстень со стальным лезвием Грачи любят клевать спелые ягоды. Для их отпугивания от плантации вывесите чучело грача. Делают его из чурбака, снабдив с одного конца клювом. На палочке, прибитой поперек чурбачка, укрепите по одной тряпке или негодной рукавице. Окрасьте чучело в черный цвет. Яичная скорлупа – очень ценное удобрение, содержащее кроме из вести (кальция), которая, как известно, понижает кислотность почвы, микродобавки фосфора, серы, магния. Опытные огородники собирают скор лупу, просушивают и пропускают через мясорубку. Чем меньше частички, тем эффективнее их воздействие на почву. Хранить порошок из скорлупы следует в бумажных пакетах. Порошок из скорлупы вносят весной при перекопке почвы, рыхлении междурядий. Отзывчивы на это удобрение облепиха, слива, вишня, черешня. Хорошая и очень простая конструкция для хранения садово-огородного инвентаря изображена на рис. 95. Приспособление состоит из двух деревянных (или проволочных) треугольников, прибитых к стене кладовки. Полив сада можно автоматизировать, имея в распоряжении всего лишь бочку и резиновый шланг. В дне бочки пробивают отверстие и через него выводят наружу поливочный шланг. Внутри бочки шланг образует петлю. Как только вода из водопровода заполнит бочку и покроет шланг, он сработает как сифон, и вся вода пойдет на грядки. Периодичность полива определяется временем заполнения бочки (рис. 96). ![]() Рис. 95. Конструкция для хранения садового инвентаря Рама старой раскладушки послужит в качестве ограждения плодовых кустов на участке. Необходимый размер такого заграждения легко получить при помощи вставок, после чего остается лишь закрепить раму обрезками ножек в трубах, забитых в землю. Резиновые шланги небольших диаметров можно соединять с помощью куска бамбука. Утолщения в узлах хорошо удерживают шланги (рис. 97). ![]() Рис. 96. Поливочная бочка-автомат ![]() Рис. 97. Соединение шлангов с помощью бамбука Деревянный обод, установленный на 3–4 колышка, – отличная подпорка для куста смородины или крыжовника. Подвязывая молодое деревце к опоре, необходимо на ствол предварительно наложить предохранительный пояс из войлока или другого мягкого материала. Крепление должно быть свободное, в виде восьмерки. Прямая и слишком тугая подвязка растений к копьям приводит к повреждению стебля. Каждый садовод хочет, чтобы на грядках всё росло ровно и красиво. И не хочет мучиться с прополкой. Поэтому предлагаем не выбрасывать картонные ячейки от яиц. Вырежьте донышки в углублениях – и у вас готов «трафарет». Когда сажаете морковку или свёклу, положите эту ячейку на грядку и в дырочки высевайте по одному семени. Для моркови в каждую дырочку, для свёклы – через две, и так далее. Все получается ровно. И когда появятся всходы, их не нужно прореживать. |
![Иллюстрация к книге — Садово-огородные хитрости. Постройки и инвентарь [i_092.jpg] Иллюстрация к книге — Садово-огородные хитрости. Постройки и инвентарь [i_092.jpg]](img/book_covers/056/56649/i_092.jpg)
![Иллюстрация к книге — Садово-огородные хитрости. Постройки и инвентарь [i_093.jpg] Иллюстрация к книге — Садово-огородные хитрости. Постройки и инвентарь [i_093.jpg]](img/book_covers/056/56649/i_093.jpg)
![Иллюстрация к книге — Садово-огородные хитрости. Постройки и инвентарь [i_094.jpg] Иллюстрация к книге — Садово-огородные хитрости. Постройки и инвентарь [i_094.jpg]](img/book_covers/056/56649/i_094.jpg)
![Иллюстрация к книге — Садово-огородные хитрости. Постройки и инвентарь [i_095.jpg] Иллюстрация к книге — Садово-огородные хитрости. Постройки и инвентарь [i_095.jpg]](img/book_covers/056/56649/i_095.jpg)
![Иллюстрация к книге — Садово-огородные хитрости. Постройки и инвентарь [i_096.jpg] Иллюстрация к книге — Садово-огородные хитрости. Постройки и инвентарь [i_096.jpg]](img/book_covers/056/56649/i_096.jpg)
![Иллюстрация к книге — Садово-огородные хитрости. Постройки и инвентарь [i_097.jpg] Иллюстрация к книге — Садово-огородные хитрости. Постройки и инвентарь [i_097.jpg]](img/book_covers/056/56649/i_097.jpg)
![Иллюстрация к книге — Садово-огородные хитрости. Постройки и инвентарь [i_098.jpg] Иллюстрация к книге — Садово-огородные хитрости. Постройки и инвентарь [i_098.jpg]](img/book_covers/056/56649/i_098.jpg)