Онлайн книга «Древние загадки фараонов»
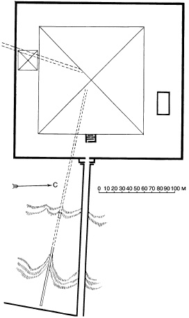
![]() Рис. 17. Пирамида в Эль-Куле (по Стьенону) Есть и другая, не менее волнующая проблема. Если эти строения действительно были ступенчатыми пирамидами и были предназначены для погребения, то почему они были построены так далеко от кладбищ того времени? Не следует ли считать их кенотафами? И снова мы не можем ответить на эти вопросы. ПИРАМИДА MЕДУMА Пирамида Медума на много миль вокруг господствует над местностью, где она стоит. В своем современном виде она похожа на колоссальную башню, стоящую на холме на краю пустыни. Книги по археологии и истории, опубликованные до 1945 г., приписывают эту пирамиду царю Снофру. В результате последних раскопок в Дахшуре археологи, однако, склонны отождествлять так называемую Южную пирамиду Снофру (когда-то считалось, что под этим названием проходила пирамида в Медуме) с Изогнутой пирамидой в Дахшуре. Таким образом, владелец пирамиды в Медуме остается неизвестным. Однако мы можем заметить, что это – последнее развитие типа ступенчатой пирамиды и она почти наверняка была непосредственной предшественницей пирамид Снофру. Пирамида в Медуме привлекала внимание множества исследователей еще с первых лет существования египтологии как науки. Ее рисовали еще до XVIII в. и в XVIII в., и она была среди пирамид, обследованных Перрингом и Визом в 1839 г. Это место привлекло внимание и Мариетта, который обнаружил здесь множество важных погребений, и, в частности, то, где находились статуи принца Рахотепа и его прекрасной супруги Неферт – одни из самых знаменитых статуй Каирского музея. Петри вел здесь раскопки еще в 1890 г. и возобновил здесь работу совместно с Д. Уэйнрайтом. Петри опубликовал две работы, которые в течение многих лет оставались основным источником информации по пирамиде, ее храму и окружающим ее кладбищам. Борхардт исследовал пирамиду в 1927 г. и написал знаменитую статью с самыми точными на сегодняшний день ее планами. Несколько лет спустя экспедиция музея Университета Пенсильвании продолжила раскопки на этом месте. Однако американцы сосредоточились не столько на самой пирамиде, сколько на храме и кладбищах вокруг нее. Окончательной публикации пока так и не появилось, хотя Алан Роу в 1931 г. выпустил предварительный отчет. С тех пор как в 1931 г. экспедиция закончила свою работу, место опустело. Но оно еще многое может рассказать и может быть одним из наиболее ценных источников изучения цивилизации Древнего царства. Пирамида Медума окружена древнейшим из пока обнаруженных пирамидным комплексом (рис. 18). Пирамида стоит на краю плато, окруженная полуразрушенной стеной ограды. От входа на восточной стороне дорога, окруженная стенами, но без крыши, вела к краю обработанной земли. Она была замощена камнями, а ее стены увенчаны закругленным карнизом. Нижний храм на конце дороги теперь оказался под водой из-за подъема уровня подпочвенных вод, но все же раскопки на нем возможны. ![]() Рис. 18. Комплекс пирамиды в Медуме На южной стороне самой пирамиды находятся остатки другой небольшой пирамиды. На востоке – небольшой заупокойный храм со своей собственной оградой. Этот храм был обнаружен Петри практически нетронутым, его потолок все еще находится в прекрасном состоянии. В небольшом открытом дворе, построенном у самых камней облицовки пирамиды, стоял столик для приношений, по сторонам которого располагались две высокие закругленные стелы. На востоке находились две небольшие крытые комнаты. Все здание располагалось внутри стены теменоса пирамиды (рис. 19). На внутренних стенах комнат были обнаружены надписи, сделанные посетителями этой достопримечательности, и в некоторых из них упоминается фараон Снофру. Одна из этих надписей может датироваться концом Древнего царства, но большинство относятся к Восемнадцатой династии. Одна, датированная сорок первым годом правления Тутмоса III, была написана писцом Аахепер-кара-сенебом, который говорит, что пришел сюда, чтобы узреть прекрасный храм Снофру. В конце этой надписи он молится за Ка царя Снофру и царицы Мересанх, которая, возможно, была матерью царя. ![]() Рис. 19. План заупокойного храма при пирамиде в Медуме Этот текст и другие надписи вынуждают нас более внимательно рассмотреть вопрос, кем мог быть владелец пирамиды. Древние писцы не были невеждами, и у нас есть все причины полагать, что некоторые прочли имя Снофру на соседних памятниках или получили свои сведения от местных жрецов. Из древних источников мы знаем, что у царя Снофру были две пирамиды, которые идентифицированы с пирамидами в Дахшуре. Было бы очень необычно, что у одного фараона оказались три пирамиды. Предшественник Снофру, фараон Ху, правил по меньшей мере двадцать четыре года. Я полагаю, что Ху построил свою гробницу в Медуме, но она либо осталась незаконченной на момент его кончины, либо ее посчитали слишком простой. Во время царствования Снофру эта неоконченная (либо слишком скромная) постройка была расширена и закончена. Следовательно, мы можем считать, что завершение пирамиды в Медуме и ее комплекса датируется царствованием Снофру. Высота пирамиды первоначально составляла 92 метра, а длина стороны основания – 144 метра. Она имела угол наклона 5°53′. Согласно исследованиям Петри, она стоит на заранее подготовленной платформе или вымостках, которые идут под камнями облицовки. Надземная часть состоит из ядра, в основе которого лежит мастаба. К ней добавлены 8 слоев каменной кладки, которая превратила ее в восьмиступенчатую слоеную мастабу (рис. 20). После того как были сделаны эти добавления, вес постройки увеличился, и на каждой последующей стадии строительства постройку тщательно облицовывали и гладко шлифовали. Наконец, когда строители закончили восьмиступенчатую, отшлифованную пирамиду, они заполнили ступени, снова облицевали всю постройку и впервые получили настоящую пирамиду. ![]() Рис. 20. Разрез пирамиды в Медуме, показывающий разные стадии постройки Вход находится в центре северной грани пирамиды, примерно в 30 метрах от земли. Он ведет в коридор длиной 57 метров, который спускается в скалу под надземной частью пирамиды. Очевидно, на нижнем конце проход был закрыт деревянной дверью (место, где она находилась, все еще видно). В конце коридора расположены две «прихожие» в форме коридора и, наконец, вертикальная шахта с погребальной камерой наверху. Ее размеры составляют 5,9 × 2,65 метра. Пол погребальной камеры находится на одном уровне с надземной структурой. Сама камера облицована известняком; в ней прекрасный ступенчатый свод из семи ступеней. Именно здесь в 1891 г. Петри обнаружил остатки деревянного гроба, который, как он полагал, принадлежал фараону Снофру. На крыше – дыры от пазов для перекрестных балок; в одной из них все еще торчит конец балки. (Это напоминает кедровые балки, обнаруженные внутри «ломаной» пирамиды Снофру в Дахшуре; возможно, они относятся к тому же времени, что и эта постройка.) |
![Иллюстрация к книге — Древние загадки фараонов [i_021.jpg] Иллюстрация к книге — Древние загадки фараонов [i_021.jpg]](img/book_covers/053/53992/i_021.jpg)
![Иллюстрация к книге — Древние загадки фараонов [i_022.jpg] Иллюстрация к книге — Древние загадки фараонов [i_022.jpg]](img/book_covers/053/53992/i_022.jpg)
![Иллюстрация к книге — Древние загадки фараонов [i_023.jpg] Иллюстрация к книге — Древние загадки фараонов [i_023.jpg]](img/book_covers/053/53992/i_023.jpg)
![Иллюстрация к книге — Древние загадки фараонов [i_024.jpg] Иллюстрация к книге — Древние загадки фараонов [i_024.jpg]](img/book_covers/053/53992/i_024.jpg)