Книга 500 советов рыболову, страница 27 – Андрей Галич

Авторы: А Б В Г Д Е Ж З И Й К Л М Н О П Р С Т У Ф Х Ч Ш Ы Э Ю Я
Книги: А Б В Г Д Е Ж З И Й К Л М Н О П Р С Т У Ф Х Ц Ч Ш Щ Ы Э Ю Я
Бесплатная онлайн библиотека LoveRead.ec

Онлайн книга «500 советов рыболову»

📃 Cтраница 27
Иллюстрация к книге — 500 советов рыболову [i_059.jpg]

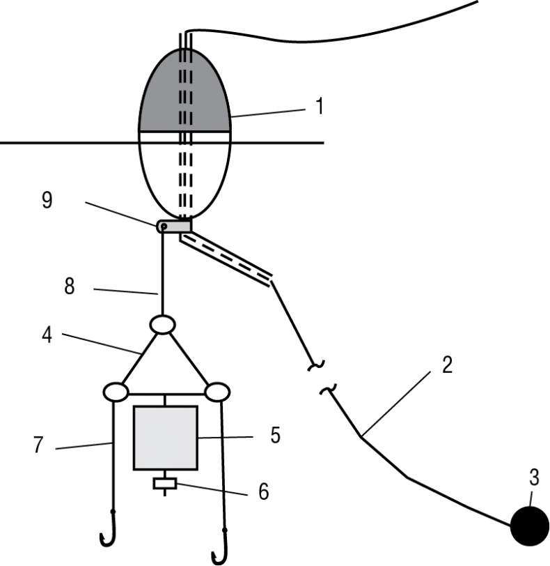
Рис. 54. Поплавочная снасть со скользящим поплавком: 1 – поплавок (изготовлен из фидерной трубки, на которую надет пенопласт); 2 – основная леска (свободно проходит через фидерную трубку поплавка); 3 – «глухой» груз (служит якорем); 4 – «тремпель»; 5 – «бочонок» технопланктона; 6 – фиксатор «бочонка» технопланктона; 7 – поводки с крючками без шариков пенопласта (свисают на 5—15 см ниже «бочонка» технопланктона); 8 – поводок, задающий глубину погружения «тремпеля»; 9 – крепление «тремпеля» к фидерной трубке


Основная леска свободно (без фиксаторов глубины), проходит через фидерную трубку и крепится к грузу, который будет служить якорем при падении на дно. При забросе груз находится в непосредственной близости от фидерной трубки, но после приводнения оснастки груз тянет основную леску (шнур) и свободно падает на дно, в то время как поплавок со снастью остается на плаву.

Из-за простоты исполнения эта оснастка получила массовое распространение у начинающих рыболовов. Недостатки этого монтажа проявляются при вываживании рыбы (часто запутывается снасть), а также при забросе, который зачастую недостаточно далек.

Совет № 214

Изготовление технопланктона в домашних условиях. Рецептов разработано много, приведем некоторые из них.

Совет № 215

Технопланктон из гороховой муки: гороховая мука – 250 г, кукурузная мука – 250 г, молотые семена подсолнечника – 200 г, панировочные сухари – 100 г, сухое молоко – 100 г, сухой кисель – 100 г, мед – 50 г.

Развести сухой кисель в холодной воде и дать ему постоять 5 мин, затем приготовить в микроволновке. Ссыпать все сухие ингредиенты в емкость и постепенно вливать туда остывший кисель, перемешивая блендером.

Совет № 216

Технопланктон из гречневой муки: гречневая мука – 200 г, овсяная мука – 200 г, кукурузная мука – 400 г, панировочные сухари – 200 г, сахарный сироп – 0,5–1 стакан.

Смешать сухие ингредиенты и развести в сахарном сиропе, постепенно перемешивая блендером.

Совет № 217

Технопланктон из арахиса: молотый жареный арахис – 500 г, кукурузная мука – 500 г, манная крупа – 500 г, рыбная мука – 1 кг, сахарный сироп – 1 стакан.

Смешать сухие ингредиенты и развести в сахарном сиропе, постепенно перемешивая блендером.

Как правильно ловить карася
Совет № 218

Карась, в отличие от плотвы или леща, ведет более спокойный образ жизни. В водоемах, где хорошая кормовая база, эта рыба крайне редко предпринимает какие-либо миграции и старается придерживаться определенных маршрутов следования, а также определенных мест кормления. Это, прежде всего, относится к сильно заросшим мелким водоемам, у которых практически вся береговая зона, а часто и вся акватория водоема, покрыта подводными растениями. Кормовая база таких водоемов очень богата и разнообразна. Во время ловли в таких водоемах прикормка не играет решающей роли, главное заключается в том, чтобы обнаружить места кормления карася. Так, например, в одном из прогалов в растительности карась может кормиться изо дня в день, а рядом, буквально в метре, в таком же прогале не будет клевать вообще и никогда. Характерно то, что, найдя «счастливое» место, рыболов будет с уловом в течение нескольких сезонов, до тех пор, пока не изменится рельеф дна или уровень воды в водоеме из-за постепенного заболачивания. Чем объяснить это непонятное для рыболовов явление? Вразумительного ответа на этот вопрос пока не найдено. Но, обнаружив место кормежки карася, необходимо точно выяснить часы его выхода в такое место, то есть часы клева.

Совет № 219

Часы клева во многом определяются глубиной в месте ловли.

Если глубина небольшая, 30–40 см, то чаще всего крупный карась выходит кормиться после 3–4 ч ночи. Клев в зависимости от погоды может продолжаться от получаса и до 7 ч утра. В остальное время суток обычно ловятся мелкие экземпляры.

В более глубоких местах, с глубиной около 1,5–2 м, клев карася может наблюдаться не утром, а именно вечером, уже перед самым заходом солнца.

В некоторых водоемах бывает и утренний, и вечерний клев, но такие водоемы встречаются редко.

Совет № 220

Прикормка при ловле в заросших водоемах. Во время ловли в сильно заросших озерах и прудах наблюдается определенная закономерность во взаимосвязи величины водоема, размеров карася и оптимального количества прикормки для приманивания, удержания и активизации рыбы. Чем водоем меньше по размерам, тем меньше прикормки требуется для эффективной ловли. Даже на больших по размерам, но мелководных водоемах количество прикормки может измеряться 1–2 пригоршнями. В вечерние и ночные часы очень хороша прикормка в виде нескольких горстей обычного сухого «геркулеса», чуть смоченного водой, чтобы порция долетела до точки прикармливания. Очень неплохие результаты дает применение размоченного в воде черного хлеба, а также перловки.

Если место ловли известно точно, то нет никакого смысла добавлять в такую прикормку какие-либо ароматизаторы. Передозировка ароматизатора неминуемо приведет к тому, что испортите хорошее место ловли, а исправить ошибку будет уже поздно. Но, если точно известно, какой именно запах любит карась в конкретном водоеме, то имеет смысл добавить соответствующий компонент. Обычно это какао, анис либо чеснок. Иногда можно очень успешно использовать керосин и лаврово-вишневые капли, но не в качестве прикормки, а как добавку к хлебу или болтушке из манки.

Совет № 221

В теплые тихие дни караси поднимаются над растительностью и гуляют буквально поверху. Лучшей и практически единственной эффективной прикормкой во время ловли поверху является опарыш. Личинки опарыша можно склеить небольшим количеством обычного сухого молока. Комочек из личинок можно забросить рукой на расстояние до 10–12 м, но гуляющий поверху карась редко приближается к берегу и поэтому требуется забросить комок на расстояние хотя бы 20–30 м. В таких случаях выручат специальные рогатки. Из тех, что продаются в наших магазинах, можно выделить маломощные (для заброса мелкой и легкой прикормки) и рогатки для доставки прикормки на расстояние до 70–90 м. Рогатки очень удобны не только в тех случаях, когда в качестве прикормки используется опарыш, но и во всех без исключения случаях, когда нужно доставить небольшой комочек относительно легкой прикормки в точку ловли.

Совет № 222

Прикормка при ловле на чистой воде. Несколько иначе обстоит дело с прикармливанием при ловле в водоемах без развитой водной растительности и в глубоких прудах, озерах и даже реках. Здесь образ жизни карася несколько отличен от обсуждаемого выше, а значит, нужен и другой подход к ловле.

Реклама
Вход
Поиск по сайту
Ищем:
Календарь