Онлайн книга ««Маус» и другие. Сверхтяжелые танки Второй Мировой»
|
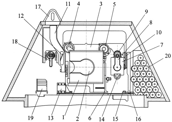
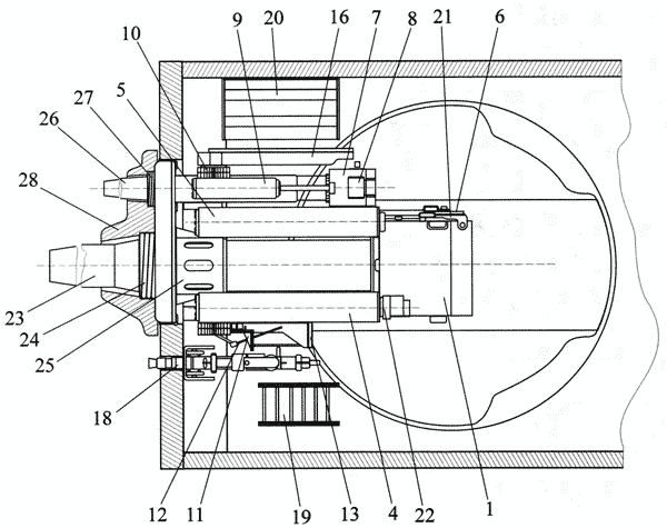
Вращение башни осуществлялось при помощи электромеханического привода, а для аварийной ситуации был предусмотрен ручной привод. Использовались две скорости вращения башни: быстрая — 8 град./с и медленная — 4 град./с. Во время марша башня блокировалась тремя стопорами. Кроме стопоров неподвижность башни обеспечивало специальное пневматическое устройство. ![]() ![]() В качестве буксировщика (на танке «Маус II» не был установлен двигатель) использовался первый прототип На вращающемся полике башни были установлены стеллажи для снарядов к обеим пушкам, здесь же размещался компрессор, предназначенный для продутия ствола 128-мм орудия. Компрессор работал от электрического двигателя постоянного тока мощностью 1000 Вт и напряжением 48 В. ![]() Шасси «Маус II» стаскивают с платформы. Хорошо виден торцевой пандус и буксирный трос На крыше башни располагались два посадочных люка, два вентилятора, неподвижный броневой колпак перископического прицела, перископический прибор наблюдения командира и амбразура «устройства ближнего боя». В кормовой стенке башни имелся люк для загрузки боеприпасов, в крышке которого имелась бойница для стрельбы из личного оружия. ![]() Шасси второго прототипа съезжает на грунт Завершая описание конструкций корпуса и башни несколько слов необходимо сказать о качестве брони. Все броневые детали имели различную твердость. Так, детали толщиной до 50 мм подвергались термообработке на высокую твердость, толщиной 160 мм обрабатывались на среднюю и пониженную твердость, а броневые листы внутренних бортов корпуса толщиной 80 мм — на низкую твердость. Броневые детали толщиной 185 — 210 мм также обрабатывались на низкую твердость. Что касается химического состава, то катаную броню танка «Маус» можно разделить на четыре группы. Для листов толщиной 50 мм применялась хромоникелевая броня с повышенным содержанием марганца. Для 65-мм листов использовалась хромомарганцевая броня с 0,5 % содержания никеля, для 80-мм — хромоникелемолибденовая с повышенным содержанием марганца и хрома. И, наконец, для четвертой группы бронелистов с толщинами 200 — 210 мм применялась хромоникелемолибденовая броня, причем процент хрома и никеля в сравнении с листами меньшей толщины был увеличен до 0,8 — 2 %. Литая броня также имела два варианта состава. Для деталей небольшой толщины применялась хромоникелемолибденовая броня с повышенным содержанием марганца, а для деталей толщиной 220 мм — хромникелевая с содержанием никеля свыше 30 %. Необходимо отметить, что во всех видах марках брони содержанием углерода было повышенным и находилось в пределах 0,3 — 0,45 %. Кроме того, для «Мауса» была характерна и общая в тот период для германского танкостроения тенденция замены легирующих элементов молибдена и никеля другими элементами — хромом, марганцем и кремнием. ![]() Вид соединения кормового листа башни с левым бортовым листом. Стрелкой указан штифт ВООРУЖЕНИЕ. На танке устанавливались 128- и 75-мм спаренные танковые пушки и 7,92-мм пулемет MG42 (еще один пулемет укладывался в танке). В башне спаренная установка пушек была смонтирована в специальной раме. Бронировка качающейся части пушек выполнялась литой и крепилась к общей люльке болтами. 128-мм пушка, разработанная фирмой Krupp, имела длину ствола 55 калибров (7020 мм). Начальная скорость бронебойного снаряда составляла 920 м/с. Затвор — клиновой, горизонтальный, имел 1/4 автоматики, то есть открывание затвора и экстрактирование гильзы производились вручную, а после досылания снаряда и заряда затвор закрывался автоматически. Противооткатные устройства располагались над стволом орудия. Наибольшая дальность стрельбы осколочно-фугасным снарядом достигала 12,5 км. Пушка KwK 44 отличалась от 128-мм зенитной пушки Flak 40 раздельногильзовым заряжанием. В тесной башне танка с длинным и тяжелым «унитаром» было не развернуться. Для ускорения процесса заряжания в состав экипажа «Мауса» входило два заряжающих: в то время как один досылал в камору снаряд, другой — подавал гильзу с зарядом. Тем не менее скорострельность 128-мм пушки не превышала 2–3 выстр./мин. ![]() Схема установки вооружения (вид сзади): 1 — казенник 128-мм пушки; 2 — клин затвора; 3 — люлька; 4 — тормоз отката; 5 — накатник; 6 — ограждение; 7 — казенник 75-мм пушки; 8 — клин затвора; 9 — накатник; 10 — правая цапфа люльки; 11 — кронштейн крепления перископического прицела; 12 — тяга прицела; 13 — кронштейн крепления подъемного механизма; 14 — тормоз отката 75-мм пушки; 15 — основание рамы; 16 — правый вертикальный кронштейн рамы; 17 — неподвижный броневой колпак; 18 — пулемет МG 42; 19 — укладка пулеметных коробок; 20 — укладка 75-мм выстрелов ![]() 128-мм противотанковая пушка К 81/1 фирмы Krupp. Ствол Рак 80 (идентичен по конструкции стволу пушки KwK 44) установлен на лафет трофейной французской 155-мм пушки ![]() Схема установки вооружения (вид сверху): 1 — казенник 128-мм пушки; 4 — тормоз отката; 5 — накатник; 6 — ограждение; 7 — казенник 75-мм пушки; 8 — клин затвора; 9 — накатник; 10 — правая цапфа люльки; 11 — кронштейн крепления перископического прицела; 12 — тяга прицела; 13 — кронштейн крепления подъемного механизма; 16 — правый вертикальный кронштейн рамы; 18 — пулемет МG 42; 19 — укладка пулеметных коробок; 20 — укладка 75-мм выстрелов; 21 — рукоятка открывания затвора 128-мм пушки; 22 — крепление штока тормоза к казеннику; 23 — труба ствола 128-мм пушки; 24 — цилиндрическая пружина; 25 — люлька; 26 — труба ствола 75-мм пушки; 27 — цилиндрическая пружина; 28 — бронировка качающейся части |
![Иллюстрация к книге — «Маус» и другие. Сверхтяжелые танки Второй Мировой [i_040.jpg] Иллюстрация к книге — «Маус» и другие. Сверхтяжелые танки Второй Мировой [i_040.jpg]](img/book_covers/052/52944/i_040.jpg)
![Иллюстрация к книге — «Маус» и другие. Сверхтяжелые танки Второй Мировой [i_041.jpg] Иллюстрация к книге — «Маус» и другие. Сверхтяжелые танки Второй Мировой [i_041.jpg]](img/book_covers/052/52944/i_041.jpg)
![Иллюстрация к книге — «Маус» и другие. Сверхтяжелые танки Второй Мировой [i_042.jpg] Иллюстрация к книге — «Маус» и другие. Сверхтяжелые танки Второй Мировой [i_042.jpg]](img/book_covers/052/52944/i_042.jpg)
![Иллюстрация к книге — «Маус» и другие. Сверхтяжелые танки Второй Мировой [i_043.jpg] Иллюстрация к книге — «Маус» и другие. Сверхтяжелые танки Второй Мировой [i_043.jpg]](img/book_covers/052/52944/i_043.jpg)
![Иллюстрация к книге — «Маус» и другие. Сверхтяжелые танки Второй Мировой [i_044.jpg] Иллюстрация к книге — «Маус» и другие. Сверхтяжелые танки Второй Мировой [i_044.jpg]](img/book_covers/052/52944/i_044.jpg)
![Иллюстрация к книге — «Маус» и другие. Сверхтяжелые танки Второй Мировой [i_045.jpg] Иллюстрация к книге — «Маус» и другие. Сверхтяжелые танки Второй Мировой [i_045.jpg]](img/book_covers/052/52944/i_045.jpg)
![Иллюстрация к книге — «Маус» и другие. Сверхтяжелые танки Второй Мировой [i_046.jpg] Иллюстрация к книге — «Маус» и другие. Сверхтяжелые танки Второй Мировой [i_046.jpg]](img/book_covers/052/52944/i_046.jpg)
![Иллюстрация к книге — «Маус» и другие. Сверхтяжелые танки Второй Мировой [i_047.jpg] Иллюстрация к книге — «Маус» и другие. Сверхтяжелые танки Второй Мировой [i_047.jpg]](img/book_covers/052/52944/i_047.jpg)