Книга Тяжелый танк «Тигр». Смертельное оружие Рейха, страница 20 – Михаил Барятинский

Авторы: А Б В Г Д Е Ж З И Й К Л М Н О П Р С Т У Ф Х Ч Ш Ы Э Ю Я
Книги: А Б В Г Д Е Ж З И Й К Л М Н О П Р С Т У Ф Х Ц Ч Ш Щ Ы Э Ю Я
Бесплатная онлайн библиотека LoveRead.ec

Онлайн книга «Тяжелый танк «Тигр». Смертельное оружие Рейха»

📃 Cтраница 20
Иллюстрация к книге — Тяжелый танк «Тигр». Смертельное оружие Рейха [i_169.jpg]

Загрузка боеприпасов в «Фердинанд» была нелёгким делом, требовавшим от членов экипажа немалых физических усилий.

Иллюстрация к книге — Тяжелый танк «Тигр». Смертельное оружие Рейха [i_170.jpg]

«Тигр» Фердинанда Порше использовался в качестве командирской машины в 653-м дивизионе. Галиция, 1944 год.


В конце февраля 1944 года 1-ю роту 653-го дивизиона отправили в Италию, где она участвовала в боях под Анцио, а в мае — июне 1944 года — под Римом. В конце июня роту, в которой оставалось два исправных «Элефанта», перебросили в Австрию.

В апреле 1944 года 653-й дивизион в составе двух рот был отправлен на Восточный фронт, в район Тернополя. Здесь в ходе боёв дивизион потерял 14 машин, но 11 из них удалось отремонтировать и вновь ввести в строй. В июле в дивизионе, отступавшем уже по территории Польши, имелось 33 исправных самоходных орудия. Впрочем, 18 июля 653-й дивизион без разведки и подготовки был брошен в бой на выручку 9-й танковой дивизии СС Hohenstaufen и уже через сутки количество боевых машин в его строю уменьшилось более чем вдвое. Советские войска весьма удачно применяли против «элефантов» свои тяжёлые САУ и 57-мм противотанковые пушки. Часть немецких машин была лишь повреждена и вполне подлежала восстановлению, но ввиду невозможности эвакуации их подорвали или подожгли собственные экипажи. 3 августа остатки дивизиона — 12 боеспособных машин — отвели к Кракову. В октябре 1944 года в дивизион начали поступать САУ Jagdtiger, а оставшиеся в строю «элефанты» были сведены в 614-ю тяжёлую противотанковую роту.

Иллюстрация к книге — Тяжелый танк «Тигр». Смертельное оружие Рейха [i_171.jpg]

Компоновка САУ «Элефант»:

1 — 88-мм пушка; 2 — броневой щит на маске; 3 — перископический прицел; 4 — командирская башенка; 5 — вентилятор; 6 — лючок перископического прибора наблюдения; 7 — укладка 88-мм выстрелов на стенке боевого отделения; 8 — электромотор; 9 — ведущее колесо; 10 — тележка подвески; 11 — двигатель; 12 — генератор; 13 — сиденье наводчика; 14 — сиденье механика-водителя; 15 — направляющее колесо; 16 — курсовой пулемёт.

Иллюстрация к книге — Тяжелый танк «Тигр». Смертельное оружие Рейха [i_172.jpg]

«Элефант» из состава 3-й роты 653-го тяжёлого дивизиона истребителей танков. Польша, 1944 год.


До начала 1945 года рота находилась в резерве 4-й танковой армии, а 25 февраля её перебросили в район Вюнсдорфа для усиления противотанковой обороны. Последние бои «элефанты» провели в составе так называемой группы Риттера (капитан Риттер был командиром 614-й батареи) в конце апреля в Вюнсдорфе и Цоссене. В окружённом Берлине последние два самоходных орудия «Элефант» были подбиты в районе площади Карла-Августа и церкви Св. Троицы.

Иллюстрация к книге — Тяжелый танк «Тигр». Смертельное оружие Рейха [i_173.jpg]

Бронированная ремонтно-эвакуационная машина Tiger (Р).


До наших дней сохранилось две САУ этого типа. В Музее бронетанкового вооружения и техники в Кубинке экспонируется «Фердинанд», захваченный Красной Армией в ходе Курской битвы, а в Музее Абердинского полигона в США — «Элефант», который достался американцам в Италии, под Анцио.

Иллюстрация к книге — Тяжелый танк «Тигр». Смертельное оружие Рейха [i_174.jpg]

«Фердинанд» на выставке трофейного вооружения в ЦПКиО им. Горького в Москве. 1944 год.


Тактико-технические характеристики САУ «Фердинанд»

Иллюстрация к книге — Тяжелый танк «Тигр». Смертельное оружие Рейха [i_175.jpg]
«ШТУРМТИГР»
Иллюстрация к книге — Тяжелый танк «Тигр». Смертельное оружие Рейха [i_176.jpg]

«Штурмтигр» во время полигонных испытаний в Германии, осень 1944 года. Машина не имеет бортовых крыльев и кольца-противовеса на стволе бомбомёта.


5 августа 1943 года Гитлер отдал приказ начать разработку тяжёлого штурмового орудия, предназначенного для уничтожения сильно укреплённых опорных пунктов противника. Его конструкция являлась логическим продолжением средних штурмовых танков StuG 33 на базе танка Pz.III и Brummbär на базе Pz.IV. Обе машины были вооружены 150-мм орудиями, мощности которых, как показал опыт боёв на Курской дуге, не хватало даже для уничтожения полевых укреплений.

Иллюстрация к книге — Тяжелый танк «Тигр». Смертельное оружие Рейха [i_177.jpg]

Шаровая установка 380-мм бомбомёта.


Первоначально планировалось вооружить новую самоходку 210-мм гаубицей, но в окончательном варианте разработчики остановились на реактивном 380-мм корабельном бомбомёте — Gerät 562, он же Raketenwerfer 61, который и является наиболее интересной частью этой САУ.

Бомбомёт, выпускавшийся заводом фирмы Rheinmetall-Borsig в Дюссельдорфе, заряжался с казённой части. Замок бомбомёта представлял собой стальную плиту толщиной 65 мм, перемещавшуюся в горизонтальной плоскости с помощью реечного механизма. После заряжания между снарядом и плитой замка оставался зазор 12 см. Такое положение снаряда объяснялось особенностями конструкции ударно-спускового механизма.

Иллюстрация к книге — Тяжелый танк «Тигр». Смертельное оружие Рейха [i_178.jpg]

Вид на казённую часть бомбомёта Raketenwerfer 61. Затвор в открытом положении.


Шаровая установка, в которой был смонтирован бомбомёт, допускала его наведение в горизонтальной плоскости до 10° на сторону, а в вертикальной от 0° до 85°.

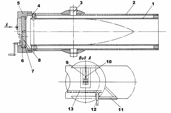
Иллюстрация к книге — Тяжелый танк «Тигр». Смертельное оружие Рейха [i_179.jpg]

Схема 380-мм бомбомёта Raketenwerfer 61:

1 — ствол; 2 — рубашка; 3 — цапфа; 4 — болт крепления ствола к рубашке; 5 — казённая часть; 6 — отверстие для воспламенения запальной трубки снаряда; 7 — обтюраторная канавка; 8 — замок; 9 — ударно-спусковой механизм; 10 — боевой рычаг; 11 — жёлоб для замка; 12 — ручка открывания замка; 13 — рейка.

Вход
Поиск по сайту
Ищем:
Календарь