Книга Печи для бань и саун своими руками, страница 19 – С. Калюжный

Авторы: А Б В Г Д Е Ж З И Й К Л М Н О П Р С Т У Ф Х Ч Ш Ы Э Ю Я
Книги: А Б В Г Д Е Ж З И Й К Л М Н О П Р С Т У Ф Х Ц Ч Ш Щ Ы Э Ю Я
Бесплатная онлайн библиотека LoveRead.ec

Онлайн книга «Печи для бань и саун своими руками»

📃 Cтраница 19

Четвертый и пятый ряды необходимы для укрепления дверки топки, они выполняются кладкой «на ребро». Далее можно переходить к обкладыванию топливника изнутри, а также нагревательной плиты жаростойким кирпичом. Также следует выложить плашмя ряд кирпичей над дверкой. Его уровень должен совпадать с поверхностью кирпичей, выложенных «на ребро». После этого можно переходить к монтажу перемычки между дымовыми каналами, длина каждого из которых должна составлять 17 см.

Для удобства зачерпывания нагретой воды необходимо, чтобы наружный край водонагревательной емкости выступал за край печки.

Верхний край емкости должен располагаться на 7 см ниже пятого ряда кирпича, поверх которого следует уложить 20-миллиметровую железную плиту.

Шестой ряд выкладывается жаростойким кирпичом «на ребро», а в обогревательной плите — плашмя.

Седьмой и восьмой ряды необходимы для фиксации дверки паровой камеры, при этом кирпич кладется все так же ребром. Сверху восьмого ряда монтируют пластины из металла.

Следующий ряд выкладывают кирпичом «на ребро», а внутри обогревательного щитка кладка должна производиться плашмя. Кирпич в десятом ряду следует укладывать плашмя, а внутри обогревательного щитка — «на ребро», сверху располагая металлическую пластину.

С одиннадцатого по тринадцатый ряд кладку необходимо производить «на ребро». Внутри одиннадцатого ряда осуществляется кладка двух рядов плашмя располагающихся кирпичей. Сверху на двенадцатый ряд следует уложить пластины и полосы из стали, а поверх тринадцатого ряда — только полосы.

На четырнадцатом ряду осуществляется монтаж дымовой заслонки.

После кладки пятнадцатого ряда можно переходить к заключительному шестнадцатому ряду, на котором асбест должен прижаться к деревянной потолочной поверхности.

Завершающим этапом кладки является устройство дымовой трубы, состоящей из пяти рядов плашмя расположенных кирпичей.

Дополнительные элементы и их установка

При устройстве печных конструкций особое внимание следует уделить выбору и установке дополнительных элементов.

Печные приборы представляют собой специальные изделия, обеспечивающие оптимальный режим работы и безопасного обслуживания печей. Для их изготовления обычно используется сталь и чугун. При выборе приборов лучше всего отдавать предпочтение стальным, так как они меньше изнашиваются и не так подвержены коррозии от разрушающего действия высоких температур.

Среди печных приборов выделяют задвижки, печные вьюшки, топочные и поддувальные дверки, колосниковые решетки и др.


Задвижка

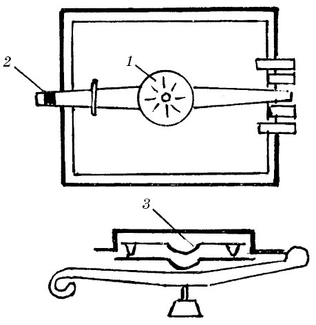
Задвижка (рис. 26) предназначена для регулирования тяги в дымовой трубе во время топки и отключения прибора от трубы после ее окончания. Она состоит из чугунного движка и рамки.

Иллюстрация к книге — Печи для бань и саун своими руками [i_057.jpg]

Рис. 26. Задвижка: 1 — движок; 2 — рамка


Движок путем перемещения в пазах рамки способен изменять площадь сечения входного отверстия дымовой трубы. Благодаря этому происходит уменьшение или, наоборот, увеличение разрежения.

Для того чтобы закрытие дымовой трубы после окончания топки печи было более плотным, рекомендуется установить две задвижки, расположив их одну над другой.


Печная вьюшка

Печная вьюшка (рис. 27) представляет собой чугунную рамку с отверстием, которое перекрывается блинком и крышкой. Благодаря двойному перекрытию отверстия холодный воздух не попадет в корпус печи, а следовательно, период ее остывания будет более продолжительным.

Иллюстрация к книге — Печи для бань и саун своими руками [i_058.jpg]

Рис. 27. Печная вьюшка: а — чугунная рамка; б — блинок; в — крышка


Размеры вьюшки по рамке, как правило, составляют 280 х 280 мм, а диаметр отверстия — 174 мм.

Топочные герметические дверки

Топочные герметические дверки (рис. 28) бывают прямоугольными и круглыми. Плотность их закрывания обеспечивается специальным прижимным устройством, которое представляет собой планку с винтом, находящимся в середине планки. При его закручивании давление переходит на чугунное полотно, которое плотно прижимается к рамке прибора.

Иллюстрация к книге — Печи для бань и саун своими руками [i_059.jpg]

Рис. 28. Топочные герметические дверки: 1 — планка; 2 — прижимной винт; 3 — отражатель


Размеры топочной герметической круглой дверки составляют 285 х 285 мм, а у прямоугольной дверки они могут быть разными: 280 х 235, 220 х 225, 250 х 250, 270 х 225 мм.

Поддувальные дверки необходимы для регулирования силы тяги и подачи воздуха под колосниковую решетку.

Количество воздуха, проникающего через нее, во многом зависит от силы тяги дымовой трубы. Тягу можно регулировать путем изменения положения движка чугунной задвижки и полотна поддувальной дверки.

Через дымовую трубу производят удаление золы, которая образуется в зольнике печи. Поддувальные герметические дверки бывают овальными и прямоугольными. Размеры овальной дверки составляют 205 х 165 мм, а у прямоугольной дверки они могут различаться: 250 х 190, 240 х 160, 250 х 185 мм.


Колосниковые решетки

Колосниковые решетки и одинарные чугунные колосники (рис. 29) необходимы для обеспечения равномерного притока воздуха в топливник печи через нижние слои горящего топлива.

Благодаря этому в печах, работающих на твердом топливе, создаются благоприятные условия для поддержания процесса горения, который протекает во взаимодействии разогретых частей топлива с кислородом воздуха.

Колосниковые решетки могут быть уложены цельными или состоять из отдельных одинарных колосников. Для больших топок чаще всего применяют одинарные колосники, так как редко встречаются цельные конструкции подходящего размера.

В цельных конструкциях проделывают специальные прорези, через которые воздух будет подаваться в зону горения.

Колосниковые решетки или одинарные колосники должны быть уложены таким образом, чтобы их прорези были направлены вдоль топливника.

Иллюстрация к книге — Печи для бань и саун своими руками [i_060.jpg]

Рис. 29. Колосниковые решетки и колосники: а — обыкновенная колосниковая решетка; б — решетка для угля; в — одинарный колосник

Вход
Поиск по сайту
Ищем:
Календарь