Онлайн книга «Полы, арки и перегородки в современном доме»
|
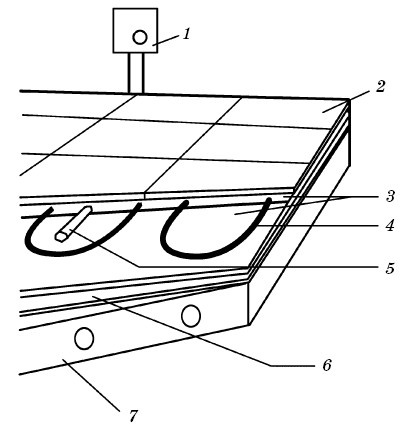
Если нагревательный кабель по какой-либо причине впоследствии будет поврежден, не стоит задумываться о смене всей системы. С помощью специального оборудования можно локализовать место повреждения, вскрыть покрытие пола и установить ремонтную муфту. Нагревательные кабели Главным элементом теплого пола является нагревательный кабель, необходимый для преобразования протекающего по нему электрического тока в тепло. Во время работы теплого пола он может нагреваться до 60–70 °C, а материалы изоляции и оболочки выдерживают температуры выше 10 °C. От надежности нагревательной системы и муфты, соединяющей холодные провода с нагревательным кабелем, зависит срок службы всей системы «теплый пол». Как правило, он составляет не менее 15–20 лет. Наиболее распространенными являются одножильная и двухжильная экранированные конструкции резистивных нагревательных кабелей. Нагревательная система из одножильного кабеля содержит две муфты и два «холодных конца». Система с двухжильным кабелем на одном конце армируется концевой заглушкой, а на другом находится муфта и «холодный конец». Схема укладки двухжильного кабеля более простая. Правила выбора системы «теплый пол» Выбирая систему «теплый пол», необходимо учитывать следующие факторы: – будет ли теплый пол использоваться только в качестве подогрева, или он полностью заменит систему отопления; – особенности помещения; – мощность электропроводки; – какой вид термостата необходим; – теплоизоляцию какого вида предпочтительнее использовать в данном помещении; – стоимость нагревательного кабеля. Различные системы предназначены для установки на определенную площадь. При этом нужно учитывать, что нагревательную секцию помещают на расстоянии 10–20 см от стен для того, чтобы расположить в этой зоне мебель. Поэтому площадь обогрева следует определять с вычетом неотапливаемых зон. Рассчитывая мощность, стоит обратить внимание на особенности помещения: первый или последний этаж, большое остекление, покрытие пола толстыми плитами керамогранита и т. п. В таких случаях требуется увеличение мощности системы. Что касается деревянного пола или паркетной доски, то из-за низкой теплопроводности дерева стандартной удельной мощности теплого пола может быть недостаточно. Но ее также не следует излишне увеличивать, так как под деревянным покрытием в пространстве между лагами температура на поверхности кабеля, как правило, повышается и происходит нежелательный нагрев дерева. Правила выбора датчика температуры Различают два типа датчиков температуры – пола и воздуха. Выбор, как правило, делают в зависимости от того, показания какого датчика учитываются при работе всей системы. Если теплый пол предназначен только для поддержания комфортной температуры пола, то целесообразно использовать датчик пола. Если важна температура воздуха и система заменяет основное отопление, то необходим датчик воздуха. При монтаже терморегулятора с датчиком температуры воздуха для получения наиболее точных данных рекомендуется выбирать место установки, учитывая воздушные потоки и возможные сквозняки. Правила выбора терморегулятора Задача терморегулятора – обеспечивать поддержание или регулирование в помещении нужной температуры. Согласно нормам предельно допустимая мощность бытовых терморегуляторов для теплого пола составляет 3 кВт. Не рекомендуется устанавливать программируемый терморегулятор в ванной или туалете, так как мощность системы там, как правило, небольшая (не более 400 Вт), а отрегулировать настройку по времени включения и выключения проблематично: так как понадобится помещение может в любое время суток. Программируемые терморегуляторы подходят для использования в таких помещениях, как спальня или гостиная. Также лучше не использовать дешевые «электромеханические» терморегуляторы, которые отличаются неточностью своего биметаллического термочувствительного элемента. Наиболее популярны комнатные электронные термостаты с датчиком пола (рис. 9). Они отличаются простотой в использовании и надежностью. ![]() Рис. 9. Подключение терморегулятора: 1 – фаза; 2 – ноль; 3 – датчик температуры пола; 4 – кабель нагревательный Для обогрева зонированных помещений, например кухни-столовой или гостиной-столовой, рекомендуется обратить внимание на терморегулятор с управлением по двум независимым датчикам пола. Особенно это актуально при использовании разных типов напольного покрытия с различными теплопроводящими характеристиками. Режимом обогрева можно управлять с помощью одного контроллера. Один такой теплопорт может независимо управлять двумя зонами обогрева. В каждой зоне можно задавать программу подогрева на неделю. Последние новинки техники оснащены возможностью управления контроллером через СМС-сообщения. Монтаж теплого пола Система «теплый пол» состоит из нагревательной секции, термостата с датчиком температуры, специальных аксессуаров для облегчения и ускорения монтажа (монтажная лента, гофрированная пластиковая трубка и т. п.), теплоизоляции (рис. 10). Монтаж системы осуществляется на выровненный и очищенный черновой пол, на который предварительно уложена теплоизоляция, а поверх нее закреплена монтажная лента. ![]() 1 – терморегулятор; 2 – керамическая плитка;3 – цементно-песочная стяжка; 4 – нагревательный кабель; 5 – трубка с датчиком пола; 6 – теплоизоляция; 7 – перекрытие Именно с помощью такой ленты происходит крепление нагревательной секции. Для соединения с термостатом «холодные концы» необходимо вывести на стену. Предварительно следует определить место установки термостата, а затем уложить рядом с ним между двумя нитками нагревательного кабеля гофрированную трубку для установки датчика температуры. ![]() Совет мастера Рекомендуется сделать предварительный эскиз укладки, на котором должны быть указаны места расположения муфты и термодатчика. При возможном повреждении системы (например, при последующем ремонте) эта схема будет очень полезной. |
![Иллюстрация к книге — Полы, арки и перегородки в современном доме [i_018.jpg] Иллюстрация к книге — Полы, арки и перегородки в современном доме [i_018.jpg]](img/book_covers/050/50130/i_018.jpg)
![Иллюстрация к книге — Полы, арки и перегородки в современном доме [i_019.jpg] Иллюстрация к книге — Полы, арки и перегородки в современном доме [i_019.jpg]](img/book_covers/050/50130/i_019.jpg)
![Иллюстрация к книге — Полы, арки и перегородки в современном доме [i_021.jpg] Иллюстрация к книге — Полы, арки и перегородки в современном доме [i_021.jpg]](img/book_covers/050/50130/i_021.jpg)