Книга Полы, арки и перегородки в современном доме, страница 42 – В. Котельников

Авторы: А Б В Г Д Е Ж З И Й К Л М Н О П Р С Т У Ф Х Ч Ш Ы Э Ю Я
Книги: А Б В Г Д Е Ж З И Й К Л М Н О П Р С Т У Ф Х Ц Ч Ш Щ Ы Э Ю Я
Бесплатная онлайн библиотека LoveRead.ec

Онлайн книга «Полы, арки и перегородки в современном доме»

📃 Cтраница 42
Гипсокартонные перегородки

Использование перегородок с гипсокартонными листами – универсальный способ зонирования помещения (рис. 75).

Такая перегородка состоит из металлического каркаса, с двух сторон обшитого листами гипсокартона, поэтому она очень легкая и ее можно монтировать даже на слабых перекрытиях. Гипсокартонные перегородки являются экологически чистыми и достаточно прочными.

Иллюстрация к книге — Полы, арки и перегородки в современном доме [i_124.jpg]

Рис. 75. Перегородка из гипсокарто


Гипсокартон представляет собой композитный листовой материал длиной 2,5–4,8 м, шириной 1,21,3 м и толщиной 8-24 мм.

Основу такого листа составляет гипс, с обеих сторон обшитый картоном. Для получения требуемых показателей (плотности, прочности и т. д.) в него добавляются компоненты, улучшающие эксплуатационные свойства отделки.

Картон служит армирующим каркасом, а также прекрасной основой для покрытия отделочными материалами – штукатуркой, керамической плиткой, краской. В результате получается материал одновременно твердый и гибкий. Гигиенические и физические характеристики гипсокартона делают его пригодным для использования в жилых помещениях. Это экологически чистый материал, который не содержит токсичных веществ и не оказывает на окружающую среду вредного воздействия. Кроме того, гипсокартон – энергосберегающий материал, огнестойкий и негорючий, обладающий хорошими звукоизоляционными свойствами.

В промышленном масштабе, помимо листов обычного гипсокартона (ГКЛ), выпускаются водостойкие (ГКЛВ) и огнестойкие (ГКЛО). Водостойкие содержат специальные вещества, которые предупреждают появление грибка. Поэтому они подойдут для создания перегородок в ванной комнате.

Такая перегородка состоит из металлического каркаса из стоечных профилей, которые крепят к несущим конструкциям помещения и отделывают гипсовыми панелями. Улучшить звуко– и теплоизоляционные свойства поможет установка каркаса на прорезиненную или полиуретановую ленту. Кроме того, между панелями прокладывается слой минеральной ваты или стекловаты.

Длина таких перегородок может быть любой, а высота зависит от толщины стальных стоек и расстояния между ними. Во время расчета перегородки учитывается нагрузка при подвешивании на нее, например, навесных шкафов. От этого зависят толщина листа, а также тип и толщина самого каркаса.

С помощью гипсокартонных конструкций можно создавать объекты сложной формы, что часто используют дизайнеры при разработке интерьера. Именно поэтому современный ремонт зачастую трудно представить себе без этого материала. Несомненным преимуществом гипсокартонных перегородок являются их дешевизна и легкость последующей отделки.


Технология монтажа и установка перемычки

Каркас перегородки монтируется при проведении отделочных работ, после монтажа сантехнической и электромонтажной разводки и установки приточно-вытяжной вентиляции.

Установка сборных перегородок осуществляется непосредственно на перекрытие или подготовленные чистые полы. Для монтажа необходимо проложить разметочные линии и сразу же указать места расположения дверных проемов и стоечного профиля.

План расположения перегородок с помощью отвеса переносится на стены и потолок, что поможет облегчить монтаж и избежать перекоса конструкции. Затем на направляющие и стоечные профили, примыкающие к ограждающим конструкциям, необходимо наклеить специальную уплотнительную ленту или герметик.

Направляющие профили следует установить по разметке и прикрепить к полу с помощью дюбелей. Для этого сквозь профиль в основание пола перфоратором нужно просверлить отверстия. Для деревянного основания применяются шурупы по дереву, и в этом случае сверлить пол не потребуется. Далее собирают верхние направляющие профили, выравнивают их с помощью уровня и крепят дюбелями. Направляющие фиксируются на стенах, полу и потолку с шагом не более 1 м (рис. 76).

Иллюстрация к книге — Полы, арки и перегородки в современном доме [i_125.jpg]

Рис. 76. Монтаж направляющих


На один профиль приходится, как минимум, 3 крепления. Крайние дюбели нужно монтировать на расстоянии не более 50 см от конца профиля.

В направляющие профили по отвесу необходимо установить стоечные профили с шагом 60 см. Стойки монтируются сначала в нижний, а затем – в верхний направляющий профиль.

Профили следует соединить между собой с помощью шурупов-саморезов. Во время монтажа каркаса устанавливаются дверные коробки. Стоечные профили, которые ограничивают дверной проем, монтируются на всю высоту перегородки. Стойку, на которой находятся дверные петли, необходимо по всей длине усилить деревянным бруском такого же сечения или соединить шурупами с одноразмерным направляющим профилем.

Когда каркас установлен, с одной его стороны монтируется ГВЛ или ГКЛ. Технология установки и крепления листов аналогична облицовке стен по каркасу.

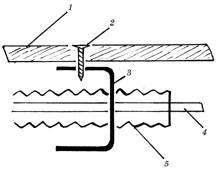
Горизонтальные стыки должны выполняться вразбежку и опираться на перемычки из направляющего профиля. Головки шурупов нужно утопить на 1 мм и обязательно зашпаклевать. Монтаж листов осуществляется последовательно в одном направлении. После облицовки одной стороны каркаса необходимо смонтировать электропроводку. Кабель прокладывается перпендикулярно стойкам, в которых для этого имеется специальное отверстие. Одновременно кабель должен находиться в специальной гофротрубе (рис. 77).

Иллюстрация к книге — Полы, арки и перегородки в современном доме [i_126.jpg]

Рис. 77. Прокладка кабеля: 1 – гипсокартон;2 – саморез; 3 – вертикальная направляющая; 4 – кабель; 5 – гофротруба


На следующем этапе в гипсокартонных листах вырезают отверстия под монтажные коробки выключателей и розеток, причем для гипсокартонных перегородок производится специальная фурнитура.

Затем между стоечными профилями укладывают звукоизоляционный материал, который также можно приклеить к установленному листу гипсокартона (рис. 78).

После завершения изоляционных и электротехнических работ осуществляется монтаж гипсокартонных листов с другой стороны каркаса (рис. 79).


Оштукатуривание

Многие сомневаются в том, стоит ли штукатурить гипсокартонную перегородку. Ровная поверхность гипсокартонного листа не нуждается в тщательной шпатлевке. Когда швы между листами будут заполнены и проклеены серпянкой (рис. 80), необходимо нанести лишь тонкий ее слой.

Такая отделка не является трудоемкой и не требует значительного расхода материалов. Отделку с использованием сухой штукатурки рекомендуется производить в том случае, если листы гипсокартона имеют значительные искривления, а также для заделывания микрорельефа. Иногда при небрежном монтаже гипсокартонного листа в нем появляются отверстия.

Вход
Поиск по сайту
Ищем:
Календарь