Онлайн книга «Сварочные работы. Практический справочник»
|
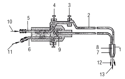
Кислородная резка бывает двух типов (рис. 22): ![]() Рис. 22. Схема выполнения различных видов резки: а – разделительной; б – поверхностной ✓ разделительная, посредством которой вырезают различные заготовки, раскраивают листовой металл и осуществляют разделку кромок под сварку. Собственно процесс резки состоит в том, что материал вдоль линии предполагаемого реза доводят до температуры его воспламенения в кислороде. Металл сгорает в режущей струе, которая одновременно вытесняет из зоны разреза образующиеся оксиды. ✓ поверхностная. Для этого предназначаются специальные резаки, с помощью которых с металла снимают поверхностный слой. При небольшом угле наклона резака к металлу (15–20°) его поверхностный слой сгорает в кислородной струе, оставляя после себя углубление овального сечения. Для выполнения такой резки скорость истечения кислорода должна быть меньше, а скорость перемещения резака выше, чем при осуществлении разделительной резки. Этот вариант резки используют для удаления трещин, различных пороков сварных швов, литья и проч. Например, резак РАП-62 делает канавку шириной 6–20 мм и глубиной 2–6 мм со скоростью 1–6 пог. м/мин. При резке изделие подогревается горючими газами – заменителями ацетилена. Обычно это природный, коксовый, нефтяной, пиролизный газ, пропан или пары керосина. Резка невозможна без специального инструмента – универсального инжекторного резака (рис. 23), основные технические характеристики которого представлены в таб. 9. Таблица 9 Параметры универсального резака ![]() ![]() Рис. 23. Схема устройства инжекторного резака: 1 – головка; 2 – трубка; 3, 4 – вентиль; 5 – кислородный ниппель; 6 – ацетиленовый ниппель; 7 – наружный мундштук; 8 – внутренний мундштук; 9 – инжектор; 10 – кислород; 11 – ацетилен; 12 – горючая смесь; 13 – режущий кислород В отличие от инжекторной горелки в резаке имеется дополнительная трубка с вентилем, через которую подается режущий кислород. ![]() Рис. 24. Схема устройства мундштуков для кислородной резки: а – щелевой; б – многосопловый; 1 – внутренний; 2 – наружный Мундштуки резаков бывают двух типов (рис. 24): ✓ щелевыми, состоящими из наружного и внутреннего мундштуков, при смене которых можно регулировать расход газов и мощность подогревающего пламени. В промежуток между ними поступает смесь газов подогревающего металл пламени, а режущий кислород проходит по центральному каналу. ✓ многосопловыми, в которых выход отверстий подогревательного пламени не параллельный, а фокусируется в точке, которая находится примерно в 12 мм от торца. При этом пламя всех выходов ориентировано на одну зону, благодаря чему скорость резки возрастает. Мундштук – самая главная деталь резака. Для качественной резки необходимо заботиться о герметичности соединений и не допускать прилипания к нему металлических брызг. В связи с этим лучшим материалом для изготовления мундштуков является бронза БрХ0,5. Наличие в ней хрома препятствует оседанию капель металла на поверхности мундштука. При необходимости переходить от сварки к резке, что нередко требуется при монтажных или ремонтных работах, применяют вставные резаки. По своей конструкции они однотипны, основное отличие заключается в устройстве мундштуков. Вставные резаки подключают к стволу газовой горелки, предварительно сняв сменный наконечник. Вставной универсальный инжекторный резак РГС-70 массой 600 г используют для ручной раздельной резки стали толщиной от 3 до 70 мм. Резаки бывают малой, средней, а также большой мощности, которые предназначаются для резки металла толщиной 3–100, 100–200 и 200–300 мм соответственно. Последние используют исключительно газы – заменители ацетилена, поскольку имеют большие проходные каналы для них. К каждому резаку прилагается набор мундштуков с номерами от 0 до 6. При отсутствии горючего газа для кислородной резки применяют пары керосина, и такие устройства называются керосинорезами (рис. 25). В комплект к нему входит бачок для керосина, работающий по тому же принципу, что и садовый опрыскиватель ![]() Рис. 25. Устройство керосинореза РК-71: 1 – гайка крепления головки; 2 – асбестовая набивка; 3 – гайка; 4 – кожух-экран; 5 – трубка-испаритель; 6 – инжекторная трубка; 7 – вентиль При работе с резаками необходимо соблюдать несколько правил: 1. Перед использованием резака, следует внимательно прочитать прилагающуюся инструкцию. 2. Проверить исправность инструмента, правильность подсоединения всех шлангов, инжекцию в каналах горючих газов и герметичность соединений (при необходимости подтянуть их). 3. Установить рабочее давление ацетилена и кислорода согласно инструкции. 4. Зажечь резак, для чего на четверть оборота открутить кислородный вентиль и создать разряжение в газовых каналах, после чего открыть вентиль подачи газа и зажечь горючую смесь. 5. Прогреть металл (он должен окраситься в соломенный цвет), открыть кислородный вентиль и выполнить рез. 6. В процессе работы надо поддерживать нормальное подогревающее пламя. Для охлаждения мундштука можно использовать воду, при этом следует закрыть только газовый вентиль (кислородный должен быть открыт). 7. Чтобы прекратить резку, надо перекрыть сначала вентиль горючего газа, а потом кислородный. То, насколько качественным получится рез, зависит от положения резака. При резке стали толщиной 50 мм действуют следующим образом: 1. Разогревают кромку до температуры плавления, направив на нее подогревающее пламя горелки. 2. Держат мундштук строго под прямым углом к поверхности металла, чтобы подогревающее пламя, а потом и струя режущего кислорода были направлены вдоль вертикальной оси листа. Только прогрев металл, открывают кислородную струю. 3. Прорезав металл сначала на всю толщину, резак перемещают вдоль линии реза. При этом угол наклона устройства изменяют на 30° (10–15°, если режут сталь толщиной 100–200 мм) в сторону, противоположную направлению движения, а скорость движения уменьшают. |
![Иллюстрация к книге — Сварочные работы. Практический справочник [i_036.jpg] Иллюстрация к книге — Сварочные работы. Практический справочник [i_036.jpg]](img/book_covers/049/49723/i_036.jpg)
![Иллюстрация к книге — Сварочные работы. Практический справочник [i_037.jpg] Иллюстрация к книге — Сварочные работы. Практический справочник [i_037.jpg]](img/book_covers/049/49723/i_037.jpg)
![Иллюстрация к книге — Сварочные работы. Практический справочник [i_038.jpg] Иллюстрация к книге — Сварочные работы. Практический справочник [i_038.jpg]](img/book_covers/049/49723/i_038.jpg)
![Иллюстрация к книге — Сварочные работы. Практический справочник [i_039.jpg] Иллюстрация к книге — Сварочные работы. Практический справочник [i_039.jpg]](img/book_covers/049/49723/i_039.jpg)
![Иллюстрация к книге — Сварочные работы. Практический справочник [i_040.jpg] Иллюстрация к книге — Сварочные работы. Практический справочник [i_040.jpg]](img/book_covers/049/49723/i_040.jpg)