Книга Сварочные работы. Практический справочник, страница 10 – Сергей Кашин

Авторы: А Б В Г Д Е Ж З И Й К Л М Н О П Р С Т У Ф Х Ч Ш Ы Э Ю Я
Книги: А Б В Г Д Е Ж З И Й К Л М Н О П Р С Т У Ф Х Ц Ч Ш Щ Ы Э Ю Я
Бесплатная онлайн библиотека LoveRead.ec

Онлайн книга «Сварочные работы. Практический справочник»

📃 Cтраница 10
Оборудование и материалы

Газовая сварка и резка металлов осуществляются с помощью различных газов, их смесей, паров бензина и керосина.

Кислород при обычных температуре и давлении – это прозрачный газ, имеющий следующие физические характеристики:

✓ без вкуса, запаха, цвета;

✓ масса 1 м3 при 20 °C и атмосферном давлении составляет 1,33 кг;

✓ при нормальном давлении горит при температуре 182,9 °C.

Химическая активность кислорода очень высока: он взаимодействует со всеми химическими элементами, за исключением инертных газов, причем эти реакции относятся к экзотермическим.

Для сварки и резки применяют технический кислород, который в зависимости от содержания чистого кислорода (остальное приходится на азот и аргон) различается по сортам:

✓ I сорт – содержание чистого кислорода составляет 99,7 %;

✓ II сорт – не менее 99,5 %; ✓ III сорт – 99,2 %. Чистота кислорода – это очень важный показатель, особенно для резки металлов. При его повышении улучшается качество обработки металла и снижается расход самого газа.

Кислород требует осторожного обращения, поскольку при контакте с органическими веществами (маслами, угольной пылью и проч.) он склонен к самовоспламенению и взрыву в результате их быстрого окисления. Кроме того, он может взаимодействовать с горючими газами и парами, что тоже может закончиться взрывом.

Ацетилен (C2H2) относится к горючим газам и чаще всего используется при газовой сварке. При горении в кислороде его температура повышается до 3050–3150 °C. Физические характеристики ацетилена:

✓ бесцветный газ с резким запахом;

✓ легче воздуха (масса 1 м3–1,09 кг);

✓ сжижается при температуре –82 °C;

✓ переходит в твердое состояние при температуре –85 °C;

✓ взрывоопасен (температура самовоспламенения – 240–630 °C; при повышении давления она может быть и ниже, если, например, при давлении 0,3 МПа температура воспламенения составляет 530 °C, то при давлении 2,2 МПа – 350 °C), особенно в смеси с кислородом или воздухом.

Технический ацетилен производят двумя способами – из карбида кальция либо из природного газа, нефти или угля. Причем второй вариант обходится гораздо дешевле (примерно на 30–40 %).

3. Пропан-бутановая смесь, или технический пропан (бесцветный газ, с резким неприятным запахом, несколько тяжелее воздуха), количество бутана в котором составляет 5–30 %. Эту смесь получают в процессе газодобычи или переработки нефти.

Температура, которую дает пропан-бутановая смесь, составляет 2400 °C, поэтому ее применяют при сварке стали толщиной не более 3 мм (в этом отношении она не уступает по результативности ацетилену), в противном случае металл не удается прогреть до такой степени, чтобы получить прочное соединение. Но низкотемпературное пламя применяют при резке, правке и очистке металла. Для сварочных работ пропан-бутановая смесь доставляется в баллонах в жидком состоянии. В верхней части емкости он самопроизвольно меняет свое агрегатное состояние на газообразное.

4. Природный газ, 77–98 % которого составляет метан (газ без цвета и запаха), остальное количество приходится на бутан, пропилен, пропан и др. Так как температура метан-кислородной смеси составляет 2100–2200 °C, сфера ее применения достаточно узкая.

5. Водород (H2) – самый легкий газ, горючий, не имеет ни цвета, ни запаха. В смеси с кислородом становится взрывоопасным, поэтому его применение при сварочных работах требует строжайшего соблюдения техники безопасности.

Кроме перечисленных веществ, в сварке находят применение и другие горючие газы, например коксовый газ, городской газ, нефтяной газ, пары бензина и керосина.

Для осуществления газовой сварки необходимо специальное оборудование.

Ацетиленовый генератор, предназначенный для получения ацетилена в процессе взаимодействия карбида кальция с водой. Согласно ГОСТу 5190–78 такие устройства различаются по следующим параметрам:

✓ давление получаемого газа (генераторы низкого и среднего давления – до 0,02 МПа и 0,02– 0,15 МПа соответственно);

✓ способ установки (стационарные и передвижные);

✓ производительность (стационарные – 5, 10, 20, 40, 80, 160, 320 или 640 м3/ч, а передвижные – 1,25 и 3 м3/ч). Чаще всего используют генераторы производительностью 1,25 м3/ч;

✓ характер взаимодействия карбида с водой. Различаются генератора типов КК («карбид в воду»), ВК («вода на карбид»), К (контактный), ВВ («вытеснение воды»), ВК + ВВ (комбинированный).

Независимо от системы функционирования все генераторы состоят из газообразователя, газосборника, предохранительного затвора и автомата для регулировки вырабатываемого ацетилена. В качестве примера можно привести ацетиленовый генератор ГВР-1,25 М, конструкция которого представлена на рис. 13.

Технические характеристики передвижных ацетиленовых генераторов наиболее распространенных марок представлены в табл. 2.

2. Предохранительные затворы, устанавливаемые на ацетиленовые генераторы для предупреждения обратного удара, возникающего при попадании в трубопроводы и шланги, через которые поступают горючие газы, взрывной волны и пламени. Если это происходит с высокой скоростью, то удар может дойти до генератора и вызвать его взрыв.


Таблица 2

Технические параметры некоторых передвижных ацетиленовых генераторов производительностью 1,25 м3

Иллюстрация к книге — Сварочные работы. Практический справочник [i_015.jpg]

Предохранительные затворы бывают сухими и жидкостными (обычно водяными) (рис. 14). Последние распространены в большей степени.

Для генераторов низкого давления предназначены затворы открытого типа, для генераторов среднего давления – закрытого типа. Принцип действия такого устройства заключается в том, что взрывная волна и пламя, не доходя до потока горючего газа, либо стравливаются в атмосферу, либо гасятся внутри затвора.

3. Баллоны для сжатых газов. Принципиальное отличие баллонов для ацетилена от баллонов для других горючих газов состоит в том, что этот газ содержится в ацетилен-ацетоновом растворе, поглощенном специальной пористой массой (активированным углем марки БАУ-А (ГОСТ 6217–74)), которой и заполнен весь баллон. Это позволяет безопасно хранить, транспортировать и использовать ацетилен. Сейчас все чаще применяют литую пористую массу на основе силикатов.

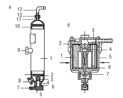
Иллюстрация к книге — Сварочные работы. Практический справочник [i_016.jpg]

Рис. 14. Предохранительные затворы: а – жидкостного типа ЗСГ-1,25–4: 1 – корпус; 2 – колпачок обратного клапана; 3 – гуммированный клапан; 4 – корпус обратного клапана; 5 – сетка; 6 – пробка для слива воды из обратного клапана; 7 – ниппель для ввода ацетилена в затвор; 8 – пробка; 9 – контрольная пробка; 10 – пламяпреградитель; 11 – штуцер; 12 – накидная гайка; 13 – ниппель; б – сухого типа ЗСН-1,25: 1 – корпус; 2 – мембрана; 3 – крышка; 4 – отсечный сферический клапан; 5 – стакан; 6 – уплотнитель; 7 – обратный клапан

Вход
Поиск по сайту
Ищем:
Календарь