Книга Парники и теплицы. Строим и выращиваем, страница 6 – С. Калюжный

Авторы: А Б В Г Д Е Ж З И Й К Л М Н О П Р С Т У Ф Х Ч Ш Ы Э Ю Я
Книги: А Б В Г Д Е Ж З И Й К Л М Н О П Р С Т У Ф Х Ц Ч Ш Щ Ы Э Ю Я
Бесплатная онлайн библиотека LoveRead.ec

Онлайн книга «Парники и теплицы. Строим и выращиваем»

📃 Cтраница 6

Строительство зимней двускатной теплицы проходит в несколько этапов. Это сооружение, состоящее из стен высотой 160 см, по ним укладывается два бруса, имеющие сечение 12 х 15 см.

В брусьях выполняются пазы, служащие в качестве опоры для парниковых рам размером 106 х 160 см. Рамы верхними концами должны входить в пазы, выполненные в коньковом брусе. Верхний же коньковый брус, имеющий сечение 12 х 15 см, крепится к нижним обвязочным брусьям.

Для этого используются легкие стропила с сечением 8 х 10 см. Их располагают таким образом, чтобы находящиеся с краю рамы (из каждых трех) размещались на этих стропилах. Расстояние между последними в среднем должно составлять 319 см.

Иллюстрация к книге — Парники и теплицы. Строим и выращиваем [i_016.jpg]

На заметку!

С целью дополнительного утепления потолок теплицы подшивается досками. Пустое пространство между горбылем и тесом заполняется опилками. К стыкам парниковых рам прибиваются рейки, а посредине потолка устанавливается вытяжная труба из дерева. Благодаря ей обеспечивается циркуляция воздуха в теплице зимой.

В том случае, если стены теплицы выполняются из шлакобетона либо камня, они возводятся поверх легкого ленточного фундамента. Глубина его заложения – 35–40 см. В таком случае брусья обвязки располагаются прямо на стенах. При строительстве теплицы со стенами из дерева обвязочные брусья укладываются в шипы круглых столбов-стоек, которые вкопаны на расстоянии 2 м друг от друга. С обеих сторон столбы-стойки зашиваются притесанным горбылем или досками. После этого они засыпаются опилками.

Внутренняя ширина теплицы ограничивается углом наклона кровли. Если угол наклона составляет 20°, ширина теплицы между ее стенками – 3 м. Увеличивая угол наклона кровли, можно пропорционально уменьшить ширину постройки.

Внутри теплицы выполняется стеклянная перегородка, на которой располагают дверь. Последняя отделяет культивационное помещение, а также печь и дымоход от тамбура.

Вдоль обеих стен размещаются стеллажи шириной 120 см каждый. Их располагают на высоте 60–70 см от пола. Между стеллажом и стеной сооружения оставляется зазор в 5 см – для циркуляции воздуха.

После того как будут уложены рамы кровли, все зазоры зашиваются рейками. Поверх бруса помещают козырек, выполненный с использованием кровельного железа. Козырек должен свешиваться на 2–3 см на обвязочный брус рамы. Вентиляцию в теплице обеспечивает поднятие 1 или 2 рам на скатах. Зимой теплицу закрывают деревянными ставнями.

Зимняя двускатная теплица с постоянной кровлей

Многим садоводам и огородникам по душе устройство теплиц, имеющих кирпичные стены и постоянную остекленную двускатную кровлю. Подобные сооружения отличаются долговечностью, удобством в использовании и малозатратностью отопительной системы. Кроме того, такие теплицы пригодны для выращивания как овощей, так и фруктов.

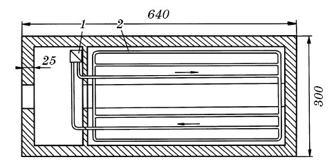
На сухом и легком грунте постройку обычно заглубляют в землю на 50–80 см. Если в теплице предполагается использовать печное отопление, сооружение не должно превышать в длину 5 м. Печь обычно располагается в пристройке или тамбуре, находящемся на одном конце помещения. Длина тамбура обычно не больше 150 см. От теплицы его отделяют с помощью капитальной стены, имеющей дверь, либо стеклянной перегородкой (рис. 6).

Иллюстрация к книге — Парники и теплицы. Строим и выращиваем [i_017.jpg]

Рис. 6. План зимней двускатной теплицы с постоянной кровлей: 1 – котел для подогрева воды;2 – трубы отопления (см)


При естественном плотном грунте стены теплицы воздвигаются на ленточном фундаменте. Толщина последнего составляет 40–50 см. В боковых стенах на уровне пола выполняются отдушины. На зимний период их закрывают.

Кровля тамбура включает потолок, стропила и обрешетку. Поверх последней укладывается кровельное железо либо толь.

Кровля выполняется обычно двускатной. Угол наклона кровельных сторон теплицы составляет 20–25°.

Два бруса с фигурным сечением 12 х 15 см укладываются по боковым стенам на толь, коньковый брус скрепляется с нижними брусьями обвязки с помощью легких стропил, имеющих сечение 7 х 10 см. Они устанавливаются попарно.

В брусьях с обеих сторон выбираются фальцы, после чего в них укладываются стекла. Установив нижние обвязочные брусья и врезав в них стропила, на внешней стороне стены выполняют слив. Его закрывают козырьком из кровельного железа, который должен свешиваться на 5–6 см.

Остекление кровли производится по шпросам, имеющим сечение 4 х 7,5 см. На них имеются желобки, обеспечивающие сбор конденсата, осаждаемого в зимнее время на стекле. Шпросы выполняются из сухих обрезков бруса, перед монтажом они загрунтовываются краской. Эти элементы устанавливаются таким образом, чтобы промежуток между фальцами был шире стекол на 3–4 см.

Иллюстрация к книге — Парники и теплицы. Строим и выращиваем [i_018.jpg]

Совет специалиста

Поскольку наилучшая теплоотдача наблюдается при одинарной стеклянной кровле, необходимо использовать только качественное стекло и замазку. Стекло укладывается по фальцам на слой замазки толщиной 2 мм. Укладку начинают от нижнего бруса обвязки с захлестом одного стекла на другое 2 см. Если все выполняется правильно, нижнее и верхнее стекло заходят на 4 см на верхний и нижний коньковый брусья. Зафиксированные стекла прикрепляются к шпросам с помощью проволочных шпилек длиной 2 см. Сверху стекло обмазывается по фальцам замазкой.

Во время крепления шпроса к нижнему обвязочному брусу производится обрезка первого наискось. Необходимо оставить в верхней части конец длиной 5 см, который можно свободно уложить на козырек из металла. К верхнему коньковому брусу шпрос крепят аналогичным образом. В целях сохранения тепла в теплице верхний коньковый брус утепляется войлоком, прикрываемым с обеих сторон бруса тесом.

Для того чтобы обеспечить вытяжную вентиляцию, вдоль конька по обеим сторонам постройки выполняются форточки размером 40 х 60 см. Два боковых шпроса, а также брус с выполненным в нем пазом образуют для них коробку. Третий шпрос, средний, врезается в брус с пазом.

Пол в теплице делают из бетонных плит. Грунт предварительно выравнивается, после чего на нем устраивается песчаная подушка, на которую и укладываются плиты.

Внутри теплицы размещаются стеллажи шириной 120 см, в которых планируется выращивать культуры. Их ставят вдоль боковых стен помещения. Между стеллажами и стенами должен оставаться зазор 8-10 см.

Весенняя стационарная теплица с односкатной крышей

Ранняя весна – это время, когда хорошим подспорьем для овощеводов и огородников служит остекленное помещение, в котором можно выращивать рассаду, проращивать клубни и производить черенкование культур. В качестве такого сооружения может выступать односкатная теплица, действующая с середины марта или начала апреля по ноябрь.

Вход
Поиск по сайту
Ищем:
Календарь