Книга Гараж. Строим своими руками, страница 8 – Иван Никитко

Авторы: А Б В Г Д Е Ж З И Й К Л М Н О П Р С Т У Ф Х Ч Ш Ы Э Ю Я
Книги: А Б В Г Д Е Ж З И Й К Л М Н О П Р С Т У Ф Х Ц Ч Ш Щ Ы Э Ю Я
Бесплатная онлайн библиотека LoveRead.ec

Онлайн книга «Гараж. Строим своими руками»

📃 Cтраница 8

Сборные ленточные фундаменты составляют из стандартных железобетонных фундаментных блоков, предварительно изготовленных на строительном предприятии и доставленных к месту возведения гаража. Поскольку железобетонные блоки обладают большой массой, для их установки необходимо пользоваться автомобильным краном.

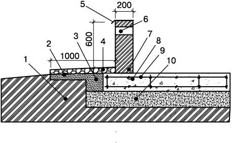
Кирпичные ленточные фундаменты возводят в сухих грунтах. Кладку стен фундамента ведут так же, как и кладку несущих кирпичных стен (рис. 4.4). Для возведения фундамента можно применять только глиняный кирпич.

Правильно устроенная гидроизоляция особенно важна при устройстве кирпичного фундамента. Цоколь и уширение основания фундамента чаще всего выполняют из монолитного бетона. Цоколь необходим лишь в условиях слабых грунтов.

Иллюстрация к книге — Гараж. Строим своими руками [i_013.jpg]

Рис. 4.4. Кирпичный ленточный фундамент и монолитный бетонный фундамент: 1 — горизонтальная гидроизоляция; 2 — отмостка; 3 — кирпичная кладка; 4 — монолитная фундаментная плита; 5 — монолитный железобетон


Монолитные бетонные фундаменты

Монолитные бетонные фундаменты возводят в следующем порядке. Сначала вырывают траншею, затем в дно траншеи втрамбовывают щебень, поливая его сверху цементным раствором. Это делается для того, чтобы предотвратить вытекание раствора из опалубки. С этой же целью, а также для большего удобства отделения опалубки от затвердевшего бетона на внутреннюю сторону деревянных щитов можно закрепить на гвозди рубероид или другой листовой либо рулонный материал.

Сама опалубка устраивается из предварительно смонтированных деревянных щитов. Два щита высотой, равной высоте фундамента, помещают в траншею и закрепляют в вертикальном положении на расстоянии, равном ширине запроектированного фундамента.

Первоначально щиты нужно зафиксировать снаружи кольями, которые вбивают в землю и прибивают гвоздями к щитам. Затем конструкцию укрепляют сверху поперечными планками, чтобы щиты не разошлись при заливке бетона.

После того как монтаж опалубки завершен, начинают готовить бетон.

Для изготовления бетона лучше всего подходит цемент марки 300 или 400. Наиболее удачным заполнителем бетона является крупный чистый песок и гранитный щебень. При этом на одну часть цемента необходимо взять три части песка и четыре части щебня. В бетонный раствор для фундаментов добавляют немного воды с таким расчетом, чтобы он не тек в траншею, а укладывался с последующей утрамбовкой. Чем жестче бетон, тем прочнее будет фундамент. Утрамбовывать бетон нужно послойно, каждые 10–15 см укладывания.

Фундамент необходимо сформировать из бетона целиком единовременно, не допуская его высыхания до полного завершения запланированного объема. Если же работы придется прервать, то высохшую поверхность бетона перед укладкой последующего слоя нужно полить водой.

Если строят фундамент с уширением в нижней части, то заливка бетоном осуществляется в два этапа. Первоначально монтируется опалубка и бетонируется уширение, а затем поверх уширения монтируется другой комплект опалубки и снова проводится бетонирование.

Плитные фундаменты

Для строительства гаража из дерева, металла или облегченных пеноблоков совершенно не обязательно устраивать ленточный или столбчатый фундаменты. Можно остановить свой выбор на плитном фундаменте (рис. 4.5).

Иллюстрация к книге — Гараж. Строим своими руками [i_014.jpg]

Рис. 4.5. Конструкция плитного фундамента для деревянного или металлического гаража: 1 — грунт; 2 — глиняный замок; 3 — песчано-гравийная смесь толщиной 150 мм; 4 — отмостка из брусчатки, уложенная на цементно-песчаную смесь; 5 — отлив по цоколю; 6 — продух; 7 — цоколь из цокольных блочков; 8 — бетонная плита; 9 — сетка 300 × 300 из арматуры Ø12, шаг стоек 600 мм; 10 — уплотненная противопучинистая подушка из смеси щебня 60 % и песка 40 %, h = 250 мм


Плитный фундамент можно соорудить быстрее и дешевле, чем все другие варианты. Фундамент составляют из обычных железобетонных плит на предварительно подготовленной площадке.

Самая главная особенность возведения такого фундамента — необходимость тщательной заделки торцов плит. Лучше всего все продольные отверстия железобетонных плит заполнить щебнем, битым кирпичом или крупнозернистым отсевом песка, извести и цемента.

В некоторых случаях плиточного фундамента может оказаться недостаточно, несмотря на облегченную конструкцию стен. Тогда устраивают столбчатый фундамент из бетона (монолитные столбы), из железобетонных блоков (сборные столбы). Изготовленные заранее опоры-сваи (свайные столбцы), «шурупы» из металла вкручиваются в землю (винтовые столбцы). Самостоятельно можно взяться за два первых варианта возведения фундамента, а два последних варианта (свайный и винтовой фундамент) выполняются только опытными профессиональными бригадами.

Иногда возникает необходимость соорудить более серьезный и дорогой фундамент. Это объясняется некоторыми особенностями местности, когда грунт имеет высокую влажность, он очень слабый и подвижный, а также наблюдается перепад высот на местности более 2 м. Поэтому, решив строить деревянный гараж самостоятельно, всегда начинайте с исследования геологических особенностей местности.

Устройство отмостки

После того как любой фундамент завершен и засыпаны воздушные пазухи между стенами фундамента и траншеи, устраивают отмостку. Отмостка проводится по всему наружному периметру гаража. Это необходимо для исключения подтапливания талыми водами и осадками грунта под фундаментом.

Отмостку заглубляют ниже поверхности земли на 15–20 см. Проще всего и чаще всего достаточно устроить ее из глины, в которую помещают (втрамбовывают) щебень. Затем этот глинокаменный слой необходимо забетонировать или заасфальтировать. Ширина отмостки, как правило, составляет 60–80 см.

Отмостку делают с небольшим уклоном от стены гаража, чтобы вода не собиралась в лужи у стен, а стекала на участок.

Фундамент возводят выше поверхности земли для того, чтобы предотвратить просачивание влаги в стены и их отсыревание. Верхняя часть фундамента называется цоколем. Между цоколем и стеной обязательно устраивается гидроизоляция.

Столбчатый фундамент

Если качество грунта оставляет желать лучшего, то экономичнее устроить не ленточный, а глубоко заложенный столбчатый фундамент. Но, к сожалению, такая конструкция фундамента не позволит устроить в гараже погреб.

Столбчатый фундамент (рис. 4.6) можно соорудить из самых различных материалов. Это может быть кирпич, камень, бетон, железобетон и даже дерево. Поскольку это наименее трудоемко, чаще всего встречаются железобетонные, монолитные или сборные фундаменты.

Реклама
Вход
Поиск по сайту
Ищем:
Календарь