Книга Гараж. Строим своими руками, страница 25 – Иван Никитко

Авторы: А Б В Г Д Е Ж З И Й К Л М Н О П Р С Т У Ф Х Ч Ш Ы Э Ю Я
Книги: А Б В Г Д Е Ж З И Й К Л М Н О П Р С Т У Ф Х Ц Ч Ш Щ Ы Э Ю Я
Бесплатная онлайн библиотека LoveRead.ec

Онлайн книга «Гараж. Строим своими руками»

📃 Cтраница 25

Среди этих требований важнейшим является контроль температуры воздуха, которая в холодное время года не должна опускаться ниже 5 °C, и интенсивности воздушного обмена, который по нормам для гаража на один автомобиль составляет 180 м3/ч.

Гаражная система воздухообмена может быть естественной, искусственной или комбинированной.

Естественная вентиляция

Естественная вентиляция гаражных помещений — наиболее экономичный вариант (рис. 13.1, 13.2). Для устройства такой системы необходимо с наветренной стороны на стене гаража создать отверстие, требуемое для притока свежего воздуха. Отверстие нужно разместить ближе к углу гаража, приблизительно в 20 см над землей, и закрыть его решеткой.

Иллюстрация к книге — Гараж. Строим своими руками [i_059.jpg]

Рис. 13.1. Естественная вентиляция гаража, поперечный разрез гаража со смотровой ямой: 1 — направление воздуха; 2 — обрешетка; 3 — яма

Иллюстрация к книге — Гараж. Строим своими руками [i_060.jpg]

Рис. 13.2. Естественная вентиляция гаража, продольное сечение гаража без смотровой ямы: 1 — направление воздуха; 2 — вентиляционные отверстия в двери гаража; 3 — вентиляционный короб


С противоположной стороны гаража в потолке монтируется воздуховод, который предназначен для удаления из гаражного помещения загрязненного воздуха. Внутри гаража воздуховод крепится на расстоянии 20 см ниже потолка, а снаружи, над крышей, примерно на 50 см выше. Сверху воздуховод следует накрыть колпаком (рис. 13.3).

Иллюстрация к книге — Гараж. Строим своими руками [i_061.jpg]

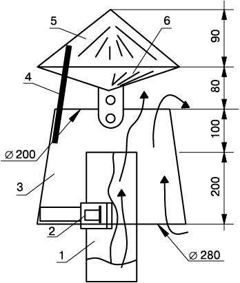
Рис. 13.3. Колпак вытяжной трубы: 1 — труба; 2 — хомут крепления; 3 — конусная насадка; 4 — лапка крепления колпака; 5 — колпак; 6 — колпак с двойным конусом


Несмотря на кажущуюся простоту, такая система будет функционировать лишь при соблюдении важных правил. Во-первых, нужно соблюсти разницу между высотами, на которых располагается оголовок вытяжной трубы и приточное отверстие, — она должна составлять не менее 3 м. Во-вторых, нужно правильно подобрать диаметр вентиляционных труб для отвода воздуха. В качестве расчетного норматива принято считать 15 мм трубы на один квадратный метр площади гаража. Значит, если площадь гаража 10 м2, нужно воспользоваться трубой диаметром 15 см.

Система естественной вентиляции обычно практикуется в неотапливаемых гаражах.

Если в гараже есть подвал, то для его вентиляции следует спроектировать независимую систему. Чтобы воздух свободно проникал в подвал, нужно предусмотреть небольшой наклон воздуховода. Нижняя часть воздуховода должна быть размещена примерно на 20 см выше пола подвала, а верхняя его часть должна выступать из гаражной стены на 20 см, лучше с наветренной стороны.

Недостаток системы естественной вентиляции — зависимость от погодных факторов (температура воздуха, направление и сила ветра), что приводит к неодинаковой эффективности системы в разное время года и суток. Очевидно, что летом эффективность будет существенно ниже, поэтому все приточные и вытяжные отверстия должны быть открыты.

Комбинированная вентиляция

Комбинированная система вентиляции гаража представляет собой сочетание механической вытяжной системы и системы естественной приточной вентиляции. От уже рассмотренного варианта ее отличает наличие вытяжного вентилятора небольшой мощности (до 100 Вт).

Приточные решетки размещают в нижней части торцевой стены. Вытяжной вентилятор может монтироваться в стену (так называемый осевой вентилятор) или устанавливаться на крыше гаража (на утепленном участке воздуховода, проходящем через кровлю).

Комбинированный метод вентиляции также имеет недостатки. Главный из них заключается в том, что в зимнее время очень сильно выхолаживается помещение. Кроме того, необходимо предусмотреть периодическое включение и выключение вентилятора. Поэтому следует установить дополнительный электрический прибор — электронный таймер (рис. 13.4). Впрочем, в последние годы стоимость таких приборов невелика. Таймеры программируются на включение и выключение в течение суток, до 10 раз в течение недели, что очень удобно.

Иллюстрация к книге — Гараж. Строим своими руками [i_062.jpg]

Рис. 13.4. Электронный таймер


Вентилятор монтируется на кронштейнах к стене или потолку. Лучше приобрести центробежные вентиляторы, которые имеют большее давление по сравнению с осевыми.

Недостаток комбинированной системы, помимо необходимости установки реле или таймера, заключается в отсутствии предварительного подогрева воздуха в зимний период. При низкой температуре наружного воздуха это может привести к местному переохлаждению гаража. Кроме того, эта система в своем классическом виде не предусматривает фильтрацию воздуха от пыли.

Положительные стороны — простота устройства, высокая эффективность вентиляции гаража (по сравнению с системой естественной вентиляции), небольшой расход электроэнергии, небольшие материальные затраты.

Механическая вентиляция

Система механической вентиляции гаража лишена недостатков, перечисленных в двух предыдущих вариантах. Приток и удаление воздуха выполняются отдельно приточной и вытяжной системой. Такая система вентиляции может эффективно работать в любое время года, вне зависимости от погодных и других факторов.

Приточную установку и вентилятор монтируют под потолком. Для забора и выброса воздуха в стенах гаража (или крыше) делаются отверстия. Для распределения воздуха используется система воздуховодов. Приток воздуха ведется из нижней зоны помещения. Чаще всего приточный воздуховод размещают на уровне пола, а вытяжной — прокладывают под потолком. В воздуховод вставляются решетки.

Единственный недостаток механической системы вентиляции — сравнительно высокая цена.

Приточную вентиляционную систему вы можете оборудовать в гараже своими руками. Для этого необходимы как минимум электрический калорифер, фильтрующий элемент и мощный вентилятор.

В приточной вентиляционной системе воздух первоначально поступает в вентиляционный канал, затем попадает в приточную установку, в которой выполняется фильтрация и нагрев воздуха. Очищенный теплый воздух подается в воздухораспределитель.

Вытяжная система может представлять собой или один осевой вентилятор, или канальный вентилятор с воздуховодом. Во втором варианте воздух равномерно распределяется по объему гаража, однако этот вариант более трудоемкий и требует наличия свободного пространства под потолком.

Реклама
Вход
Поиск по сайту
Ищем:
Календарь