Книга Гараж. Строим своими руками, страница 20 – Иван Никитко

Авторы: А Б В Г Д Е Ж З И Й К Л М Н О П Р С Т У Ф Х Ч Ш Ы Э Ю Я
Книги: А Б В Г Д Е Ж З И Й К Л М Н О П Р С Т У Ф Х Ц Ч Ш Щ Ы Э Ю Я
Бесплатная онлайн библиотека LoveRead.ec

Онлайн книга «Гараж. Строим своими руками»

📃 Cтраница 20

Если в качестве материала для стен выбран оцилиндрованный брус, то придерживаются стандартной технологии строительства стен из него. В этом случае важно качественно заделать паклей пространство между брусьями.

Сооружение крыши

В деревянных гаражах чердачные перекрытия также делают из древесины, усиливая конструкцию стальной решеткой и подшивным потолком. Подшивку утепляют керамзитом, шлаком или плитами из минеральной ваты.

Деревянные гаражи, как и кирпичные, могут иметь односкатную (для пристроенных гаражей) или двускатную крышу.

Односкатные крыши устраивают из деревянных балок, которые покрывают досками. Уклон кровли при этом должен составлять 1:20. Сначала необходимо закрепить торцевую и фасадную горизонтальные балки, затем промежуточные. Поверх балок, толщина которых не менее 4–5 см, кладут настил из досок. Настил обрабатывают холодной битумной мастикой (бензино-битумным раствором). Гидроизолирующее покрытие представляет собой три слоя рубероида, скрепленных между собой битумной мастикой.

Двускатную крышу чаще всего выполняют для отдельно стоящих гаражей, устройство такой крыши более трудоемко. Конструктивно двускатная крыша состоит из фермы, обрешетки и подкоса (рис. 9.2). Стропильные фермы изготавливают из досок сечением 5 × 10 см.

Иллюстрация к книге — Гараж. Строим своими руками [i_047.jpg]

Рис. 9.2. Двускатная крыша для гаража: 1 — ферма; 2 — обрешетка; 3 — подкос


Сначала отдельно соединяют стропила, применяя для скрепления «ног» и затяжки железные скобы или строганые доски шириной не менее 25 см и посадив их на гвозди или шурупы. Затем раму из собранных вместе стропил (интервал между ними — не более 1,5–2 м) поднимают и устанавливают на месте будущей крыши.

Раму прикрепляют поверх устроенного предварительно гидроизоляционного слоя из рубероида. Стропила крепят, установив их в пазы и на столбы. Устойчивость конструкции обеспечивается за счет подкосов.

После закрепления рамы на стропилах устраивают деревянную обрешетку из брусьев сечением 5 × 5 см с интервалом 55 см. Поверх обрешетки располагают кровельный материал, как описано в предыдущей главе.

Ворота деревянного гаража

Поскольку гаражная конструкция из дерева или бруса не относится к разряду капитальных строений, от металлических ворот для гаража лучше отказаться. Предпочтительнее использовать секционные или роллетные ворота. Масса ворот такой конструкции меньше, а по стойкости к взлому она ненамного уступает традиционному металлу. Если в отсутствие хозяев в гараже не хранится ничего ценного, можно воспользоваться и обычными деревянными воротами распашного типа.

Внутренняя отделка и оборудование деревянного гаража выполняются аналогично отделке гаража из кирпича, силикатных блоков или любого другого материала.

Глава 10. Устройство погреба и смотровой ямы

Чтобы погреб или смотровая яма в гараже не доставили много неприятностей, их можно устраивать только в том случае, если уровень грунтовых вод на гаражном участке ниже 2,5 м.

Удобнее всего совместить стены погреба с ленточным фундаментом, а потолок — с цокольным перекрытием. Стены погреба можно сделать из бетона любого вида или, если на участке под строительство гаража сухой грунт, из глиняного кирпича, тщательно обожженного и полнотелого. В этом случае стены лучше оштукатурить.

При возведении бетонных стен погреба не обойтись без опалубки. Ее изготавливают из досок, как и при укладке фундамента. Поскольку бетон укладывают слоями толщиной 30 см, секции опалубки имеют высоту 35–40 см.

Укладывая каждый последующий слой бетона, возводят соответствующую секцию опалубки, крепя ее к предыдущей гвоздями и рейками.

В процессе укладки бетона его трамбуют, а опалубку обстукивают.

Перекрытие над погребом, как правило, делается из железобетона. Стены погреба, потолок и люк нужно утеплить. Люк желательно загерметизировать.

Чтобы в погребе не было сыро, необходимо произвести его гидроизоляцию. Если во время выкапывания погреба были обнаружены источники воды, их следует заделать жирной глиной на глубину 50 см. Чтобы собирать воду на дне котлована, нужно вырыть специальные приямки или устроить дренаж.

Гидроизоляцию можно устраивать одновременно с возведением кирпичной стены погреба, набивая в промежуток между стенкой и котлованом слой глины толщиной 15–20 см. Облицовку кирпичом ведут до уровня балок пола, а сверху оборудуют железобетонное перекрытие с люком.

Если грунт сухой, а уровень грунтовых вод лежит ниже пола погреба, то для гидроизоляции погреба достаточно обмазать его стены горячим битумом или холодной битумной мастикой. Если же грунт сильно увлажнен, то необходимо поверх слоя мастики оклеить стену рубероидом или другим листовым гидроизоляционным материалом, а вокруг стен устроить замок из плотной желтой глины.

Если грунтовые воды лежат выше пола погреба, то придется произвести гидроизоляцию из многослойных рубероидных ковров.

Полы в погребе настилаются, как правило, по грунту. В сухих подвалах с этой целью нужно вынуть грунт на глубину 10 см, засыпать вместо него песок, утрамбовать его, а затем забетонировать пол, уложив слой бетона толщиной около 10 см.

Пол в погребе можно также сделать из глины. Глина укладывается в два слоя: 25 и 15 см. Слои разделяются толевой гидроизоляцией. На основание из бетона или железобетона можно уложить дощатый пол, плитку и т. п.

В погребе обязательно нужно предусмотреть систему вентиляции, устроив в стенах цоколя или нижнего уровня стен гаража вентиляционные окна или установив специальные вентиляционные устройства.

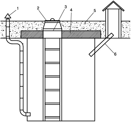
Естественную вентиляцию погреба можно устроить, предусмотрев сооружение двух вертикальных каналов для тока воздуха, приточного (у пола) и вытяжного (под потолком) (рис. 10.1).

Необходимо, чтобы верхний конец приточной трубы размещался у поверхности земли, а выход вытяжного канала — над крышей гаража. Минимальный размер каналов — 14 × 14 см.

Поддержание постоянной температуры в погребе можно обеспечить укладкой по перекрытию погреба слоя полимерной пленки или рубероида, засыпав его сверху слоем земли толщиной 30–50 см.

Иллюстрация к книге — Гараж. Строим своими руками [i_048.jpg]

Рис. 10.1. Погреб с вытяжными каналами: 1 — приточная труба; 2 — вытяжная труба; 3 — железобетонная плита; 4 — грунт; 5 — люк-лаз; 6 — крышка


В верхней части стен погреба можно устроить несколько ниш для хранения продуктов.

Перед закладкой осеннего урожая овощей в погреб его необходимо просушить. Простой способ сушки — сжигание в погребе 10–12 таблеток сухого горючего.

Реклама
Вход
Поиск по сайту
Ищем:
Календарь