Книга Водоснабжение, канализация и отопление загородного дома, страница 16 – Иван Никитко

Авторы: А Б В Г Д Е Ж З И Й К Л М Н О П Р С Т У Ф Х Ч Ш Ы Э Ю Я
Книги: А Б В Г Д Е Ж З И Й К Л М Н О П Р С Т У Ф Х Ц Ч Ш Щ Ы Э Ю Я
Бесплатная онлайн библиотека LoveRead.ec

Онлайн книга «Водоснабжение, канализация и отопление загородного дома»

📃 Cтраница 16

Для колодезных фильтров применяются куски шунгита размером до 0,1 см (продается расфасованным по 15 кг). Необходимое количество шунгита рассчитывается следующим образом:

✓ если за сутки расходуется до 20 % общего объема колодезной воды, то рекомендованная пропорция шунгита для колодезного фильтра – 1 кг на 20 л общего объема воды в колодце;

✓ если за сутки расходуется более 20 % общего объема колодезной воды, то рекомендованная пропорция шунгита для колодезного фильтра – 1 кг на 10 л общего объема воды в колодце.


Минимальная толщина слоя шунгита в колодезном фильтре – 5 см, при меньшей толщине слоя воздействие этого сорбирующего вещества неэффективно. Обычно слой шунгита на дне колодца имеет толщину 0,2–0,25 м (при внутреннем диаметре колодца 1 м это составляет 200–250 кг шунгита).

Используя шунгит, следует помнить, что в стандартной расфасовке имеется не только щебень, но и шунгитовая пыль. Поэтому шунгит засыпается в сухой колодец (с откачанной водой), затем еще сутки колодцем нельзя пользоваться, пока не осядет пылевая взвесь. Рекомендуется использовать для устройства шунгитового фильтра съемный поддон из дубовых досок, так как шунгит раз в год нужно заменять или по крайней мере тщательно промывать (для этого шунгит из колодца извлекается).

Иллюстрация к книге — Водоснабжение, канализация и отопление загородного дома [i_051.jpg]

Примечание

Случается, что вместо шунгита предлагают шунгизит – материал, сходный по внешнему виду с шунгитом, но не имеющий его свойств. Шунгизит значительно дешевле, поэтому многие охотно покупают его, не зная, что в этом материале нет необходимых сорбирующих и антибактериальных компонентов. Рекомендуется следующий метод экспресс-проверки: шунгит обладает электропроводностью, и если соединить лампочку с батарейкой последовательным соединением (можно использовать лампочку и батарейку от карманного фонарика), а затем коснуться двумя контактами (проводками) шунгита, то лампочка загорится.

В качестве фильтра нередко используется кремень: куски диаметром 15–25 мм помещаются в капроновую сетку, и эта сетка опускается в колодец. Считается, что вода в таком колодце (с кремневым фильтром) приобретает целебные свойства: способствует нормализации обмена веществ, иммунной системы, ускоряет заживление ожогов и язв.

Не рекомендуется устраивать из кремня постоянный фильтр и использовать его без сетки – кремень нуждается в замене раз в 6 месяцев, и гораздо удобнее просто поднять на поверхность сетку и заменить наполнитель, чем каждый раз откачивать воду из колодца для замены кремня в донном фильтре. Использовать стальную сетку не рекомендуется – даже нержавеющая сталь не выдерживает постоянного контакта с водой, в то время как капроновая сетка абсолютно инертна.

Скважины

При глубоком залегании водоносного слоя (свыше 20 м) лучше устраивать скважину (трубчатый колодец), чем шахтный колодец – устройство шахтного колодца такой глубины очень трудоемко, дорого, да и использовать его не слишком комфортно (разве что если оборудовать колодец насосом). Для обустройства скважины достаточно пробурить саму скважину (отверстие в грунте) на нужную глубину, а затем опустить в нее стальные трубы. Скважину можно соорудить буквально за день-два, и обходится она в 5–6 раз дешевле шахтного колодца. К минусам скважин относится необходимость обращения к специалистам – бурение скважины такой глубины требует наличия специальных инструментов.

Само устройство трубчатого колодца очень простое (Рис. 1.26).

Иллюстрация к книге — Водоснабжение, канализация и отопление загородного дома [i_052.jpg]

Рис. 1.26.Забивная скважина: 1 – обратный клапан; 2 – сетчатый фильтр; 3 – всасывающая труба; 4 – ручной поршневой насос; 5 – отмостка; 6 – обсадная труба; 7 – водоносный слой


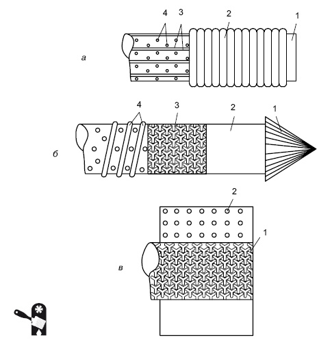
Скважины нуждаются в эффективных фильтрах, устанавливаемых в водоприемной части, которые надежно защищают поступающую к насосу воду от механических примесей. Чаще всего используется дырчатый фильтр без сетки. Он представляет собой стальную перфорированную трубу, в которой в шахматном порядке просверлены круглые отверстия диаметром 1–2 см. Популярностью пользуется щелевой фильтр – он отличается от дырчатого формой отверстий, в нем применяются не круглые, а прямоугольные отверстия размером 2,6 × 1,5 мм. Часто используется и сетчатый фильтр, который представляет собой перфорированную трубу из нержавеющей стали с опорной латунной проволокой, сверху которой закреплена сетка с отверстиями диаметром 0,1–0,5 мм. Для большей эффективности применяется также и гравийный фильтр: либо гравий засыпается непосредственно в скважину (подобно тому как в шахтных колодцах устраивается гравийная подушка для фильтрации воды), либо в скважину опускается сетчатый фильтр и обсыпается крупным гравием по мере подъема обсадной трубы (Рис. 1.27).

Иллюстрация к книге — Водоснабжение, канализация и отопление загородного дома [i_053.jpg]

Рис. 1.27.Варианты фильтров для скважины: а – дырчатый фильтр с проволочной обмоткой (1 – труба; 2 – проволочная обмотка; 3 – опорная проволока; 4 – отверстия); б – сетчатый фильтр (1 – наконечник; 2 – труба; 3 – сетка; 4 – проволочная обмотка); в – гравийный фильтр на основе сетчатого (1 – сетка; 2 – гравий)

Абиссинский колодец

Если водоносный горизонт находится неглубоко, а грунт рыхлый (песок, смесь песка и гальки), возможно сооружение абиссинского трубчатого забивного колодца. Фактически абиссинский колодец представляет собой простейшую скважину, которую можно соорудить самостоятельно.

Для сооружения абиссинского колодца требуется минимум материалов и оборудования: оцинкованная стальная труба (диаметром 25–60 мм) и газовые трубы. Соединенные с помощью резьбы, эти трубы образуют абиссинскую колонну. На нижней ее части располагается стальной конусообразный наконечник – именно этой частью колонна забивается в грунт. Диаметр наконечника немного больше диаметра трубы – труба должна относительно свободно перемещаться внутри скважины. В нижней части трубы должно быть отверстие, закрытое фильтром (в качестве фильтра обычно используется мелкая сетка из нержавеющей стали) (Рис. 1.28).

Иллюстрация к книге — Водоснабжение, канализация и отопление загородного дома [i_054.jpg]

Рис. 1.28.Устройство абиссинского колодца с ручным насосом для подъема воды: 1 – грунт; 2 – водоносный слой грунта; 3 – бетонный цоколь; 4 – наконечник; 5 – труба с отверстиями для поступления воды; 6 – фильтрующая сетка

Реклама
Вход
Поиск по сайту
Ищем:
Календарь