Книга Баня, сауна. Строим своими руками, страница 6 – Иван Никитко

Авторы: А Б В Г Д Е Ж З И Й К Л М Н О П Р С Т У Ф Х Ч Ш Ы Э Ю Я
Книги: А Б В Г Д Е Ж З И Й К Л М Н О П Р С Т У Ф Х Ц Ч Ш Щ Ы Э Ю Я
Бесплатная онлайн библиотека LoveRead.ec

Онлайн книга «Баня, сауна. Строим своими руками»

📃 Cтраница 6

Песчаные грунты проседают, то есть существенно уплотняются под нагрузкой. Песок не задерживает воду и зимой незначительно промерзает. Фундамент нужно закладывать на глубине от 40 до 70 см.

Необходимо опасаться пылеватых грунтов, или плывунов. Нет гарантии, что ваше сооружение не «поплывет» вместе с ними в самый неподходящий момент, поэтому перед началом строительства необходимо проконсультироваться с опытными специалистами.

В составе суглинистых грунтов от 3 до 30 % глины. Если в почве менее 10% глины, она называется супесчаной, при повышенном содержании — суглинистой.

Глинистые грунты могут сжиматься, размываться и вспучиваться при промерзании. Это самый ненадежный вариант при строительстве. В глинистых грунтах фундамент закладывается на всю глубину промерзания.

Какой же тип фундамента подойдет больше всего? Это решение нужно принимать в зависимости от грунта, на котором расположен участок. Два самых распространенных вида фундамента, которые применяются при строительстве бани, — ленточный и столбчатый.

В нашем случае по всем параметрам самым целесообразным специалисты считают ленточный монолитный фундамент мелкого заглубления, оборудованный мощным металлическим арматурным каркасом, о закладке которого мы далее расскажем подробно.

Но, конечно, перед закладкой любого фундамента необходимо подготовить для него площадку.

Подготовка площадки

Строительная площадка должна быть ровной, за исключением обязательного наклона на восток, запад либо юг для оттока дождевой и талой воды.

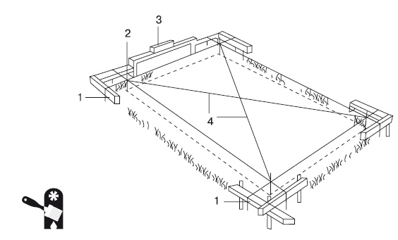
Прежде чем начертить на строительной площадке контур будущего фундамента, с почвы нужно удалить всю растительность. Затем следует тщательно выровнять поверхность (рис. 2.1).

Иллюстрация к книге — Баня, сауна. Строим своими руками [i_018.jpg]

Рис. 2.1. Разметка площадки под фундамент: 1 — обноска из досок; 2 — отвес; 3 — уровень; 4 — шнур


Ширина фундамента, как правило, рассчитывается с оглядкой на конструкцию будущих стен. Обязательная формула: ширина стен плюс 10 см.

Инструменты, нужные для разметки площадки: колышки длиной 50 см, шнур, рулетка, уровень, а также прямоугольный треугольник с катетами 30 и 60 см.

Определяем, с какого угла бани мы начнем. Вбиваем в этом месте первый колышек, а затем, надев на него треугольник, отмеряем по одной из его внешних сторон расстояние, соответствующее длине будущей продольной стены бани. По другой внешней стороне откладываем длину поперечной стены в осевых линиях.

Второй и третий колышки забиваем на пересечении осей, то есть на конечных точках длин стен.

Перемещаем треугольник в противоположный угол бани. Снова находим место пересечения осей и забиваем в этой точке четвертый колышек. Удостовериться, нет ли перекоса в замерах, можно, сопоставив диагонали в получившемся прямоугольнике.

Если все сделано правильно, разница в их длинах не превысит 2 см.

Следующий этап: берем столбики с предварительно прибитыми к ним досками и начинаем выполнять обноску на расстоянии 1–2 м от столбиков (доски крепим на высоте 1,5 м от земли так, чтобы их положение было строго параллельно положению банных стен). Прежде чем приступить к работе, еще раз удостоверьтесь с помощью уровня и рейки в том, что конструкция сооружена ровно.

Теперь вам предстоит нанести осевые размеры контура фундамента на верхнюю кромку обноски. Для этого сначала вобьем в зарубки гвозди так, чтобы строго над вбитыми в будущие углы колышками можно было ровно протянуть шнур.

Натянув оси и удостоверившись, что они проходят правильно, следует взять отвес и перенести осевые линии на площадку. Именно от них нужно откладывать во все стороны заданные расстояния, по которым пройдут линии, фиксирующие контуры внутренней и наружной стороны фундамента.

Начинаем копать. Помните, что строительство бани желательно завершить в один сезон, поэтому, как только котлован либо траншея вырыты, следует сразу же приступать к закладке фундамента.

Если вы копаете неглубокий котлован (до 1 м), его стены желательно делать строго вертикальными; если от 1 м, допустим некоторый уклон.

Чтобы грунт в процессе работы не сыпался, понадобятся щиты с распорками. Их следует установить между стенками котлована либо траншеи. Они извлекаются по окончании земляных работ.

Устройство ленточного фундамента

Если грунт на вашем участке неоднородный, то есть рельеф сам по себе неровный, а влажность почвы очевидна даже на ощупь, выбора нет: придется укладывать ленточный фундамент. О том, на какую глубину нужно это делать, вы узнаете, проведя исследования грунта (либо попросив об этом специалиста). В среднем она составляет 70–100 см.

Понятно, что первый этап приведения такого грунта в вид, позволяющий вашему участку стать строительной площадкой, — удаление растительного покрова. Поскольку грунтовые воды наверняка залегают близко к поверхности, слой дерна, скорее всего, достаточно велик. Его необходимо полностью удалить, а вместо него засыпать слой песка, смешанного с гравием, и как следует уплотнить.

Чем плохи глинистые и суглинистые грунты? Они, как никакие другие, сильно вспучиваются зимой. Если, заложив фундамент, вы не управились со строительными работами к исходу осени, то будущая баня, оставшаяся зимовать без завершенных стен, а также перекрытий и крыши, непременно разрушится или как минимум покосится. А если она уже готова, то из-за вспучивания грунта может «встать на цыпочки», поднявшись на 10 см! Результат предсказуем: трещины в стенах плюс перекос всего сруба.

Во избежание негативных последствий нужно заранее позаботиться о том, чтобы грунт как можно в меньшей степени вспучивался зимой и не оседал летом. Начиная строительство на глине либо на суглинке, сначала делаем «пробку» из песка толщиной 30 см. Если подземную часть фундамента в глинистом грунте вы можете устраивать без опалубки, то при возведении наземной части опалубка просто необходима.

Итак, первостепенное правило устройства фундамента в глинистом грунте: он должен закладываться ниже глубины промерзания почвы, то есть минимальная глубина должна составить 0,5 м.

Но это не единственная мера предосторожности! Вам все равно понадобится система защиты от вспучивания грунта, если не хотите, чтобы небольшая баня «выскочила» из земли вместе с промерзшей почвой. Чтобы этого не случилось, обязательно покройте фундамент солидолом и сделайте над траншеей, тянущейся по его периметру, небольшой вал из песка либо мелкого гравия.

Если вы приобрели либо получили в наследство участок, находящийся на торфянике или мелком песке, то вам придется, выкопав глубокую траншею, насыпать новый слой грунта, своего рода «пробку» из крупнозернистого песка, высотой не менее 30 см. Затем, чтобы она утрамбовалась, ее нужно обильно залить водой и дать песку спрессоваться.

Реклама
Вход
Поиск по сайту
Ищем:
Календарь