Книга Забор, ограда, калитка на дачном участке. Строим своими руками, страница 6 – Иван Никитко

Авторы: А Б В Г Д Е Ж З И Й К Л М Н О П Р С Т У Ф Х Ч Ш Ы Э Ю Я
Книги: А Б В Г Д Е Ж З И Й К Л М Н О П Р С Т У Ф Х Ц Ч Ш Щ Ы Э Ю Я
Бесплатная онлайн библиотека LoveRead.ec

Онлайн книга «Забор, ограда, калитка на дачном участке. Строим своими руками»

📃 Cтраница 6

Рис. 2.1. Элементы ограды:

1 — навершие; 2 — лаги; 3 — обрешетка; 4 — опорный столб; 5 — фундамент


Строительство любого забора, от самого простого плетня до художественно выполненного кирпичного ограждения, начинается с разметки территории. Даже устройство живой изгороди требует точной разметки, правда, несколько иной, чем в случае заборов с опорными столбами.

Расстояние между опорными столбами составляет обычно 2–2,5 м — это позволяет получить надежную ограду с невысокой парусностью и оптимальным количеством опорных

столбов. Если вы хотите сэкономить на опорных столбах за счет увеличения расстояния между ними, то учтите, что парусность вашего ограждения может повыситься таким образом, что первый же более или менее сильный ветер попросту завалит ограду.

Следует учитывать, что расстояние 2–2,5 м — это не расстояние между опорными столбами по осям, а длина пролетов (блоков обрешетки), поэтому, определяя места расположения опорных столбов, к этому расстоянию нужно прибавлять 10 см (по 5 см отступа от каждого опорного столба) и диаметр опорного столба. Если вы принимаете расстояние 2–2,5 м за расстояние между опорными столбами по осям, вам следует соответствующим образом рассчитать длину пролетов, в противном случае после установки столбов вы можете обнаружить, что подготовленные вами блоки обрешетки либо длиннее, чем требуется, либо короче.

Разметка территории под ограждение осуществляется с помощью обычной веревки (или шнура), которая натягивается по периметру будущего забора. Колышки вбиваются на места, где планируется разместить опорные столбы.

Иллюстрация к книге — Забор, ограда, калитка на дачном участке. Строим своими руками [i_011.jpg]

ВНИМАНИЕ

При разметке территории под ограждение не забудьте отдельно отметить те места, где планируется установка ворот и калитки.

Размечая территорию под живую изгородь, следует учитывать место для будущего роста растений. Поэтому высаживать рассаду прямо вдоль границы будущей ограды не стоит, расстояние должно составлять 30–40 см до внешнего и внутреннего края ограждения (за исключением таких растений, как виноградная лоза, которая высаживается вплотную к опорной решетке), а расстояние между растениями выбирается в зависимости от их вида. Затем, по мере роста растений, ограда формируется с помощью секатора — ветви подрезаются и ограде придается нужная форма.

Если речь идет об ограждении из плетущихся растений типа виноградной лозы, то сначала изготавливается опорная рама — металлические или деревянные столбы с обрешеткой из дерева или проволоки, а растения высаживаются вплотную к опорной раме и по мере роста направляются на обрешетку (рис. 2.2).

Иллюстрация к книге — Забор, ограда, калитка на дачном участке. Строим своими руками [i_012.jpg]

Рис. 2.2. Опорная рама для изгороди из виноградной лозы

Установка столба из трубы

Применяется несколько способов установки опорных столбов из трубы в зависимости от типа грунта, тяжести ограды и даже силы ветра на участке.

Полное бетонирование используется в основном в том случае, если столбу придется выдерживать удары сильного ветра. Если в вашей местности случаются ураганные ветры, то полное бетонирование послужит надежной защитой ограды. В противном случае столб может покоситься от ветра, а в результате завалится вся ограда. Особенно актуально полное бетонирование в том случае, если участок располагается на открытой местности и для ветра нет препятствий в виде соседних домов или деревьев.

Глубина ямы под столб в этом случае может составлять около 90 см, но для надежности лучше опускаться ниже глубины промерзания грунта — это убережет ограду не только от урагана, но и от выдавливания столба из-за морозного пучения грунта. Диаметр ямы составляет около 20 см. В подготовленную яму засыпается щебень (фракция 5–20 мм), при этом высота щебеночной подушки должна составлять 10 см, затем опускается столб и все заливается бетонным раствором (рис. 2.3).

Иллюстрация к книге — Забор, ограда, калитка на дачном участке. Строим своими руками [i_013.jpg]

Рис. 2.3. Установка столба с полным бетонированием:

1 — столб; 2 — уровень грунта; 3 — бетон; 4 — подушка из щебня


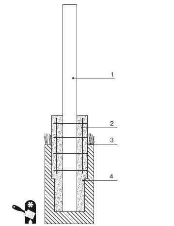
Для надежной фиксации столбов применяется полное бетонирование с армированием. Подобный способ особенно актуален, если вы собираетесь возводить кирпичный столб с сердцевиной из трубы — бетонирование в сочетании с армированием исключит небольшие подвижки металлического столба и не позволит ему разрушить кирпичную кладку. В этом случае применяется арматура диаметром 8–10 мм, для крепления используется вязальная проволока. Скрепленная арматура устанавливается вокруг опущенного в яму столба, а затем осуществляется бетонирование (рис. 2.4).

Иллюстрация к книге — Забор, ограда, калитка на дачном участке. Строим своими руками [i_014.jpg]

Рис. 2.4. Установка столба способом полного бетонирования с армированием: 1 — столб; 2 — арматура, скрепленная вязальной проволокой; 3 — уровень грунта; 4 — бетон


Возможно и частичное бетонирование подземной части столба. В этом случае после опускания его в яму примерно на половину глубины засыпается грунт, который тщательно трамбуется. Оставшаяся часть заливается бетоном (рис. 2.5).

Иллюстрация к книге — Забор, ограда, калитка на дачном участке. Строим своими руками [i_015.jpg]

Рис. 2.5. Установка столба с частичным бетонированием подземной части: 1 — столб; 2 — уровень грунта; 3 — бетон; 4 — утрамбованный грунт


При установке столбов на сыпучих или рыхлых грунтах допускается производить бутование щебнем. Для этого опущенный в яму столб необходимо просто засыпать щебнем (фракцией 5–20 мм), после чего тщательно его утрамбовать (рис. 2.6).

Иллюстрация к книге — Забор, ограда, калитка на дачном участке. Строим своими руками [i_016.jpg]

Рис. 2.6. Установка столба с бутованием щебнем:

1 — столб; 2 — уровень грунта; 3 — щебень

Реклама
Вход
Поиск по сайту
Ищем:
Календарь