Книга "Линия Сталина" в бою, страница 28 – Валентин Рунов, Михаил Виниченко

Авторы: А Б В Г Д Е Ж З И Й К Л М Н О П Р С Т У Ф Х Ч Ш Ы Э Ю Я
Книги: А Б В Г Д Е Ж З И Й К Л М Н О П Р С Т У Ф Х Ц Ч Ш Щ Ы Э Ю Я
Бесплатная онлайн библиотека LoveRead.ec

Онлайн книга «"Линия Сталина" в бою»

📃 Cтраница 28

В 23.50 21 июня 1941 года по приказу начальника штаба округа в штаб армии были вызваны командующий, начальник штаба и некоторые начальники служб штаба 4-й армии. Никаких распоряжений штабом округа, кроме «всем быть на месте», отдано не было.

В 3 часа 30 минут было передано распоряжение командующего войсками округа о приведении войск в полную боевую готовность. Указывалось, что необходимо «бесшумно» вывести из Брестской крепости 42-ю стрелковую дивизию и привести в боевую готовность 14-й механизированный корпус. Авиацию разрешалось перебазировать на полевые аэродромы.

Нападение фашистских войск на войска Западного Особого военного округа было внезапным. В первый же момент нападения противника проводная связь со штабами 3-й, 4-й, 10-й армий была прервана, и восстановить ее до отхода на территорию Восточной Белоруссии не удалось. Управление войсками приходилось осуществлять офицерами связи на самолетах и автомашинах, но этих средств для оперативной связи было недостаточно.

Слабой была связь и в армиях, которая в основном была рассчитана на стационарные проводные линии гражданского назначения. В местах боевого развертывания многих соединений и частей проводной связи вообще не было. Радиостанций было очень мало, а имевшиеся были устаревших конструкций. Личный состав подразделений связи работать в радиорежиме был обучен слабо, командиры и штабы плохо владели документами скрытного управления войсками. Поэтому нередко команды передавались открытым текстом.

С началом войны командование Западного фронта пыталось разобраться с обстановкой, но в условиях потери связи с армиями сделать это было невозможно. В то же время Генеральный штаб постоянно требовал обстоятельных докладов. Выполняя эти требования, во второй половине дня 22 июня 1941 года в Москву из Минска было направлено первое Боевое донесение. В этом донесении, в частности, указывалось:

«Первое. Противник крупными силами форсировал р. Неман… и развивает наступление в направлении Поречье. Противостоявший полк 56-й стрелковой дивизии почти полностью уничтожен. В районе Граево высажен десант противника. Левый фланг 3-й армии к 13 часам держится прочно.

Второе. Командиру 21-го стрелкового корпуса отдано приказание 17-ю и 37-ю стрелковые дивизии сосредоточить в районе Поречье, Озеры, Скидель, Острына с задачей совместно с танковой дивизией восстановить положение на восточном берегу р. Неман.

Третье. Ввиду потери связи с 10-й армией в Белосток вылетел заместитель командующего войсками И.В. Болдин с задачей установить положение на фронте 10-й армии и в зависимости от обстановки использовать 6-й механизированный корпус на гродненском и брестском направлениях.

Четвертое. По радиодонесению части 4-й армии отошли на меридиан Жабинка. Подробностей не доложено.

Пятое. 155-я стрелковая дивизия из района Нов. Барановичи к утру 25 июня сосредоточивается в районе Мочулино. 55-я стрелковая дивизия из района Слуцк перебрасывается автотранспортом в район Береза».

Судя по донесению, к тому времени штаб Западного фронта имел представление о происходящих событиях в войсках фронта и пытался управлять большей частью подчиненных войск. Однако постоянно происходили сбои, потеря управления, которые командование стремилось устранить, принимались меры к восстановлению управления.

В этот же первый день войны штаб Западного фронта направляет директиву командующему 4-й армией с требованием решительно уничтожать «прорывающиеся и прорвавшиеся банды противника, для чего в первую очередь использовать корпус С.И. Оборина (14-й механизированный корпус). В отношении действий руководствуйтесь красным пакетом».

Ниже говорилось: «Делегатов на самолетах присылать прямо в штаб округа или до ближайшей переговорной телеграфной и телефонной станции». Затем командующий фронтом признавался, что не имеет связи с командующим 10-й армией и требовал от командующего 4-й армией установить связь с этим объединением с помощью делегата с тем, чтобы получить информацию о положении войск 10-й армии.

Оперативная сводка № 1 штабом Западного фронта была составлена только к 22 часам 22 июня 1941 года. В ней сообщалось, что в течение дня 22 июня части фронта вели сдерживающие бои и, оказывая упорное сопротивление противнику, к 17 часам отошли на рубеж Кельбасин, Осовец, Ломжа, Бельск. Наиболее сильные удары противника были направлены на Гродно и Бельск. В результате этих боев, по докладу командующего 3-й армией, практически была разгромлена ее 56-я стрелковая дивизия. От 8-й, 13-й, 86-й и 113-й стрелковых дивизий 10-й армии сведений в течение дня не поступало. Данных о положении частей на левом фланге армии нет. В течение дня связь с армиями работала с большими перебоями. Оперативных сводок от армий фронта за первый день боя к 19 часам 30 минутам не поступало. Данных о потерях и трофеях нет.

3-я армия Западного Особого военного округа дислоцировалась на северном участке белостокского выступа. Перед ее войсками по Плану прикрытия государственной границы Западного особого военного округа стояла задача обеспечить оборону направления Августов, Гродно.

В состав армии входили 4-й стрелковый корпус (27-я, 56-я, 85-я стрелковые дивизии), 11-й механизированный корпус (29-я, 33-я танковые, 204-я моторизованная дивизии), части корпусного подчинения и Гродненский укрепленный район. Командующим армией был генерал-лейтенант В.И. Кузнецов, начальником штаба – комбриг А.К. Кондратьев, членом Военного совета – армейский комиссар 2-го ранга Н.И. Бирюков. 4-м стрелковым корпусом командовал генерал-майор Е.А. Егоров, (начальник штаба генерал-майор Мартьянов), 11-м механизированным корпусом – генерал-майор танковых войск Д.К. Мостовенко (начальник штаба полковник Мухин). В армии насчитывалось более 75 тысяч человек, 406 танков, 550 пушек и гаубиц, 287 минометов, 296 противотанковых орудий, 224 зенитных орудия. Штаб армии находился в г. Гродно.

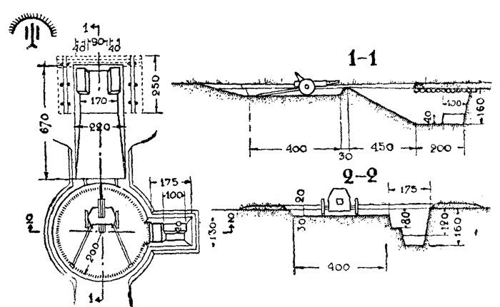
Иллюстрация к книге — "Линия Сталина" в бою [i_049.jpg]

Окоп для 45-мм пушки с укрытием для орудия впереди


К началу агрессии из войск 3-й армии на границе находилась только одна 27-я стрелковая дивизия, а две другие стрелковые дивизии (27-я и 85-я) располагались в Гродно. Там же дислоцировалась и 29-я танковая дивизия 11-го механизированного корпуса.

Наступление противника в полосе 3-й армии началось в 3 часа 30 минут 22 июня 1941 года с попытки 800-го полка «Бранденбург» прорваться в направлении на Августов. Точнее это была разведка боем. Совместными усилиями пограничников и подоспевших подразделений 27-й стрелковой дивизии эта попытка была сорвана. После этого в наступление на советскую территорию перешли части 9-й полевой армии, нанося главный удар во фланг 27-й стрелковой дивизии с севера.

Навстречу противнику были направлены части 56-й стрелковой дивизии, которые около 8 часов вступили в боевое соприкосновение с противником на рубеже населенного пункта Сопоцкин отдельными подразделениями. Но долго продержаться на этом рубеже советские войска не могли. В 9 часов части 56-й стрелковой дивизии разрозненными группами под давлением противника начали отходить в направлении на Гродно.

Вход
Поиск по сайту
Ищем:
Календарь