Книга Психология любви, страница 113 – Евгений Ильин

Авторы: А Б В Г Д Е Ж З И Й К Л М Н О П Р С Т У Ф Х Ч Ш Ы Э Ю Я
Книги: А Б В Г Д Е Ж З И Й К Л М Н О П Р С Т У Ф Х Ц Ч Ш Щ Ы Э Ю Я
Бесплатная онлайн библиотека LoveRead.ec

Онлайн книга «Психология любви»

📃 Cтраница 113

Второй пик (около 20 % от общего числа разводов) приходится на возраст 35–39 лет, и его причинами являются интимные связи с другими женщинами, особенно во время долгих отлучек в семье в связи с поездками на учебу при повышении профессиональной квалификации (аспирантура, краткосрочные курсы и т. п.).

По американской статистике, за исключением возраста 15–19 лет, чаще разводятся мужчины, чем женщины (рис. 15.1).

Иллюстрация к книге — Психология любви [i_009.jpg]

Рис. 15.1. Показатели количества разводов для мужчин и женщин в зависимости от возраста (поданным National Center for Health Statistic, Monthly Vital Statistics Report, March 22, 1995)


Наибольшей прочностью отличаются браки, заключенные женщинами в возрасте 20–24 лет, наименее — если невесте 15–19 лет и 30–34 года.

Женщины раньше и сильнее начинают испытывать неудовлетворенность браком; и именно они часто являются инициаторами разводов (Kelly, 1982). В России реже разводятся женщины с высшим образованием, чаще — с неполным средним и средним образованием.

Количество разводов зависит от возраста супругов: максимум — между 20 и 30 годами, минимум — в возрастах старше 50 лет.

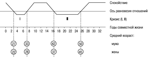
Однако, по мнению С. Кратохвилла (1991), важен не возраст мужчины и женщины, а стаж их совместной жизни. По его данным, первый кризис наступает на 3–7-м году совместной жизни (для мужчин это возраст 27–33 года, а для женщин — 22–28 лет), второй — через 17–25 лет совместной жизни (для мужчин — в возрасте 42–50 лет, для женщин — в 37–45 лет) (рис. 15.2).


Иллюстрация к книге — Психология любви [i_010.jpg]

Рис. 15.2. Развитие кризисов в семейных отношениях


Правда, здесь данные несколько расходятся. Одни исследователи считают, что максимум разводов приходится на первые 5–10 лет супружеской жизни, а минимум, приближающийся к нулю, — при длительности брака 30 и более лет. В последнем случае ускорителем принятия решения о расторжении брака может быть уход детей из семьи: супруги понимают, что больше нет необходимости оставаться вместе ради детей. Другие исследователи приводят статистику, полученную на основании исследования, проведенного в 62 странах: пик разводов падает на четвертый год супружества и объясняется тем, что через 3–4 года люди уже не могут выделять амфетамины, влияющие на чувство влюбленности, в достаточном количестве, так как вырабатывается приспособляемость организма к ним и их требуется все больше и больше.

Пары, сумевшие пережить этот период, должны быть благодарны другим химическим веществам — эндорфинам, оказывающим, подобно морфию, успокаивающее действие. Супруги в этот период, называемый привязанностью, испытывают наслаждение от очень простых чувств. Это долгожданный штиль после бури страстей.

К. Янг в США и Д. Шервуд в Англии установили, что самые прочные первые браки наблюдаются у мужчин, воспитывавшихся в полных и благополучных семьях и имеющих сестер, близких по возрасту — чуть моложе или чуть старше. У таких мужчин доля разводов составляет лишь 20 %.

Чаще всего ошибаются в выборе жены сыновья одиноких матерей (разведенных или вовсе незамужних), а таким является каждый третий мужчина. У них доля разводов в первых браках составляет около 60 %. При этом выбор их столь неудачен, что во второй брак они вступают в среднем через пять лет после того, как распался первый. Но, как говорится, на ошибках учатся, и вторые браки у них так же стабильны, как и у тех представителей сильного пола, кто вырос в полных семьях. Вообще повторные браки гораздо стабильнее: только четвертая их часть распадается.

Четыре ситуации, особенно способствующие разрыву

1. Осознание несправедливости в отношениях, что приводит к полному горечи сведению счетов, касающихся преимуществ или потерь для каждого из партнеров (Berscheid, Walster, 1978).

2. Разочарование, досада, когда совместная жизнь партнеров теряет силу чувств и становится рутинной (Francescato, 1992).

3. Неодинаковость интеллектуального и культурного уровня и вкусов (Hill et al., 1976).

4. Потребность у мужчины пользоваться властью; Брем (Brem, 1985) говорит об эффекте донжуанства, свойственном мужчинам, которые быстро перестают удовлетворяться имеющимися отношениями и стремятся все к новым «победам».

Мезоннев Ж., Лами Л. 2006. С. 204

15.2. Причины разводов

Л. А. Коростылева (2000) выделяет следующие причины разводов у женщин и мужчин:

Женщины: 1) отсутствие взаимопонимания; 2) пьянство супруга; 3) вмешательство родственников; 4) разница в возрасте; 5) неверность супруга; 6) отсутствие общих интересов; 7) нежелание иметь детей; 8) плохие жилищные условия; болезнь супруга.

Мужчины: 1) отсутствие взаимопонимания; 2) отсутствие общих интересов; 3) неверность супруги; 4) интимная дисгармония; 5) вмешательство родственников; 6) разница в возрасте.

Другие авторы отмечают также, что у женщин часто причиной развода являются их конфликты со свекровью, у мужчин — неумение жены вести хозяйство и конфликты с тещей.

Сложно сохранить брак, если один из супругов является невротиком. Ведь он предъявляет к любимому человеку требования, которые удовлетворить нельзя. Например, невротик считает, что его должны любить. А сам он может не любить. Психотерапевт М. Литвак описывает такой случай. Мужчина нашел себе другую женщину и ушел от жены: «Но, — говорит ей, — смотри, не изменяй мне. Вдруг у меня с той не получится, я к тебе вернусь». Падение уровня любви невротик воспринимает как ее отсутствие. Он считает, что если его любят, то нужно о нем постоянно заботиться. Невротик не столько любит, сколько хочет потребить. И объясняется в любви примерно так: «Ты мне нужна, я без тебя не могу обойтись».

Риск развода зависит от того, кто вступает в брак и с кем (Fergusson et al., 1984; Myers, 2000; Tzeng, 1992). Как правило, люди не разводятся, если они:

• вступили в брак после 20 лет;

• оба выросли в стабильных и полных семьях;

• были долго знакомы до свадьбы;

• имеют хорошее образование и их уровни образования примерно одинаковы;

• имеют хорошо оплачиваемую, стабильную работу;

• живут в небольшом городе или на ферме;

• не вступали до брака в сексуальные отношения и им не пришлось вступать в брак, потому что должен был родиться ребенок;

• одного возраста, одной веры и имеют одинаковое образование.


Само по себе ни одно из этих условий не является жизненно важным для стабильного брака. Но если не соблюдено ни одно из них, развод практически неизбежен. Если же соблюдены все, весьма вероятно, что супруги доживут вместе до самой смерти.

Вход
Поиск по сайту
Ищем:
Календарь