Книга Дождевые черви для повышения урожая, страница 11 – Виктор Горбунов

Авторы: А Б В Г Д Е Ж З И Й К Л М Н О П Р С Т У Ф Х Ч Ш Ы Э Ю Я
Книги: А Б В Г Д Е Ж З И Й К Л М Н О П Р С Т У Ф Х Ц Ч Ш Щ Ы Э Ю Я
Бесплатная онлайн библиотека LoveRead.ec

Онлайн книга «Дождевые черви для повышения урожая»

📃 Cтраница 11

В ходе исследований обнаружено, что значительная часть нервных клеток надглоточного ганглия также несет внутрисекреторную функцию.

Различают два типа таких нервносекреторных клеток: одни из них – с однородной протоплазмой, другие – с зернистой.

Первые, как полагают, служат регуляторами деятельности половых желез, причем вещество, вырабатываемое ими, по-видимому, тормозит деятельность половых желез: они начинают функционировать в те месяцы, когда заканчивается размножение червей, и исчезают в периоды размножения. Зернистые клетки имеют значение при заживлении ран и восстановлении утраченных частей тела (регенерации): во время этих процессов секреция в них особенно усиливается.

Деятельность пояска дождевых червей, которая заключается в выработке оболочек и питательного содержимого яйцевых коконов, также несомненно регулируется гормонами. Одно время считалось, что гормоны, возбуждающие деятельность железистых клеток пояска, вырабатываются мужскими половыми клетками, созревающими в семенных мешках. Однако это оказалось неверным. Но деятельность пояска несомненно регулируется какими-то гормонами: если пересадить кусок пояска от червя с неактивным пояском к червю, находящемуся в разгаре половой активности, то пересаженный кусок быстро приобретает свойства пояска последнего. Место выработки гормонов, регулирующих деятельность желез пояска, пока неизвестно.

Органы размножения

Дождевые черви размножаются только путем откладки яиц, заключенных в особые яйцевые коконы. Рассмотрим, как устроены у них органы, обеспечивающие образование яиц, их оплодотворение и откладку. Совокупность этих органов образует половой аппарат. Мужские и женские половые органы находятся у дождевых червей в одной и той же особи; таким образом, среди них нет мужских и женских особей, но все они – обоеполые существа, или, как их принято называть, гермафродиты.

Яйца образуются в яичниках, которые укреплены на перегородке между 12 и 13 сегментами с брюшной стороны. Яичники устроены очень просто. Они представляют собой комплексы развивающихся яиц; наиболее ранние стадии развития находятся в части, прилегающей к межсегментной перегородке, где яичник состоит из мелких клеток.

Наиболее крупные клетки находятся на свободном заднем конце яичника, обращенном в полость тела. Здесь яйцевые клетки достигают своих окончательных размеров (около 0,1 мм в поперечнике) и падают в полость тела. Яйца дождевых червей сферические или слегка вытянутые. Они почти прозрачные, так как в их протоплазме имеется лишь очень небольшое количество зерен питательного материала – желтка. Отсутствие достаточного количества питательного материала для развивающегося зародыша внутри яйца вызывает необходимость снабжения его питанием извне при помощи белка яйцевого кокона.

Иллюстрация к книге — Дождевые черви для повышения урожая [Autogen_eBook_id10.jpg]

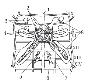
Схема строения половой системы дождевого червя: 1 – нервная система; 2 – семенники; 3 – семеприемники; 4 – передняя и задняя семенные воронки; 5 – яичник; 6 – яйцевая воронка и яйцевод; 7 – семепровод, 8 – семенные мешки; IX–XIV – 9–14 сегменты

Яйца заканчивают созревание в так называемых яйцевых мешках. Это – слепые мешковидные выступы межсегментных перегородок, в которые попадают яйца, оторвавшиеся от задней части яичника.

Яйца выводятся наружу через короткие яйцеводы, которые начинаются яйцевыми воронками в 13 сегменте, затем прободают перегородку между 13 и 14 сегментами и открываются на брюшной стороне 14 сегмента. Яйцевые воронки снабжены ресничками, с помощью которых яйца улавливаются из яйцевых мешков и в нужный момент (во время образования яйцевого кокона) выводятся по яйцеводу наружу.

Мужские половые железы – семенники – также очень малы. В числе двух пар они помещаются на перегородках между 9 и 10 сегментами и между 10 и 11. Мужские половые клетки – сперматозоиды – только начинают развитие в этих крошечных маленьких тельцах. Комплексы будущих сперматозоидов в виде микроскопических комочков округлых клеток падают в полость тела и оттуда попадают в семенные мешки, представляющие собой объемистые разрастания межсегментных перегородок. Количество, форма, расположение и относительные размеры семенных мешков варьируют и служат важным признаком при определении червей.

У некоторых видов дождевых червей (в родах Octolasium и Lumbricus) брюшная часть полости тела возле семенников отгорожена особой стенкой от основной полости сегмента; получаются так называемые семенниковые капсулы. Благодаря их наличию формирующиеся комочки сперматозоидов не могут распространяться по всей полости сегмента и им создается более прямой путь в семенные мешки.

Для выведения сперматозоидов наружу служат семенные воронки и семепроводы. Семенные воронки обычно крупные; они хорошо заметны при вскрытии червей. Семепроводы, в которые поступают сперматозоиды из семенных воронок, представляют собой очень тонкие цилиндрические трубки, направляющиеся по брюшной стенке тела кзади. Семепроводы от воронок 10 и 11 сегментов в 12 сегменте сливаются друг с другом, и общая трубка семепровода с каждой стороны тела тянется обычно до 15 сегмента, где переходит через толщу стенки тела и кончается мужским половым отверстием (порой), обычно имеющим вид вертикальной щели.

Мужские половые отверстия сидят на более или менее сильно развитых железистых подушках. Эти подушки, кроме железистых клеток, содержат большое количество сосудов, которые во время спаривания наполняются кровью.

Оригинальной особенностью полового аппарата малощетинковых кольчецов, к которым принадлежат дождевые черви, являются семеприемники – небольшие сферические полые мешочки, плотно прижатые к стенке полости тела. Протоки семеприемников проходят сквозь толщу стенки тела и открываются наружными порами, располагающимися в межсегментных бороздах. Стенки семеприемников содержат мускулатуру, действием которой семенная жидкость может всасываться в семеприемник и, наоборот, выбрызгиваться из него наружу. Эта мускулатура действует наподобие резинового колпачка пипетки.

Семеприемников бывает две или три пары; они могут быть расположены сбоку, на брюшной стороне, или могут быть (как в роде Eisenia) сдвинуты на спинную сторону, вплоть до средней линии.

Но нужно иметь в виду, что у некоторых видов дождевых червей семеприемник отсутствуют.

К органам, обеспечивающим размножение, следует отнести поясок дождевых червей. У червей, достигших половой зрелости, поясок всегда заметен, но его вид зависит от сезона и состояния упитанности. В периоды размножения поясок сильно набухает. Его функция – формирование яйцевых коконов.

Иллюстрация к книге — Дождевые черви для повышения урожая [Autogen_eBook_id11.jpg]
Кожный эпителий в области пояска: 1 – кутикула; 2 – слизистые клетки; 3 – кровеносные сосуды; 4 – крупнозернистые железы; 5 – мелкозернистые железы; 6 – соединительнотканная перегородка; 7 – ядра соединительнотканных клеток; 8 – кольцевая мускулатура Поясок представляет собой видоизменение наружного эпителия. В области пояска наружный эпителий очень сильно утолщен.

Вход
Поиск по сайту
Ищем:
Календарь